ZunDian MATS-001 Thermal Label Printer User Guide
Appearance


- Feed Button (Status Indicator)
- Paper Guide
- Cover Open Levers
- Power Receptacle
- USB Port
- Print Head Module
- Platen
- Movable Paper Sensor
Packing List
- Unpack the printer and keep the packing materials in case you need to ship the printer in the future.
- Any damages exist, please contact the local dealer.
- Printer

- Power Cord

- USB Cable

- User Guide

- CD

- USB Driver

Printer Connection
Power Connection
- Make sure the printer’s power switch is in the off position.
- Connect the power cord to printer.
- Connect the other end of power cord to the outlet.
- Connect the USB cable to the printer and PC.
Power Cord
USB Connection

Note:
- Use the original power adapter only, in case the damage caused by charging improperly.
- Please unplug the printer power cord if it is not in use for a long Time.
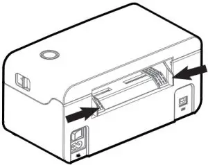
Fanfold Label Loading
Folding Paper Loading
- Turn the power on, adjust the paper guide to fit the width of paper.

- Insert the paper into the entry slot.

- The paper will be sucked into the paper guide automatically

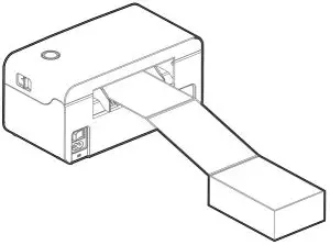
- Roll Type Label Loading

NOTE:
- When the printer is power on, the paper will be sucked into the paper guide automatically.
- The roll type label holder needs to be aligned with the hooks at the bottom of the printer.
Feed Button
- Turn on
In the shutdown state, turn on the power switch behind the printer, then the indicator will be light on. - Turn of
When the power switch is turned off, the printer shuts down and the indicator light is off. In the power-on state, turn off the power switch behind the printer, then the indicator will be light off. - Feed Button
- Press the feed button, the printer sends the paper out to the specified position depending on the type of paper used.
When using continuous paper, long press the feed button to send a fixed length of paper. If using label paper, press the feed button once that will send out a whole label. - When the printer is printing, press the feed button to pause the current printing and the light is green. Press the button again to print the unfinished print task.
- Press the feed button, the printer sends the paper out to the specified position depending on the type of paper used.
Windows Driver Instruction
Driver Preparation for windows
Download Windows Driver application program in USB driver.
http://www.zundian.site/download
Driver Installation for Windows 
Warning:
Recommend to close security software before installation in case of preventing installation.
- Select one interface to connect your printer to computer.

- Turn on the printer and check if it is connected successfully.

- Double click Windows Driver.
- Read and agree the license agreement and click “Next”, figure (1).
- Select the port name of printer driver and click “Next”, figure (2).
- Then click”Finish”, figure (3).
- After installation, view the icon in “Start” → “Devices and Printers”, figure (4)


Printing Preferences
- Click “Start” → “Devices and Printers”. Right click the icon and choose “Printing preferences”, figure (1).
- Click “Paper Name”, choose the paper type as needed, figure (2).


Click “Manager” to add a new stock, figure (3)(4).

Choose “Rotate” or “Effect”, it will be showed in the “Preview”,figure (5).
3. Click “Advanced” to set “Save Paper”, “Density”, “Speed”, “Test”, “Media Handling”, “Media Type”.
- Save Paper

- Density

- Speed

- Test

- Media Handling

- Media type

4. Click “Watermark” (Recommends BMP format).
5. Click “Halftone”.

Printer Properties
- Click “Start” → “Devices and Printers”. Right click the icon and choose “Printer properties”, figure (A).
- Click “General” → “Print Test Page”, and printer will print labels with current settings, figure (B).


- . Click “Ports”, then choose the port needed, figure (C).
- Click “Advanced” to set the available time for the printer, figure (D).


Driver Removing
Note: Please turn off the printer or unplug the USB cable before removing the driver.
- Double click Windows Driver, figure (E).
- Choose “Uninstall printer driver”, then click “Next”, figure (F).
- Choose the driver to be uninstalled, then click “Next”, figure (G).


- Click”Yes”, figure (H).


Mac Driver Instruction
Driver Preparation for macOS![]()
Download Mac Driver application program in USB driver.
http://www.zundian.site/download
Driver Installation for macOS![]()
Warning:
Under different operating system, the screen has slight difference.
Please operate it according to the tips.
Take MATS-001 (macOS 10.15) as example.
- Double click the Driver and click “Continue”, figure (a).
- Select a destination and click “Continue”, figure (b).


- Select “Installation Type” and click “Continue”-> “Install”, figure (c)(d).


- Type in the password of your computer, figure (e).
- The installation was successful, figure (f).


- Turn on the printer and connect it to your computer (for example: via USB cable)
- Click: Launchpad -> System Preferences -> Printers & Scanners, figure (g).

- Under “Printer & Scanner”, printer MATS-001 is available, figure (h).

TROUBLESHOOTING
LED Display 
Blue
- Alwayson
The printer is ready
Purple
- Alwayson
The print head is over heat
Red
- Alwayson
The cover is not closed - Flashslowly
Paper out - Flashrapidly
Label learning is abnormal
Orange
- Alwayson
The printer is not ready yet - Flashslowly
Paper jam, paper position is abnormal
Green
- Alwayson
Printing - Flashslowly
Printing pause - Flashrapidly
Receiving data
Paper Jam Handling
- Press the cover open levers and hold upwards, then open the cover.

- Reload a new paper.

- Take out the jammed paper, then clean up the print head and platen.

Note: turn off the printer power when taking the above steps.
Print Problem
Problem | Cause | Solution | ||||||
| 1. Common quality problem of print. | Error speed setting. | Set minimum printing speed by control panel, drivers and software to attain best printing quality. | ||||||
| Incorrect margins and paper size. | Make sure the label size is correct before printing. If the content exceeds the label size, the printer may “shrink” the size to a smaller size, causing the fade content. | |||||||
| Incorrect print density setting. | To obtain the best print quality, the print depth should be set to the minimum set value for your application. | |||||||
| The print head is dirty. | Use a cotton swab moistened with alcohol to clean it from the center to the sides of the print head. After cleaning the print head, do not use the printer immediately. Use it after the alcohol completely evaporate (after 1 to 2 minutes) and the print head is completely dry. | |||||||
| The creation quality of the source file is not satisfactory. | Print a sample label to test whether the printer is working well. | |||||||
| The print head is broken. | Change another print head. | |||||||
| 2. White spots appear on the label. | The print head is dirty. | Use a cotton swab moistened with alcohol to clean it from the center to the sides of the print head. After cleaning the print head, do not use the printer immediately. Use it after the alcohol completely evaporate (after 1 to 2 minutes) and the print head is completely dry. | ||||||
| 3. Blank label printed. | The label is upside down/on the wrong side. | Make sure to load the label correctly, and the printing side should face up. | ||||||
| The label is not a “direct thermal” label. | Make sure your label is “direct thermal” label. | |||||||
| Printer system error. | Restart the printer, continue to try to print. If printing is still unsuccessful, please contact customer service. | |||||||
| 4. Misalignment / skip label. | The printer is uncalibrated. | Calibrate the printer. Method 1: Tools— “Automatic label learning”. Method 2: Press and hold the feed button (top button) until the blue light goes out twice and then release. | ||||||
| The tag format is incorrect. | Check your label format and correct it as needed. | |||||||
| 5.Paper jam in the printer. | The paper is notplaced correctly in the printer. . | Open the printer coverand remove the jammed paper. Then clean the print head, paper suction port andplace the new paper. | ||||||
| 6. The paper is not sucked in by the printer. | The paper is not detected by paper sensor in the middle of the printer. | When placing paper from back entry slot, push it flat to the position of the paper sensor, and the paper sensor will trigger the automatic suction function when the paper is detected. | ||||||
| 7. The label or image is offset during printing. | The printer uses a discontinuous label, but it is configured to work in a continuous mode. | Set the printer as the correct medium type. | ||||||
| The paper does not conform to the specifications. | Use the paper that meets the specifications. | |||||||
| Printer uncalibrated.. | Calibrate the printer. | |||||||
| The platen is too dirty. | Clean print head and platen. | |||||||
| The calibration of the paper sensor is incorrect. | Calibrate the printer. | |||||||
| The loading of the media is incorrect. | Ensure that the media is properly loaded. | |||||||
| The media is incompatible. | Must use media that meets printer specifications. | |||||||
| 8. The bar code printed on the label can not be scanned. | The printing is too dark or too light, the barcode does not meet the specifications. There is not enough blank space around the barcode. | Adjust the concentration or print speed properly. | ||||||
| Leave at least 3.2 mm (1/8 inch) between the barcode on the label and other printed areas and the edge of the label. | ||||||||
| 9. Auto calibration failed. | The loading of the media is incorrect. | Ensure that the media is properly loaded. | ||||||
| The medium is not detected by the sensor. | Calibrate the printer. | |||||||
| The sensor is dirty or incorrectly positioned. | Make sure that the sensor is clean and correctly positioned. During the calibration process, the gap mark or black mark should be aligned with the paper sensor. | |||||||
| Incorrect media type setting. | Set the printer media type correctly. | |||||||
Communication Problem
| Problem | Cause | Solution |
| 1. The label format has been sent to the printer, but it has not been identified. 2. The DATA light did not flash. | The communication parameters are not correct. | Check printer driver or software communication settings |
| Check the handshake protocol setting for the printer and the settings used must be able to match the settings used by the computer host. If the driver is used, the driver communication settings related to the connection should be checked. | ||
| 3. The label format has been sent to the printer, but it has not been identified. 4. The DATA lights flash, but not print. | The prefix and the separated character set in the printer do not match the character set in the label format. | Check prefix and separate characters. |
| The incorrect data is being sent to the printer. | Check the communication settings on the computer to ensure that these settings match the settings on the printer’s printer. | |
| If the fault still exists, the label format should be checked. |
Q & A:(Frequently Asked Questions:)
- Questions: I have installed the driver, but I sill can’t find it in the driver list of my desktop software. What should I do?
Answer: The driver list of the software is fixed , usually you can choose “Zebra LP2844”, Then the printer can work normally. For example: - Stamps.com Desktop Software (this is different than going to stamps.com website to print label)
- FedEx Ship Manager Desktop Software (this is different than going to fedex.com website to print label)
- Endicia DAZzle Desktop Software
- QuickBooks Enterprise Desktop Software
You can just choose the “Zebra LP2844” in the printer list in case of you couldn’t find the “MATS-001” , and then can print out your labels correctly.
Questions: Why my printing quality is not so good, it seems that there are splotchy?
Answer: Click “Start” → “Devices and Printers”. Right click the printer icon and choose “Printing preferences”. Then click “Halftone”. If you want to get the best quality, make sure the “None” option is selected. For more adjustment tech niques, please read the manual.




























































