
Display Mount for Stud-less Walls
User Manual
SKU#: FPWHANGER
The actual product may vary from photos
For the latest information and specifications visit
www.startech.com/FPWHANGER
Manual Revision: 11/12/2020
Compliance Statements
Use of Trademarks, Registered Trademarks, and other Protected Names and Symbols
This manual may make reference to trademarks, registered trademarks, and other protected names and/or symbols of third-party companies not related in any way to StarTech.com. Where they occur these references are for illustrative purposes only and do not represent an endorsement of a product or service by StarTech.com, or an endorsement of the product(s) to which this manual applies by the third-party company in question. Regardless of any direct acknowledgment elsewhere in the body of this document, StarTech.com hereby acknowledges that all trademarks, registered trademarks, service marks, and other protected names and/or symbols contained in this manual and related documents are the property of their respective holders. PHILLIPS® is a registered trademark of Phillips Screw Company in the United States or other countries.
Safety Statements
Safety Measures
- Product installation and/or mounting should be completed by a certified professional as per the local safety and building code guidelines.
Warning Statements
- Make sure to assemble this product according to the instructions. Failure to do so might result in personal injury or property damage.
- Never use this product if parts are missing or damaged.
- The wall structure should be capable of supporting at least four times the weight of the mounted equipment.
- The mounting hardware included with this product may not be adequate for installation on curtain wall structures. Failure to comply with these warnings may result in personal injury or damage to the equipment.
- If you lack the necessary expertise to attach this product to the wall structure that you’re using, contact a construction professional to install the wall mount or to provide specific mounting instructions for your wall structure.
- Make sure that the weight of the TV doesn’t exceed the weight capacity of this product. If you exceed the weight capacity, you might experience personal injury or damage to the equipment. This product can support the following weight: Up to 110 lb. (50 kg).
Product Diagram
Front View

| Components | Function | |
| 1 | Wall Mount Assembly | • Mount for the Display Mounting Bracket • Evenly distributes the weight of the TV across the Mounting Surface |
| 2 | Spacers – Large or Small | • Use Spacers – Large for a 0° tilt • Use Spacers – Small for a -5° tilt • Prevents TV from coming into contact with the Mounting Surface |
Side View

| Components | Function | |
| 1 | Display Mounting Bracket | • Attaches to the TV • Hangs on the Wall Mount Assembly to mount the TV |
| 2 | Quick Release Cord | • Pull the bottom of the Quick Release Cord to release the Spring Locks that hold the Display Mounting Bracket onto the Wall Mount Assembly • Pull the bottom of the Quick Release Cord to reengage the Spring Locks • Approximate length – 740 mm |
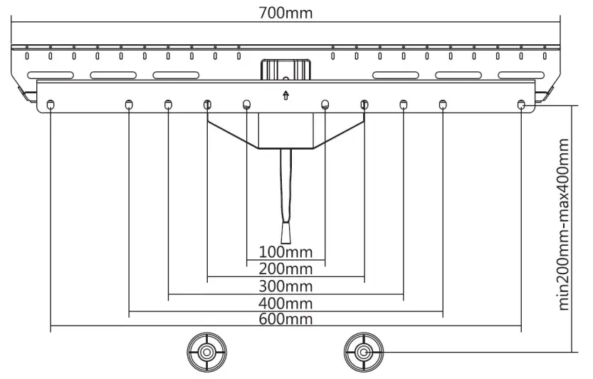
Product Dimensions
Front View

Side View

Product Information
Package Contents


Requirements
For the latest requirements, please visit www.startech.com/FPWHANGER
- #2 and #4 Phillips® Head Screwdrivers
- Hammer
- Spirit/Bubble Level
- Mounting Surface
- (Optional) Two People for the Installation
Technical Specifications


Installation
Fasten the Wall Mount Assembly to a Wall
Warnings! The Display Mount for Stud-less Walls is designed to be installed into drywall, wood stud, or solid concrete wall. The Mounting Hardware (Mounting
Screws and Concrete Anchors) included with this product may not be adequate for installation on curtain wall structures. Ensure the Drywall Surface has the structural
integrity to support the weight of the Mount and TV. If you lack the necessary expertise to attach this product contact a Construction Professional to install the Display Mount for Stud-less Walls. Failure to do so may result in personal injury and/or equipment damage.
The Display Mount for Stud-less Walls is intended for indoor use only and should not be used outdoors.
There are three ways to configure the installation for the Display Mount for Stud-less Walls. See Figures 1, 2, and 3 for more details.
Nails into Drywall

Mounting Screws with Concrete Anchors into Concrete Wall

Mounting Screws into Wood Studs

Display Mounting Bracket Installation
- Place your TV on a padded surface, screen side down, so that you can access the back of the TV.
- (Optional) Identify and remove the pre-installed VESA Hardware from the back of the TV.
Note: Not all TVs will have placeholder VESA Hardware.
Ensure you are only removing the four Screws for the VESA Mount. Do not remove any of the screws from your TV’s structural assembly. - (Optional) To shorten the depth of the VESA Mounting Holes to ensure a correct fit for the M-Type Screws, place the necessary number of Mounting Spacers – Short and/ or Long over the top two VESA Mounting Holes. Use the Spacer Combination Table to determine the number of Mounting Spacers for the application.

- Center the Display Mounting Bracket onto the back of the TV. Align the Holes in the Display Mounting Bracket over the top two VESA Mounting Holes in the back of the TV. The Direction Indicator on the Display Mounting Bracket should be pointing towards the top of the TV. (Figure 4)

- Place a Washer – Medium onto the Display Mounting
Bracket. Align the hole in the Washer – Medium with
the VESA Mounting Hole. Repeat for the second VESA
Mounting Hole. - Thread the appropriately sized M-Type Screws (ex. M5 x 14 mm Screws) through the Washers – Medium, Display Mounting Bracket, (Optional) Mounting Spacers, and into your TV. (Figure 5)

- Tighten the M-Type Screws with the Phillips Head Screwdriver.
Warning! Do not over-tighten the M-Type Screws. If you encounter any unexpected resistance as you are fastening these Screws, immediately stop and attempt to use a
different length of M-Type Screw.
Tilt Spacers Installation
- (Optional) Place the necessary number of Mounting Spacers – Short and/or Long over the bottom two VESA Mounting Holes in the back of the TV. Use the Spacer
Combination Table (Page 11) to determine the number of Spacers for the application. - Place a Tilt Spacer (Large for 0° of tilt and Small for -5° of tilt) over one of the VESA Mounting Holes. Align the hole in the Tilt Spacer with the VESA Mounting Hole. Repeat for the second VESA Mounting Hole.
- Place a Washer-Medium into the hole in each of the Tilt Spacers.
- Thread two appropriately sized M-Type Screws (ex. M5 x 14 mm Screws) through each of the Washers – Medium, Tilt Spacers, (Optional) Mounting Spacers, and into your TV. (Figure 6)

- Tighten the M-Type Screws with the Phillips Head
Screwdriver.
Warning! Do not over-tighten the M-Type Screws. If you
encounter any unexpected resistance as you are fastening
these Screws, immediately stop and attempt to use a
different length of M-Type Screw.
Hang the TV on the Wall Mount Assembly
- Pull the Quick Release Cord down to unlock the Spring Locks in the Wall Mount Assembly.
- With two people: lift and hang the TV onto the Wall Mount Assembly. Ensure the V-Shaped Lip on the Display Mounting Bracket fits into the V-Shaped Groove on the Wall Mount Assembly. (Figure 7)
- Pull the Quick Release Cord down to lock the Spring Locks in the Wall Mount Assembly.

Operation
Remove the TV from the Wall Mount Assembly
- Pull the Quick Release Cord down to unlock the Spring Locks in the Wall Mount Assembly.
- (Optional – Two People) Lift the TV off of the Wall Mount Assembly. (Figure 8)

Warranty Information
This product is backed by a five-year warranty.
For further information on product warranty terms and conditions, please refer to www.startech.com/warranty.
Limitation of Liability
In no event shall the liability of StarTech.com Ltd. and StarTech.com USA LLP (or their officers, directors, employees, or agents) for any damages (whether direct or indirect, special, punitive, incidental, consequential, or otherwise), loss of profits, loss of business, or any pecuniary loss, arising out of or related to the use of the product exceed the actual price paid for the product.
Some states do not allow the exclusion or limitation of incidental or consequential damages. If such laws apply, the limitations or exclusions contained in this statement may not apply to you.
Hard-to-find made easy. At StarTech.com, that isn’t a slogan. It’s a promise.
StarTech.com is your one-stop source for every connectivity part you need. From the latest technology to legacy products — and all the parts that bridge the old and new — we can help you find the parts that connect your solutions.
We make it easy to locate the parts, and we quickly deliver them wherever they need to go. Just talk to one of our tech advisors or visit our website. You’ll be connected to the products you need in no time.
Visit www.startech.com for complete information on all StarTech.com products and to access exclusive resources and time-saving tools.
StarTech.com is an ISO 9001 Registered manufacturer of connectivity and technology parts. StarTech.com was founded in 1985 and has operations in the United States, Canada, the United Kingdom, and Taiwan servicing a worldwide market.
Reviews
Share your experiences using StarTech.com products, including product applications and setup, what you love about the products, and areas for improvement.
| StarTech.com Ltd. | StarTech.com LLP | StarTech.com Ltd. |
| 45 Artisans Cres. London, Ontario N5V 5E9 Canada | 4490 South Hamilton Road Groveport, Ohio 43125 The U.S.A. | Unit B, Pinnacle 15 Gowerton Rd., Brackmills Northampton NN4 7BW United Kingdom |
| FR: fr.startech.com DE: de.startech.com | ES: es.startech.com NL: nl.startech.com | IT: it.startech.com JP: jp.startech.com |
To view manuals, videos, drivers, downloads, technical drawings, and more visit www.startech.com/support
References
Unsere Produkte dienen IT- und A/V-Profis zum Verbinden, Konvertieren, Erweitern, Splitten und Switchen | Deutschland
StarTech.com conçoit et fabrique une vaste sélection de pièces d’ordinateur, de câbles, de commutateur KVM, de racks... | France
Pezzi per computer, cavi, switch KVM, server rack e soluzioni per reti | Italia
当社は、接続、変換、拡張、分離、切換えを行うIT & A / Vプロフェッショナルのためのパーツを製造しています | 日本
StarTech.com ontwerpt en produceert een enorme selectie computeronderdelen, kabels, KVM-switches, serverracks en... | Nederland
StarTech.com | IT Pro's Trusted Source for Connectivity Accessories
StarTech.com | IT Pro's Trusted Source for Connectivity Accessories
No-Stud TV Wall Mount - 80 inch (110lb) - TV Mounts
StarTech.com Support
StarTech.com Warranty Policy






















