V I V O STAND-TEN02B Speaker Mounts and Stands

Product Information: Black Floating Speaker Floor Stand
The Black Floating Speaker Floor Stand is a high-quality product designed to hold speakers up to 11lbs (5kg) in weight. The package contains a shelf, base, base support bar, shelf support bar, outer cables, soft pads, binding barrels, M6x25mm screws, M5x30mm screws, a 5mm Allen wrench, and an M8 wrench. The product is not suitable for children under 3 years of age and requires adult supervision.
Product Usage Instructions
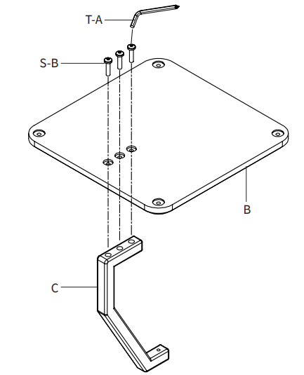
- Mount the Base Support Bar (C) to the Base (B) using M6x25mm Screws (S-B) and tighten using 5mm Allen Wrench (T-A).
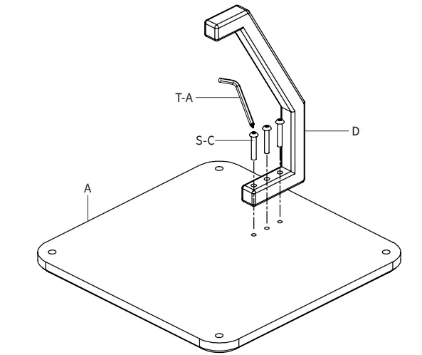
- Mount the Shelf Support Bar (D) to the Shelf (A) using M5x30mm Screws (S-C) and tighten using Phillips end of the 5mm Allen Wrench (T-A).
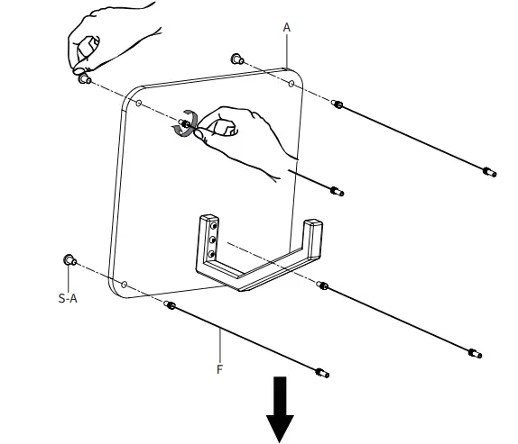
- Insert the Binding Barrels (S-A) into the top of Shelf (A) and attach the short threads of Outer Cables (F) to Binding Barrels (S-A). Attach the long threads of Outer Cables (F) to the top of Base (B).
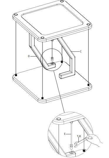
- Attach Inner Cable (E) into the bottom of Base Support Bar (C). Tighten Inner Cable (E) using M8 Wrench (T-B).
- Attach Inner Cable (E) into the top of Shelf Support Bar (D). Tighten Inner Cable (E) using M8 Wrench (T-B). If Cable does not easily reach, partially loosen from Base Support Bar (C) until Cable threads into Shelf Support Bar (D), then retighten.
- Apply Soft Pads (G) to the underside of Base (B).
If any parts are received damaged or defective, please contact the support team at [email protected] or call 309-278-5303. The support team is available Monday-Friday from 7:00am-7:00pm CST and can offer immediate assistance with rapid response times.
SKU: STAND-TEN02B
Scan the QR code with your mobile device or follow the link for helpful videos and specifications related to this product. Instruction Manual https://vivo-us.com/products/stand-ten02b
GET IN TOUCH | Monday-Friday from 7:00am-7:00pm CST
[email protected] www.vivo-us.com Chat live with an agent! 309-278-5303
WARNING!
If you do not understand these directions, or if you have any doubts about the safety of the installation, please call a qualified technician. Check carefully to make sure there are no missing or defective parts. Improper installation may cause damage or serious injury. Do not use this product for any purpose that is not explicitly specified in this manual. Do not exceed weight capacity. We cannot be liable for damage or injury caused by improper mounting, incorrect assembly or inappropriate use.
PACKAGE CONTENTS
WARNING: CHOKING HAZARD
SMALL PARTS – NOT FOR CHILDREN UNDER 3 YEARS.
ADULT SUPERVISION IS REQUIRED.
DO NOT EXCEED WEIGHT CAPACITY.
Failure to do so may result in serious injury.
ASSEMBLY STEPS
- STEP 1
Mount Base Support Bar (C) to Base (B) using M6x25mm Screws (S-B) and tighten using 5mm Allen Wrench (T-A).
- STEP 2
Mount Shelf Support Bar (D) to Shelf (A) using M5x30mm Screws (S-C) and tighten using Phillips end of the 5mm Allen Wrench (T-A).
- STEP 3
Insert the Binding Barrels (S-A) into the top of Shelf (A) and attach the short threads of Outer Cables (F) to Binding Barrels (S-A). Attach the long threads of Outer Cables (F) to the top of Base (B).

- STEP 4
Attach Inner Cable (E) into the bottom of Base Support Bar (C). Tighten Inner Cable (E) using M8 Wrench (T-B).
- STEP 5
Attach Inner Cable (E) into the top of Shelf Support Bar (D). Tighten Inner Cable (E) using M8 Wrench (T-B). If Cable does not easily reach, partially loosen from Base Support Bar (C) until Cable threads into Shelf Support Bar (D), then retighten.
- STEP 6
Apply Soft Pads (G) to the underside of Base (B).
Love your new VIVO setup and want to share?
Tag us in your photo! @vivo_us
Open Monday – Friday 7:00am – 7:00pm CST, our dedicated support team can offer immediate assistance with rapid response times. If any parts are received damaged or defective, please contact us. We are happy to replace parts to ensure you have a fully functioning product.
309-278-5303 AVG. RESOLUTION TIME (within office hrs): 5M 4S
www.vivo-us.com Chat live with an agent!
AVG. RESOLUTION TIME (within office hrs): < 15 M
[email protected]
AVG. RESPONSE TIME (within office hrs): 1HR 8M
- 23% within < 15m
- 38% within < 30m
- 61% within < 1hr
- 83% within < 2hr
- 92% within < 3hr
FOR MORE VIVO PRODUCTS, CHECK OUT OUR WEBSITE AT: www.vivo-us.com























