WALI Speaker Mounts

UNPACKING INSTRUCTIONS
- Carefully open the carton , remove contents and lay out on cardboard or other protective surface to avoid damage .
- Check package contents against the Supplied Parts List in the next page to assure that all components were received undamaged. Do not use damaged or defective parts .
- Carefully read all instructions before attempting installation .
IMPORTANT SAFETY INFORMATION
Install and operate this device with care. Please read this instruction before
beginning the installation, and carefully follow all instructions contained herein. Use proper safety equipment during installation. Please call a qualified installation contractor for help if you :
- If you don’t understand these directions or have any doubts about the safety of the installation .
- If you are uncertain about the nature off your wall, consult a qualified installation contractor.
Do not use this product for any purpose or in any configuration not explicitly specified in this instruction . We hereby disclaims any and all liability for injury or damage arising from incorrect assembly, incorrect mounting , or incorrect use of this product.
Supplied Parts List
![]() (2) Wall Bracket-a | ![]() (2) Wall Bracket Cover-b | ![]() (2) Tilting End Ca p-c | ![]() (2) Speaker Platform-d |
|
|
|
|
|
|
{8) M6x45mm Lag Bolt-j |
|
|
| |||
| CAUTION! |
| This Speaker mount must be securely attached to the vertical wall. If the mount is not properly installed it may fall, resulting in possible injury and/or damage. |
| Tools Required |
|
|
Note: The mounting components and hardware supplied in this package are not designed for installations to walls with steel studs or to cinder block walls. If the hardware you need for your installation is not included, please consult your local hardware store for proper mounting hardware for the application.
Before You Start
Optional Speaker Wire Management
Option A: Wires were concealed inside the wall
Option B: Wires were exposed outside the wall
Step 1 Mounting the Wall Bracket to the Wall
Brick Mount


Wood Mount


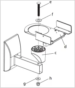
Step 2: Attaching the Wall Bracket Cover and the Speaker Platform to Wall Bracket


Step 3: Placing Speaker on the Platform, Adjust Clamps to Hold Speaker in Place


Step 4: OPTIONAL: Secure Speaker Using M4x12 Wood Screws


Step 5: Adjust the Tilting Angle and swing the Speaker






(2) Plastic Was her-f
{2) M8 Washer-g
(10) M4x12mm Wood Screw-i

{8) M8x40mm Concrete Anchor-I
(1) Wrench-m
WARNING

















