V I V O STAND-TEN01B Black Floating Speaker Stand Instruction Manual
WARNING!
If you do not understand these directions, or if you have any doubts about the safety of the installation, please call a qualified technician. Check carefully to make sure there are no missing or defective parts. Improper installation may cause damage or serious injury. Do not use this product for any purpose that is not explicitly specified in this manual. Do not exceed weight capacity. We cannot be liable for damage or injury caused by improper mounting, incorrect assembly or inappropriate use.
PACKAGE CONTENTS

WARNING: CHOKING HAZARD
SMALL PARTS – NOT FOR CHILDREN UNDER 3 YEARS. ADULT SUPERVISION IS REQUIRED.
DO NOT EXCEED WEIGHT CAPACITY.
Failure to do so may result in serious injury
TOOLS NEEDED
ASSEMBLY STEPS
STEP 1
Mount Base Support Bar (K) to Base (J) using M6x25 Screws (D) and tighten using 5mm Allen Wrench (F).
Please Note: The screw heads should be on the same side as the threaded inserts shown.
STEP 2
Mount Shelf Support Bar (L) to Shelf (I) using M5x30 Screws (E) and tighten using Phillips end of the 5mm Allen Wrench (F).
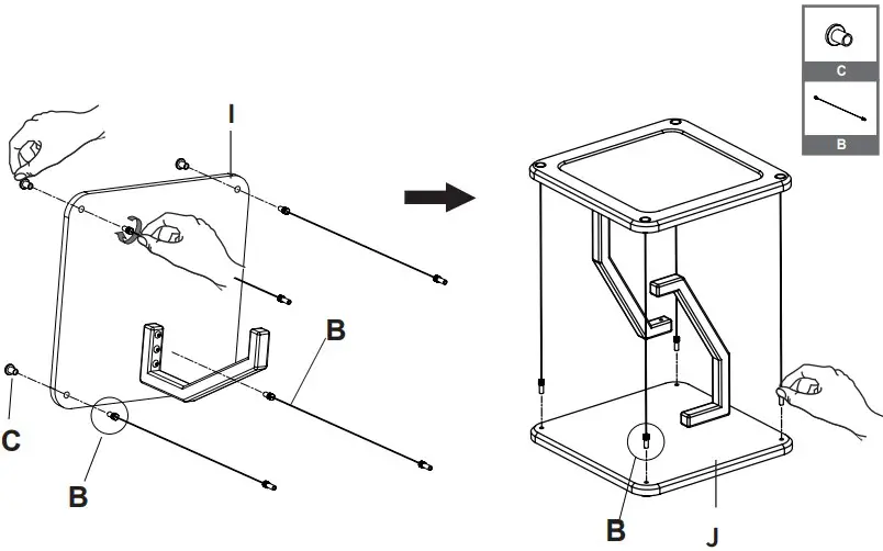
STEP 3
Insert the Binding Barrels (C) into the top of Shelf (I) and attach the short threads of Outer Cables (B) to Binding Barrels (C). Attach the long threads of Outer Cables (B) to the top of Base (J).
STEP 4
Attach Inner Cable (A) into the bottom of Base Support Bar (K). Tighten Inner Cable (A) using Wrench (G).
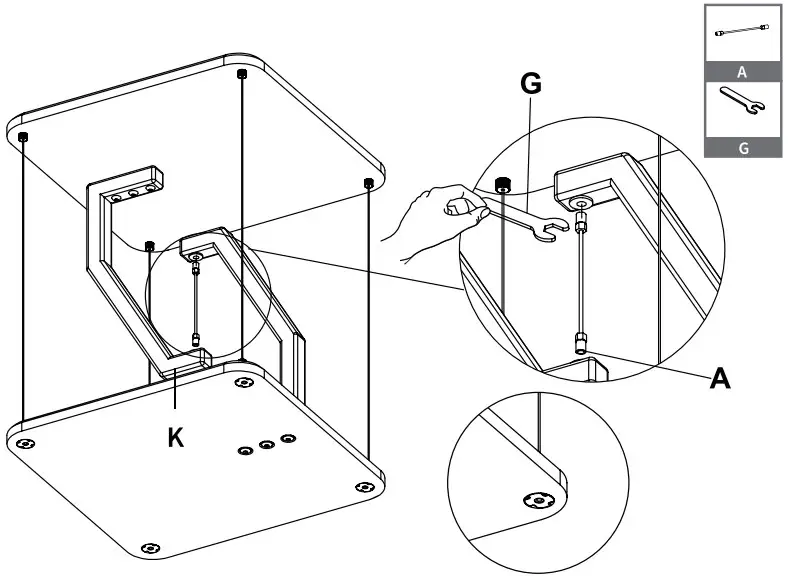
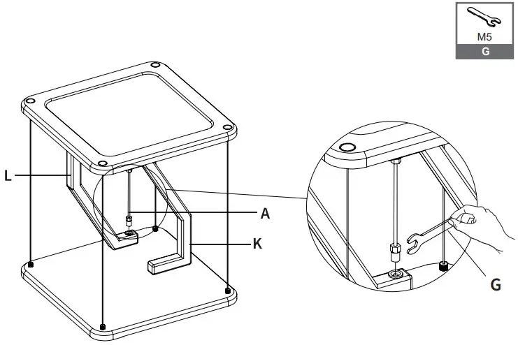
STEP 5
Attach Inner Cable (A) into the top of Shelf Support Bar (L). Tighten Inner Cable (A) using Wrench (G). If Cable does not easily reach, partially loosen from Base Support Bar (K) until Cable threads into Shelf Support Bar (L), then retighten.
STEP 6
Apply Soft Pads (H) to the underside of Base (J)
Love your new VIVO setup and want to share?
Tag us in your photo! @vivo_us
Open Monday – Friday 7:00am – 7:00pm CST,
our dedicated support team can offer immediate assistance with rapid response times. If any parts are received damaged or defective, please contact us. We are happy to replace parts to ensure you have a fully functioning product.
Scan the QR code with your mobile device or follow the link for helpful videos and specifications related to this product. Instruction Manual
https://vivo-us.com/products/stand-ten01b
309-278-5303
AVG. RESOLUTION TIME (within office hrs): 5M 4S
www.vivo-us.com Chat live with an agent!
AVG. RESOLUTION TIME (within office hrs): < 15 M
[email protected]
AVG. RESPONSE TIME (within office hrs): 1HR 8M
– 23% within < 15m
– 38% within < 30m
– 61% within < 1hr
– 83% within < 2hr
– 92% within < 3h
















