ASSEMBLY INSTRUCTIONS
LIGHT ASSEMBLY DIAGRAM
26.1 Watts
Thank you for purchasing your Christmas tree. The instructions below will help you quickly and easily set up your new tree.
1. Find a level surface near an electrical outlet and assemble the tree stand as shown in Fig. A.
Fig. A – Tree Stand Assembly

1. Eye Bolt
- Pull apart the legs of the stand so that they are x-shaped.
- When inserting the bottom section of the tree into the assembled stand, thread the eyebolt into the stand and tighten until the pole is firmly secured.
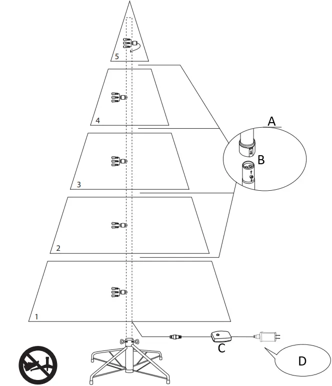
Fig. B – Tree and Lights Assembly
*Electrical Rating For The Tree (For Indoor Use Only)
Input: AC 120V, 60Hz, 0.45A
Output: DC 29V, 0.9A
Controller : 0.9A

A: Do Not Tamper Internal Parts
B: Align both arrows in a straight line before sliding down to insert
C: Control box
D: Adapter To Be Plugged Into Wall Outlet
2. Each tree section is numbered with a tag. Identify all sections before assembling.
3. Assemble the tree from the bottom to the top. Insert the pole of Section 1 into the assembled stand. Make sure the pole is firmly inserted and secured into the stand.
Note: Do not step on the tree legs during the setup. This may deform the tree stand and may result in an unbalanced tree.
4. Follow the direction of the arrow marked on the adapter to insert. Ensure that all poles are firmly secure. Continue this step until the entire tree is set up. Be sure that all wires are free of branch hinges.
5. Plug the adapter into the wall outlet (See Fig. B). Your tree should now be lit. If some bulbs do not light or flicker, search for any loose plugs and/or broken, loose or missing bulbs. Connect the plugs or replace the bad bulbs promptly in order to maintain the performance and life expectancy of your pre-lit tree.
6. Begin to shape the branches and tips in the bottom section inserted into the tree stand. Start with the tips closest to the middle of the tree; pull the individual tips alternately upward and outward working your way to the tip of the branches (See Fig. C). Work row by row to the upper part of the tree section leaving no tip untouched. Continue to shape each branch as described above as you set up each tree section.
Fig. C
Top view
Side view![]()
STORAGE INSTRUCTIONS
- Unplug cord from the wall outlet first and then remove all ornaments and decorations.
- Disassemble the tree from the top to the bottom. Start with the tree top and gently lift straight up to remove from section below and fold all branches toward the pole.
- Continue by gently lifting straight up each section(s) from the section below and fold all branches toward the pole until the bottom section is removed from the tree stand.
- Carefully place all tree sections into shipping box and tape it shut.
- When not in use, please store your tree in a cool, dry place away from sunlight. Exposing your tree to excessive heat or humidity may damage your tree.
HOW TO USE THE DUAL COLOR LIGHT CONTROLLER:
Press the selector button on the “Dual Color Light Controller” to select among: (1) CLEAR-MULTI: FADING (2) CLEAR: FADING (3) CLEAR-MULTI: ALTERNATING (4) CLEAR: STEADY (5) CLEAR-MULTI: SLOW FADING (6) MULTI: STEADY (7) MULTI: FADING (8) COMBINATION

- Selector Button
- Light Controller
TROUBLESHOOTING TIPS
For pre-lit trees, if the tree does not illuminate:
- Check to make sure that all plugs and adapter are properly connected as indicated in Fig. B.
(If the tree comes with a foot pedal, try stepping on the on/off button). - Turn the poles gently to make sure pole-to-pole connection is secured.
- Check for loose, broken or missing bulbs, and replace as needed.
Loose Branches
- Extra hinge pins are included for repairing the hinges of the branches. Place the branch into the slot of the bracket.
- Insert a new hinge pin through the hole and secure using the retainer washer. (See Fig. D)

Fig. D
SPARE PARTS
This tree includes spare hinge pins, washers and bulbs.
CAUTION
- To reduce the risk of fire and electric shock:
a) Use only the power supply that was provided with this product. Using a different adapter will damage the lights and may cause fire, or electrical shock hazards.
b) Do not install on trees having needles, leaves or branch coverings of metal or materials which look like metal.
c) Do not mount or support strings in a manner that can cut or damage wire insulation. - The controller and remote controller (if included) can only be used with this product.
MADE IN CHINA









