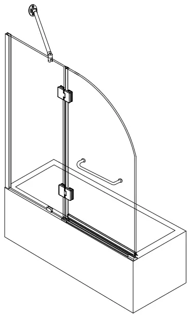
FELYL HAO2 Shower Door

DETAILED DIAGRAM

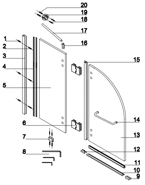
PART LIST
Check all parts according to the list before assembly . Feel free to contact with us if you need assistance.

Recommended Tools

Left Hand Assembly
- STEP 1
- Put wall-mounted stabilizer strip for fixed panel(3) on bathtub, the distance is 5mm to bathtub.
- Hold wall-mounted stabilizer strip for fixed panel(3) against the wall, level it vertical and mark the hole positions with pencil.
- Take off wall-mounted stabilizer strip(3) and drill holes on markings.
- Hammer the plug 6*28( 1) into hole.
- Secure wall-mounted stabilizer strip(3) with 4*30 screws(2).

- STEP2
- Lay glass damp(7) on the tile, place the fixed panel(5) base part into glass clamp(7), fit fixed panel(5) into wall-mounted stabilizer strip(3), level it vertical with level and mark the clamp(7) position with pencil.(Note:the distance is 460mm from wall to glass damp)
- Take off fixed panel(5), then place glass clamp(7) on the marking and mark the hole position with pencil.
- Take off clamp(7) and drill holes on the markings.
- Hammer the plug 6*28(1) into the hole.
- Secure the glass clamp(7) with 4*30 screw(2).
- Fill a small amount of silicone in inner wall-mounted stabilizer strip for fixed panel(3), then place the fixed panel(5) base part into glass clamp(7) and fit fixed panel(5) and the two one-sided plastic strips(4) into wall-mounted stabilizer strip(3)Then push the fixed panel into the wall-mounted stabilizer strip for fixed panel, and finally snap the one-sided plastic strip into the gap between the fixed panel and the all-mounted stabilizer strip t r fixed panel

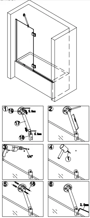
- STEP 3
- Loose the rail-side screw of top rail connected glass clamp(16) with Allen wrench, fit top rai1(17) into clamp(16)’s hole and secure with screw, and then assemble wall-mounted top rail connector(19) to the other end of the top rai1(21 ).
- Loose clamp(16)’s top screw and fit its slot into fixed panel(5), adjust the position of wall-mounted top rail connector(19), then mark hole position of the connector(19).
- Take off wall-mounted top rail connector(19) and drill holes on the markings.
- Hammer the plug 6*28(1) into the hole.
- Hold wall-mounted top rail connector(19) against the wall and secure it with screw 4*30(18).
- Secure the top screw of top rail connected glass clamp(16) with Allen wrench.

- STEP 4
- Assemble the left-side wall-mounted strip connector(9) and the right-side strip connector(12) to Aluminum strip(10).
- Fit the connector(12)’s slot into fixed panel(5)


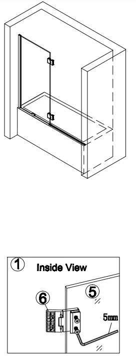
- STEP 5
- Assemble shower door hinges(6) on the movable shower door(13).

- Assemble shower door hinges(6) on the movable shower door(13).
- STEP 6
- Install removable shower door(13) to shower door hinges(6).

- Install removable shower door(13) to shower door hinges(6).
- STEP 7
- Assemble tubular single-sided towel bar(14) onto movable shower door(13).

- Assemble tubular single-sided towel bar(14) onto movable shower door(13).
- STEP 8
- Install Side seal strip(15) .Open the Movable shower door(13),then insert Side seal strip(15) to side of Movable shower door(13).
- Install Shower door bottom seal strip(11 ). Insert Shower door bottom seal strip( 11) to bottom of Movable shower door(13).

- STEP 8
- Apply qualified mildew resistant silicone along the sides of wall-mounted stabilizer strip for fixed panel(3), Aluminum strip(10) and fixed panel(5) base. Allow the silicone to dry for 24 hours before using the shower.

- Apply qualified mildew resistant silicone along the sides of wall-mounted stabilizer strip for fixed panel(3), Aluminum strip(10) and fixed panel(5) base. Allow the silicone to dry for 24 hours before using the shower.
Right Hand Assembly
- STEP 1
- Put wall-mounted stabilizer strip for fixed panel(3) on bathtub, the distance is 5mm to bathtub.
- Hold wall-mounted stabilizer strip for fixed panel(3) against the wall, level it vertical and mark the hole positions with pencil.
- Take off wall-mounted stabilizer strip(3) and drill holes on markings.
- Hammer the plug 6*28( 1) into hole.
- Secure wall-mounted stabilizer strip(3) with 4*30 screws(2).

- STEP2
- Lay glass damp(7) on the tile, place the fixed panel(5) base part into glass clamp(7), fit fixed panel(5) into wall-mounted stabilizer strip(3), level it vertical with level and mark the clamp(7) position with pencil.(Note:the distance is 460mm from wall to glass damp)
- Take off fixed panel(5), then place glass clamp(7) on the marking and mark the hole position with pencil.
- Take off clamp(7) and drill holes on the markings.
- Hammer the plug 6*28(1) into the hole.
- Secure the glass clamp(7) with 4*30 screw(2).
- Fill a small amount of silicone in inner wall-mounted stabilizer strip for fixed panel(3), then place the fixed panel(5) base part into glass clamp(7) and fit fixed panel(5) and the two one-sided plastic strips(4) into wall-mounted stabilizer strip(3)Then push the fixed panel into the wall-mounted stabilizer strip for fixed panel, and finally snap the one-sided plastic strip into the gap between the fixed panel and the all-mounted stabilizer strip t r fixed panel

- STEP 3
- Loose the rail-side screw of top rail connected glass clamp(16) with Allen wrench, fit top rai1(17) into clamp(16)’s hole and secure with screw, and then assemble wall-mounted top rail connector(19) to the other end of the top rai1(21 ).
- Loose clamp(16)’s top screw and fit its slot into fixed panel(5), adjust the position of wall-mounted top rail connector(19), then mark hole position of the connector(19).
- Take off wall-mounted top rail connector(19) and drill holes on the markings.
- Hammer the plug 6*28(1) into the hole.
- Hold wall-mounted top rail connector(19) against the wall and secure it with screw 4*30(18).
- Secure the top screw of top rail connected glass clamp(16) with Allen wrench.

- STEP 4
- Assemble the left-side wall-mounted strip connector(9) and the right-side strip connector(12) to Aluminum strip(10).
- Fit the connector(12)’s slot into fixed panel(5)

- STEP 5
- Assemble shower door hinges(6) on the movable shower door(13).

- Assemble shower door hinges(6) on the movable shower door(13).
- STEP 6
- Install removable shower door(13) to shower door hinges(6).

- Install removable shower door(13) to shower door hinges(6).
- STEP 7
- Assemble tubular single-sided towel bar(14) onto movable shower door(13).

- Assemble tubular single-sided towel bar(14) onto movable shower door(13).
- STEP 8
- Install Side seal strip(15) .Open the Movable shower door(13),then insert Side seal strip(15) to side of Movable shower door(13).
- Install Shower door bottom seal strip(11 ). Insert Shower door bottom seal strip( 11) to bottom of Movable shower door(13).

- STEP 8
- Apply qualified mildew resistant silicone along the sides of wall-mounted stabilizer strip for fixed panel(3), Aluminum strip(10) and fixed panel(5) base. Allow the silicone to dry for 24 hours before using the shower.

- Apply qualified mildew resistant silicone along the sides of wall-mounted stabilizer strip for fixed panel(3), Aluminum strip(10) and fixed panel(5) base. Allow the silicone to dry for 24 hours before using the shower.







































