ITEM: SD-AZ050-01**
ANZZ| GLASS SHOWER DOOR
INSTALLATION & OPERATION MANUAL
V14 10/30/2022
DON’T WAIT! REGISTER NOW!
Register your product within 90 days to ensure your product is recognized as an official purchase and is eligible for warranty coverage.
Mail in the completed registry card (Pg. 2) or register online at www.swcorp.com/register .
V1.4 – This version supersedes all previous versions as of 10/30/2022
PRODUCT REGISTRATION =
IMPORTANT: YOUR WARRANTY WILL NOT BE RECOGNIZED UNLESS THIS CARD IS FULLY COMPLETED AND RETURNED OR ONLINE REGISTRATION IS COMPLETED.
To ensure that your warranty is registered and confirmed please do one of the following:
- Register online at _www.swcorp.com/register. You will be asked to fill out the same information you would in the registration card. Registering online is fast, secure and ensures we receive your information.
- Complete, cut outand mail the registration card below. By returning this registration card we confirm the date of purchase for your new product. This confirmation will allow ustoprocess any warranty claims.
Mail the card to: 5701 NW 35 Avenue, Miami, FL 33142
CUTALONG 3 DOTTED LINE
Name ————————Adress————————————————-City————————State.—————————–Zip
Phone———————————Email—————————————Date of Purchase …………Order or Purchase #SKU or Model # ..Installer’s Name ………..PRONE ..
| have read the Owner’s Manual carefully and understand and agree that any installation, operation or maintenance of the product must be done strictly in accordance with instructions and guidelines contained in the owner’s manual and installation guide.
Signature ——————–Date————–
Need help? For technical support call 305-614-4070 or visit us at www.ANZZl.com
STOP!
READ BEFORE YOU PROCEED!
TO KEEP GLASS FROM BREAKING, MAKE SURE:
- This product is heavy and requires two people to install.
- Glass corner protectors remain on during installation.
- Glass protective seals are mounted to the door before opening/closing.
- Glass panels are aligned & level with wall/floor.
- Slider must be installed correctly for smooth sliding.
WARNING
PROTECTIVE EQUIPMENT MUST BE WORN WHEN HANDLING GLASS

INSTALLATION GUIDE
BEFORE YOU BEGIN
- Please check the product for damage and missing parts immediately upon delivery.
Damage reported later will not be covered by our warranty. Please handle the product with care. Avoid any impact to the sides and edges of the glass. - Consult your local building codes before installation.
- Toreduce therisk of breakage, keep corner protectors on the glass while installing.
- If this unitis beinginstalled in new construction, please install all required plumbing and drainage before installing the shower. Use a licensed plumber/contractor (if required by local code) for all plumbing installations.
- Before beginning installation, make sure all surfaces are level, solid and will support the total weight of the unit. Also, make sure the walls are at right angles. Irregular installation surface level, radius corners, or improper angle of side walls will result in serious problems for your installation. Please note that some adjustments and drilling might be necessary during the installation process.
- Please protect all primary surfaces of the product during installation. Never set your glass down directly onto a tile floor. Leave corner protectors in place until necessary to remove them. Always use wood or cardboard to protect the bottom edge and corners of the glass before and during installation.
WARNING
- This unit must be installed upon a finished threshold and against finished walls.
- Take care to avoid hidden pipes or electrical cables when drilling holes in walls.
- This productis heavy and requires two people to install it.
- When cutting or drilling metal components or handling glass, wear protective eye wear, gloves, and closed-toe shoes to reduce the risk of personal injury.
- Failure to follow instructions when installing this product may result in personal injury, property damage, or product failure and may void the warranty.
ATTENTION
- Threshold must be level for proper installation.
- This model requires a minimum 1″ (25.4mm) flat level threshold space for installation.
Tools Required

This product is heavy and requires two people to install
.
WARNING
To prevent damage to glass and potential injury, make sure to follow the instructions on page 1.
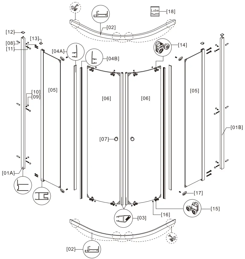
PARTS

WARNING
To prevent damage to glass and potential injury, make sure to follow the instructions on page 1.
ASSEMBLY

| Part | Description | Qty. |
| [01A] | Wall Post L | 1 |
| [01B] | Wall Post R | 1 |
| [02] | Horizontal Rails | 2 |
| [03] | Magnetic Seals | 2 |
| [04A] | Water Sealing Strips (Shorter) | 2 |
| [04B] | Water Sealing Strips (Longer) | 2 |
| [05] | Fixed Panels | 2 |
| [06] | Door Panels | 2 |
| [07] | Handle Sets | 2 |
| [08] | Anchors | 6 |
| [09] | Screw Caps | 12 |
| [10] | Screws ST3.5×8 | 10 |
| [11] | Screws ST4x35 | 14 |
| [12] | Wall Post Covers | 2 |
| [13] | Post Covers | 2 |
| [14] | Top Rollers | 4 |
| [15] | Bottom Rollers | 4 |
| [16] | Caps | 8 |
| [17] | Glass Clamps | 4 |
| [18] | Lube Oil | 1 |
SD-AZ050-01** 36*36*76″

ATTENTION
- To avoid personal injury or property damage, identify components and read all instructions before installing.
- This model requires a minimum 1″(25.4 mm) of flat level threshold space for installation.
WARNING
To prevent damage to glass and potential injury, make sure to follow the instructions on page 1.
INSTALLATION INSTRUCTIONS
Step 1
- Slide the Glass Clamps [17] into the groove of the Horizontal Rails [02] from two sides. Make sure the head of the Glass Clamps [17] slide into the groove first. (Fig 1.1 &Fig1.2)
- Carefully remove the Corner Protectors from the Fixed Panel [05]. Connect and secure the Horizontal Rails [02] and Fixed Panels [05] with eight Screws ST4X35 [11]. Make sure the flange of upper Horizontal Rails [02] pointed downwards, the flange of lower Horizontal Rails [02] pointed upwards. (Fig 1.3 & Fig 1.4)
- Slide the Glass Clamps [17] toward the Fixed Panels [05] until the clamps stop and secure the clamps with Screws ST3.5X8 [10]. (Fig 1.5)

WARNING
To prevent damage to glass and potential injury, make sure to follow the instructions on page 1.
Step 2
- Slide the Wall Post L [01A] & Wall Post R [01B] all the way over the frame on both sides. Make sure the flanges of the Wall Post L [01A] & Wall Post R [01B] face inside the shower. (Fig 2.1)

Step 3
- Move the finished frame to the designated position on the shower base or threshold and push it tight to the walls. If the walls are out-of-plumb, make adjustments by slightly pulling the Wall Post L [01A] & Wall Post R [01B] out of the frame. Use a level to adjust the frame into a plumb, vertical position on both walls. (Fig 3)
NOTE: The installed unit may not sit perfectly centered on the threshold, depending on the thickness of the finished wall treatment used. You may adjust the position outward slightly by extending the Wall Post L [01A] & Wall Post R [01B].

Step 4
- Hold this assembly in position and mark the drill holes on the wall through the holes on the flange of the Wall Post L [01A] & Wall Post R [01B]. (Fig 4.1)
- Carefully set the assembled unit aside; drill the holes using a 1/4” drill bit and insert the Anchors [08]. (Fig 4.2 & Fig 4.3)
- Apply silicone caulk along the Wall Post L [01A] & Wall Post R [01B] and around the holes on the wall. Also apply silicone under the bottom Horizontal Rail [02]. (Fig 4.4)
- Place the entire assembled unit back into the designated position on the threshold and secure it to the walls using the Screws ST4X35 [11]. (Fig 4.5)
- Cover the screw head by the Screw Caps [09]. (Fig 4.6)

WARNING
To prevent damage to glass and potential injury, make sure to follow the instructions on page 1.
Step 5
- Fasten the Top Rollers [14] and Bottom Rollers [15] to the Door Panels [06]. The Top Rollers [14] can adjust the door level with the adjustable bolt at the bottom of the Top Rollers [14]. The Bottom Rollers [15] have a press buttons to allow installation of the rollers into the bottom Horizontal Rail [02]. (Fig 5.1 & Fig 5.2, Fig 5.4 & Fig 5.5)
- Cover the screw head by the Caps [16]. (Fig 5.3, Fig 5.6)
Note:
a. The press button of the Bottom Rollers [15] should be pointing up.
b. DO NOT install the handles onto the Door Panels [06] until instructed to do so. DO NOT lift the glass using the handles. This could result in damage to the glass and/or serious personal injury.

WARNING
To prevent damage to glass and potential injury, make sure to follow the instructions on page 1.
Step 6
- Hang the Door Panels [06] into the groove of Horizontal Rail [02]. Use some Lube [18] to the rollers if necessary. (Fig 6.1)
- Push the Bottom Rollers [15] into the bottom Horizontal Rail [02] by pressing the button on the Bottom Rollers [15]. (Fig 6.2 & Fig 6.3)

WARNING
To prevent damage to glass and potential injury, make sure to follow the instructions on page 1.
Step 7
- Disassemble the Handle Sets [07]. Install handle and one gasket on the outer surface of Door Panel [06]. Connect the other handle and one gasket from the other side of Door Panel [06] through the hole of it. Hand tighten the handle to secure.(Fig 7.1)
IMPORTANT: Ensure handle gaskets are placed on each side of glass. - Carefully remove the Corner Protectors. Snap the Magnetic seals [03] to the side of Door Panel [06] close to the center. (Fig 7.2 & Fig 7.3)
- Press the Water Sealing Strips [04A] & [04B]onto the vertical edges of the Fixed Panels[05] and Door Panel [06]. (Fig 7.4 & Fig 7.5 & Fig 7.6)
Note: Ensure the flange of Water Sealing Strip (shorter) [04A] snap on the Fixed Panel [05] face inside. Ensure the flange of Water Sealing Strip (longer) [04B] snhap on the Door panel [06] face outside.

WARNING
To prevent damage to glass and potential injury, make sure to follow the instructions on page 1.
Step 8
- Make the final adjustment of Fixed Panel assembly. Make sure that the bottom rail is tight to the threshold before screwing the wall posts and Fixed Panel assembly together. Drill the holes through the first layer of the Wall Post [01A] & [01B] and into the posts of Fixed Panels [05] using an 1/8″ drill bit. (Fig 8.1)
- Secure the Fixed Panel assembly with Screws ST3.5×8 [10]. (Fig 8.2)
- Cover the screw heads with Screw Caps [09]. (Fig 8.3) Warning: Take extra care not to drill more than 3/16″(5mm) depth to avoid breaking the glass.

WARNING
To prevent damage to glass and potential injury, make sure to follow the instructions on page 1.
Step 9
- Close the door so that the Magnetic Seals [03] can attach from top to bottom. Adjust the position of Door Panels [06] by following the instruction of next step if there is gap between the Magnetic seals [03]. (Fig 9)
- Adjust the position of Top Rollers [14] by turning the screws under the roller assembly to eliminate the gap between the Magnetic seals [03] and have smoother operation. (Fig 9.1)

Step 10
- Install Wall Post Cover [12] & Post Cover [13] to the posts. (Fig 10.1 & Fig 10.2)
- Apply a good quality Silicone Sealant at the outer corner formed by the wall and the shower door. (Fig 10)

Care & Maintenance
BASES and BACK WALLS: Wipe them off after each use with a soft cloth. To clean the acrylic surface, use non-abrasive sprays or cream based cleaners. Avoid the use of aerosol spray cleaners. Never use abrasive cleansers, metal brushes, or scrapers, as they can
scratch or dull the surface. GLASS: Wipe off the glass after each use with a soft cloth or a squeegee to prevent soap buildup and water spots (hard water can etch the surface of the glass over time if left to dry). To avoid damaging the surface, never use abrasive cleaners or cleaning products that contain scouring agents. Likewise, never use bristle brushes or abrasive sponges that can scratch the surface.
HARDWARE: To ensure a long-lasting finish, wipe of f the metal parts after using with a soft cloth. Do not use abrasive cleaners or cleaning products containing ammonia, bleach, or acid. If accidentally used, rinse the surface as soon as possible to prevent damage to the finish (peeling or corrosion). After cleaning the polished finishes, rinse thoroughly and wipe dry with a soft cloth. Clean stainless steel surfaces at least once a week. When applying stainless steel cleaner or polish to stainless steel hardware, work with (not across) the grain. Never use an abrasive sponge or cloth, steel wool, or wire brush, which may permanently scratch the surfaces.
NOTE: Regularly inspect the glass and all hardware for misalignment, proper attachment, and damage. Contact ANZZI with any questions or concerns.






















