DAIKIN R32 Split Series RXJ20A5V1B Portable Air Conditioner
About the documentation
INFORMATION
- This document only describes installation instructions specific to the outdoor unit. For installation of the indoor unit (mounting the indoor unit, connecting the refrigerant piping to the indoor unit, connecting the electrical wiring to the indoor unit see the installation manual of the indoor unit.
- Make sure that the user has the printed documentation and ask him/her to keep it for future reference.
Documentation set
This document is part of a documentation set. The complete set consists of:
- General safety precautions:
- Safety instructions that you MUST read before installing
- Format: Paper (in the box of the outdoor unit)
- Outdoor unit installation manual:
- Installation instructions
- Format: Paper (in the box of the outdoor unit)
- Installer reference guide:
- Preparation of the installation, reference data,…
- format: Digital files on http://www.daikineurope.com/supportand-manuals/product-information/ Latest revisions of the supplied documentation may be available on the regional Daikin website or via your dealer. The original documentation is written in English. All other languages are translations. Technical engineering data
- A subset of the latest technical data is available on the regional Daikin website (publicly accessible).
- The full set of latest technical data is available on the Daikin Business Portal (authentication required).
Specific installer safety instructions
Always observe the following safety instructions and regulations. Unit installation (see “4 Unit installation” [4 5])
CAUTION
- Check if the installation location can support the unit’s weight. Poor installation is hazardous. It can also cause vibrations or unusual operating noise.
- Provide sufficient service space.
- Do NOT install the unit so that it is in contact with a ceiling or a wall, as this may cause vibrations.
Piping installation (see “5 Piping installation” [4 7])
CAUTION
- Piping and joints of a split system shall be made with permanent joints when inside an occupied space except joints directly connecting the piping to the indoor units
- No brazing or welding on site for units with R32 refrigerant charge during shipment.
- During installation of the refrigeration system, joining of parts with at least one part charged shall be performed taking into account the following requirements: inside occupied spaces non-permanent joints are NOT allowed for R32 refrigerant except for site made joints directly connecting the indoor unit to piping. Site made joints directly connecting piping to indoor units shall be of non-permanent type
Electrical installation (see “7 Electrical installation” [4 9])
- All wiring MUST be performed by an authorised electrician and MUST comply with the applicable legislation.
- Make electrical connections to the fixed wiring.
- All components procured on-site and all electrical construction MUST comply with the applicable legislation.
- If the power supply has a missing or wrong N-phase, equipment might break down.
- Establish proper earthing. Do NOT earth the unit to a utility pipe, surge absorber, or telephone earth. Incomplete earthing may cause electrical shock.
- Install the required fuses or circuit breakers.
- Secure the electrical wiring with cable ties so that the cables do NOT come in contact with sharp edges or piping, particularly on the high-pressure side.
- Do NOT use taped wires, stranded conductor wires, extension cords, or connections from a star system. They can cause overheating, electrical shock or fire.
- Do NOT install a phase advancing capacitor, because this unit is equipped with an inverter. A phase advancing capacitor will reduce performance and may cause accidents.
Finishing indoor unit installation (see “8 Finishing the outdoor unit installation” [4 11])
- Make sure that the system is earthed properly.
- Turn OFF the power supply before servicing.
- Install the switch box cover before turning ON the power supply.
Commissioning (see “10 Commissioning” [4 11])
- Do NOT perform the test operation while working on the indoor units.
- When performing the test operation, NOT ONLY the outdoor unit, but the connected indoor unit will operate as well.
- Working on an indoor unit while performing a test operation is dangerous.
Maintenance and service (see “11 Maintenance and service” [4 12])
- Before carrying out any maintenance or repair activity,
- ALWAYS switch off the circuit breaker on the supply panel, remove the fuses or open the protection devices of the unit.
- Do NOT touch live parts for 10 minutes after the power supply is turned off because of high voltage risk.
- Please note that some sections of the electric component box are hot.
- Make sure you do NOT touch a conductive section.
- Do NOT rinse the unit. This may cause electric shocks or fire.
About the compressor
- Use this compressor on a grounded system only.
- Turn the power off before servicing the compressor.
- Reattach the switch box cover and service lid after servicing
Troubleshooting (see “12 Troubleshooting” [4 12])
- When the unit is NOT operating, the LEDs on the PCB are turned OFF in order to save power.
- Even when the LEDs are OFF, the terminal block and the PCB may be powered.
About the box
To remove the accessories from the outdoor unit
- Lift the outdoor unit.
- Remove the accessories at the bottom of the package.
- General safety precautions
- Outdoor unit installation manual
- Fluorinated greenhouse gases label
- Multilingual fluorinated greenhouse gases label
- Drain plug (located on the bottom of the packing case)
- Energy label
Unit installation
Installation shall be done by an installer, the choice of materials and installation shall comply with the applicable legislation. In Europe, EN378 is the applicable standard.
Preparing the installation site
The appliance shall be stored so as to prevent mechanical damage and in a well-ventilated room without continuously operating ignition sources (e.g. open flames, an operating gas appliance, or an operating electric heater). The room size shall be as specified in the General safety precaution.
Installation site requirements of the outdoor unit
Do NOT install the unit in sound sensitive areas (e.g. near a bedroom), so that the operation noise will cause no trouble. Note: If the sound is measured under actual installation conditions, the measured value might be higher than the sound pressure level mentioned in “Sound spectrum” in the data book due to environmental noise and sound reflections. The outdoor unit is designed for outdoor installation only and for ambient temperatures specified in the table below (unless otherwise specified in the operation manual of the connected indoor unit
| Cooling | Heating |
| –10~50°C DB | –20~24°C DB |
Additional installation site requirements of the outdoor unit in cold climates
Protect the outdoor unit against direct snowfall and take care that the outdoor unit is NEVER snowed up.
- Snow cover or shed
- Pedestal
- Prevailing wind direction
- Air outlet
It is recommended to provide at least 150 mm of free space below the unit (300 mm for heavy snowfall areas). Additionally, make sure the unit is positioned at least 100 mm above the maximum expected level of snow. If necessary, construct a pedestal. See “4.2 Mounting the outdoor unit” 4[ 6] for more details In heavy snowfall areas it is very important to select an installation site where the snow will NOT affect the unit. If lateral snowfall is possible, make sure that the heat exchanger coil is NOT affected by the snow. If necessary, install a snow cover or shed and a pedestal
Mounting the outdoor unit
To provide the installation structure
Use a vibration-proof rubber (field supply) in cases where vibrations may be transmitted to the building. Prepare 4 sets of M8 or M10 anchor bolts, nuts and washers (field supply).

To install the outdoor unit
To provide drainage
- If the unit is installed in a cold climate, take adequate measures so that the evacuated condensate CANNOT freeze
- If the drain holes of the outdoor unit are blocked up by a mounting base or floor surface, place additional foot bases ≤30 mm under the outdoor unit’s feet.
Information
For information on the available options, contact your dealer.
- Use a drain plug for drainage.
- Use a Ø16 mm hose (field supply).

- Drain port
- Bottom frame
- Drain plug
- Hose (field supply)
Piping installation
Preparing refrigerant piping
Piping and joints of a split system shall be made with permanent joints when inside an occupied space except joints directly connecting the piping to the indoor units. The piping and other pressure-containing parts shall be suitable for the refrigerant. Use phosphoric acid deoxidized seamless copper for refrigerant
Refrigerant piping diameter
| Pipe outer diameter (mm) | |
| Liquid piping | Gas piping |
| Ø6.4 | Ø9.5 |
Refrigerant piping material
- Piping material: Phosphoric acid deoxidised seamless copper.
- Flare connections: Only use annealed material.
- Piping temper grade and thickness
Outer diameter (Ø) Temper grade Thickness (t)(a) 6.4 mm (1/4″) Annealed (O) ≥0.8 mm Ø t
9.5 mm (3/8″) Annealed (O)
Refrigerant piping insulation
- Use polyethylene foam as insulation material:
- with a heat transfer rate between 0.041 and 0.052 W/mK (0.035 and 0.045 kcal/mh°C)
- with a heat resistance of at least 120°C
- Insulation thickness
Pipe outer diameter (Øp) Insulation inner diameter (Øi) Insulation thickness (t) 6.4 mm (1/4″) 8~10 mm ≥10 mm 9.5 mm (3/8″) 10~14 mm ≥13 mm
If the temperature is higher than 30°C and the humidity is higher than RH 80%, the thickness of the insulation materials should be at least 20 mm to prevent condensation on the surface of the insulation.
Refrigerant piping length and height difference
| What? | Distance |
| Maximum allowable pipe length | 20 m |
| Minimum allowable pipe length | 1.5 m |
| Maximum allowable height difference | 15 m |
Connecting the refrigerant piping
- No brazing or welding on site for units with R32 refrigerant charge during shipment.
- During the installation of the refrigeration system, joining of parts with at least one part charged shall be performed taking into account the following requirements: inside occupied spaces, non-permanent joints are NOT allowed for R32 refrigerant except for site made joints directly connecting the indoor unit to piping. Site-made joints directly connecting piping to indoor units shall be of non-permanent type.
To connect the refrigerant piping to the outdoor unit
- Piping length. Keep field piping as short as possible.
- Piping protection. Protect the field piping against physical damage.
NOTICE
- Use the flare nut fixed to the unit.
- To prevent gas leakage, apply refrigeration oil ONLY to the inside of the flare. Use refrigeration oil for R32 (FW68DA).
- Do NOT reuse joints
Connect the liquid refrigerant connection from the indoor unit to the liquid stop valve of the outdoor unit.
- Liquid stop valve
- Gas stop valve
- Service port

Checking the refrigerant piping
- ALWAYS use a recommended bubble test solution from your wholesaler.
- NEVER use soap water:
- Soap water may cause cracking of components, such as flare nuts or stop valve caps.
- Soap water may contain salt, which absorbs moisture that will freeze when the piping gets cold.
- Soap water contains ammonia which may lead to corrosion of flared joints (between the brass flare nut and the copper flare).
- Charge the system with nitrogen gas up to a gauge pressure of at least 200 kPa (2 bar). It is recommended to pressurize to 3000 kPa (30 bar) in order to detect small leaks.
- Check for leaks by applying the bubble test solution to all connections.
- Discharge all nitrogen gas.
To perform vacuum drying
- Vacuum the system until the pressure on the manifold indicates −0.1 MPa (−1 bar).
- Leave as-is for 4-5 minutes and check the pressure:
If the pressure… Then… Does not change There is no moisture in the system. This procedure is finished. Increases There is moisture in the system. Go to the next step. - Vacuum the system for at least 2 hours to a manifold pressure of −0.1 MPa (−1 bar).
- After turning the pump OFF, check the pressure for at least 1 hour.
- If you do NOT reach the target vacuum or CAN NOT maintain the vacuum for 1 hour, do the following:
- Check for leaks again.
- Perform vacuum drying again.
Charging refrigerant
- This product contains fluorinated greenhouse gases. Do NOT vent gases into the atmosphere. Refrigerant type: R32 Global warming potential (GWP) value: 675
- The refrigerant inside the unit is mildly flammable, but normally does NOT leak. If the refrigerant leaks in the room and comes in contact with fire from a burner, a heater, or a cooker, this may result in fire, or the formation of a harmful gas.
- Turn OFF any combustible heating devices, ventilate the room, and contact the dealer where you purchased the unit.
- Do NOT use the unit until a service person confirms that the part from which the refrigerant leaked has been repaired.
To determine the additional refrigerant amount
| If the total liquid piping length is… | Then… |
| ≤10 m | Do NOT add additional refrigerant. |
| >10 m | R=(total length (m) of liquid piping–10 m)×0.020 R=Additional charge (kg) (rounded in units of 0.01 kg) |
To determine the complete recharge amount
INFORMATION
If a complete recharge is necessary, the total refrigerant charge is the factory refrigerant charge (see unit name plate) + the determined additional amount.
To charge additional refrigerant
- Only use R32 as refrigerant. Other substances may cause explosions and accidents.
- R32 contains fluorinated greenhouse gases. Its global warming potential (GWP) value is 675. Do NOT vent these gases into the atmosphere.
- When charging refrigerant, ALWAYS use protective gloves and safety glasses
Prerequisite: Before charging refrigerant, make sure the refrigerant piping is connected and checked (leak test and vacuum drying).
- Connect the refrigerant cylinder to the service port.
- Charge the additional refrigerant amount.
- Open the gas stop valve
To fix the fluorinated greenhouse gases label
Fill in the label as follows:
- If a multilingual fluorinated greenhouse gases label is delivered with the unit (see accessories), peel off the applicable language and stick it on top of a.
- Factory refrigerant charge: see unit name plate
- Additional refrigerant amount charged
- Total refrigerant charge
- Quantity of fluorinated greenhouse gases of the total refrigerant charge expressed as tonnes CO2 equivalent.
- GWP = Global warming potential
NOTICE
Applicable legislation on fluorinated greenhouse gases requires that the refrigerant charge of the unit is indicated both in weight and CO2 equivalent. Formula to calculate the quantity in CO2 equivalent tonnes: GWP value of the refrigerant × total refrigerant charge [in kg] / 1000 Use the GWP value mentioned on the refrigerant charge label.
Electrical installation
- All wiring MUST be performed by an authorised nelectrician and MUST comply with the applicable legislation.
- Make electrical connections to the fixed wiring.
- All components procured on-site and all electrical construction MUST comply with the applicable legislation
- ALWAYS use multicore cable for power supply cables.
- Use an all-pole disconnection type breaker with at least 3 mm between the contact point gaps that provide full disconnection under overvoltage category III
- If the supply cord is damaged, it MUST be replaced by the manufacturer, its service agent or similarly qualified persons in order to avoid a hazard.
- Do NOT connect the power supply to the indoor unit. This could result in electrical shock or fire.
- Do NOT use locally purchased electrical parts inside the product.
- Do NOT branch the power supply for the drain pump, etc. from the terminal block. This could result in electrical shock or fire.
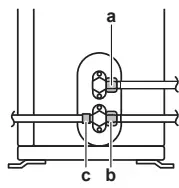
- a Multimeter (DC voltage range)
- b S80 – reversing solenoid valve lead wire
- c S70 – fan motor lead wire
- d LED
- e S90 – thermistor lead wire
- f S20 – electronic expansion valve lead wire
- g S40 – thermal overload relay lead wire
- h DB1 – diode bridge

Specifications of standard wiring components
| Component | Class 20 | Class 25+35 | |
| Power supply cable | Voltage | 220~240 V | |
| Phase | 1~ | ||
| Frequency | 50 Hz | ||
| Wire sizes | 3-core cable 2.5 mm2(a)(b) / 4.0 mm2(b) (a)H05RN-F (60245 IEC 57) (b)H07RN-F (60245 IEC 66) | ||
| Interconnection cable (indoor↔outdoor) | 4-core cable 1.5 mm2~2.5 mm2 and applicable for 220~240 V H05RN-F (60245 IEC 57) | ||
| Recommended circuit breaker | 10 A | 13 A | |
| Residual current device | MUST comply with applicable legislation | ||
Remove the service cover.
To connect the electrical wiring to the outdoor unit
- Open the wire clamp.
- Connect the interconnection cable and power supply as follows
- an Interconnection cable
- b Power supply cable
- c Circuit breaker
- d Residual current device
- e Power supply
- f Earth

- Tighten the terminal screws securely. We recommend using a Phillips screwdriver.
Finishing the outdoor unit installation
- a Gas pipe
- b Gas pipe insulation
- c Interconnection cable
- d Field wiring (if applicable)
- e Liquid pipe
- f Liquid pipe insulation
- g Finishing tape
Configuration
Facility setting
Use this function for cooling at low outdoor temperature. This function is designed for facilities such as equipment of computer rooms. NEVER use in a residence or office where people occupy the space.
To set the facility mode
When cutting jumper J6 on the PCB, the operation range will expand to –15°C. The facility mode will stop if the outdoor temperature drops below –20°C and resume when the temperature rises again
INFORMATION
▪ The indoor unit may produce Intermittent noise due to the outdoor unit fan turning ON and/or OFF.
▪ Do NOT place humidifiers or other items which might raise humidity in rooms when you use the facility mode.
▪ Cutting jumper J6 sets the indoor unit fan to the highest speed.
▪ Do NOT use this setting in residences or offices with people.
Commissioning
NOTICE
General commissioning checklist. Next to the commissioning instructions in this chapter, a general commissioning checklist is also available on the Daikin Business Portal (authentication required). The general commissioning checklist is complementary to the instructions in this chapter and can be used as a guideline and reporting template during the commissioning and hand-over to the user.
Checklist before commissioning
| The indoor unit is properly mounted. | |
| The outdoor unit is properly mounted. | |
| The system is properly earthed and the earth terminals are tightened. | |
| The power supply voltage matches the voltage on the identification label of the unit. | |
| There are NO loose connections or damaged electrical components in the switch box. | |
| There are NO damaged components or squeezed pipes on the inside of the indoor and outdoor units. | |
| There are NO refrigerant leaks. | |
| The refrigerant pipes (gas and liquid) are thermally insulated. | |
| The correct pipe size is installed and the pipes are properly insulated. | |
| The stop valves (gas and liquid) on the outdoor unit are fully open. | |
| Drainage Make sure drainage flows smoothly. Possible consequence: Condensate water might drip. | |
| The indoor unit receives the signals of the user interface. | |
| The specified wires are used for the interconnection cable. | |
| The fuses, circuit breakers, or locally installed protection devices are installed according to this document, and have NOT been bypassed. |
- After the installation of the unit, check the items listed below.
- Close the unit.
- Power up the unit.
Checklist during commissioning
| The indoor unit is properly mounted. | |
| The outdoor unit is properly mounted. | |
| The system is properly earthed and the earth terminals are tightened. | |
| The power supply voltage matches the voltage on the identification label of the unit. | |
| There are NO loose connections or damaged electrical components in the switch box. | |
| There are NO damaged components or squeezed pipes on the inside of the indoor and outdoor units. | |
| There are NO refrigerant leaks. | |
| The refrigerant pipes (gas and liquid) are thermally insulated. | |
| The correct pipe size is installed and the pipes are properly insulated. | |
| The stop valves (gas and liquid) on the outdoor unit are fully open. | |
| Drainage Make sure drainage flows smoothly. Possible consequence: Condensate water might drip. | |
| The indoor unit receives the signals of the user interface. | |
| The specified wires are used for the interconnection cable. | |
| The fuses, circuit breakers, or locally installed protection devices are installed according to this document, and have NOT been bypassed. |
| To perform an air purge. | |
| To perform a test run. |
To perform a test run Maintenance and service
- Prerequisite: Power supply MUST be in the specified range.
- Prerequisite: Test run may be performed in cooling or heating mode.
- Prerequisite: Test run should be performed in accordance with the operation manual of the indoor unit to make sure that all functions and parts are working properly.
- In cooling mode, select the lowest programmable temperature.
- In heating mode, select the highest programmable temperature.
- Test run can be disabled if necessary.
- When the test run is finished, set the temperature to a normal level. In cooling mode: 26~28°C, in heating mode: 20~24°C.
- The system stops operating 3 minutes after the unit is turned OFF.
- General maintenance/inspection checklist. Next to the maintenance instructions in this chapter, a general maintenance/inspection checklist is also available on the
- Daikin Business Portal (authentication required). The general maintenance/inspection checklist is complementary to the instructions in this chapter and can used as a guideline and reporting template during maintenance.
Troubleshooting
| LED is… | Diagnosis | |
| ON | ▪ Turn the power OFF and back ON, and check the LED within approximately 3 minutes. If the LED is ON again, the outdoor unit PCB is faulty. | |
| OFF | 1 Supply voltage (for power saving). 2 Power supply fault. 3 Turn the power OFF and back ON, and check the LED within approximately 3 minutes. If the LED is OFF again, the outdoor unit PCB is faulty. | |
Fault diagnosis using LED on outdoor unit PCB
Disposal
Do NOT try to dismantle the system yourself: the dismantling of the system, treatment of the refrigerant, oil and other parts MUST comply with applicable legislation. Units MUST be treated at a specialised treatment facility for reuse, recycling and recovery.
Technical data
- A subset of the latest technical data is available on the regional Daikin website (publicly accessible).
- The full set of latest technical data is available on the Daikin Business Portal (authentication required).
Wiring diagram
The wiring diagram is delivered with the unit, located inside of the outdoor unit (bottom side of the top plate).
Unified wiring diagram legend
For applied parts and numbering, refer to the wiring diagram on the unit. Part numbering is by Arabic numbers in ascending order for each part and is represented in the overview below by “*” in the part code.
| Symbol | Meaning | Symbol | Meaning | ||
| Circuit breaker | Protective earth | ||||
| Connection | Protective earth (screw) | ||||
| , | Connector | A , | Rectifier | ||
| Earth | Relay connector | ||||
| Symbol | Meaning | Symbol | Meaning | |||
| Field wiring | Short-circuit connector | |||||
| Fuse | Terminal | |||||
| INDOOR | Indoor unit | Terminal strip | ||||
| OUTDOOR | Outdoor unit |
| Wire clamp | |||
| Residual current device | ||||||
| Symbol | Colour | Symbol | Colour |
| BLK | Black | ORG | Orange |
| BLU | Blue | PNK | Pink |
| BRN | Brown | PRP, PPL | Purple |
| GRN | Green | RED | Red |
| GRY | Grey | WHT | White |
| SKY BLU | Sky blue | YLW | Yellow |
| Symbol | Meaning |
| A*P | Printed circuit board |
| BS* | Pushbutton ON/OFF, operation switch |
| BZ, H*O | Buzzer |
| C* | Capacitor |
| AC*, CN*, E*, HA*, HE*, HL*, HN*, HR*, MR*_A, MR*_B, S*, U, V, W, X*A, K*R_*, NE | Connection, connector |
| D*, V*D | Diode |
| DB* | Diode bridge |
| DS* | DIP switch |
| E*H | Heater |
| FU*, F*U, (for characteristics, refer to PCB inside your unit) | Fuse |
| FG* | Connector (frame ground) |
| H* | Harness |
| H*P, LED*, V*L | Pilot lamp, light emitting diode |
| HAP | Light emitting diode (service monitor green) |
| HIGH VOLTAGE | High voltage |
| IES | Intelligent eye sensor |
| IPM* | Intelligent power module |
| K*R, KCR, KFR, KHuR, K*M | Magnetic relay |
| L | Live |
| L* | Coil |
| L*R | Reactor |
| M* | Stepper motor |
| M*C | Compressor motor |
| M*F | Fan motor |
| M*P | Drain pump motor |
| M*S | Swing motor |
| MR*, MRCW*, MRM*, MRN* | Magnetic relay |
| N | Neutral |
| n=*, N=* | Number of passes through ferrite core |
| PAM | Pulse-amplitude modulation |
| PCB* | Printed circuit board |
| PM* | Power module |
| PS | Switching power supply |
| Symbol | Meaning |
| PTC* | PTC thermistor |
| Q* | Insulated gate bipolar transistor (IGBT) |
| Q*C | Circuit breaker |
| Q*DI, KLM | Earth leak circuit breaker |
| Q*L | Overload protector |
| Q*M | Thermo switch |
| Q*R | Residual current device |
| R* | Resistor |
| R*T | Thermistor |
| RC | Receiver |
| S*C | Limit switch |
| S*L | Float switch |
| S*NG | Refrigerant leak detector |
| S*NPH | Pressure sensor (high) |
| S*NPL | Pressure sensor (low) |
| S*PH, HPS* | Pressure switch (high) |
| S*PL | Pressure switch (low) |
| S*T | Thermostat |
| S*RH | Humidity sensor |
| S*W, SW* | Operation switch |
| SA*, F1S | Surge arrester |
| SR*, WLU | Signal receiver |
| SS* | Selector switch |
| SHEET METAL | Terminal strip fixed plate |
| T*R | Transformer |
| TC, TRC | Transmitter |
| V*, R*V | Varistor |
| V*R | Diode bridge, Insulated-gate bipolar transistor (IGBT) power module |
| WRC | Wireless remote controller |
| X* | Terminal |
| X*M | Terminal strip (block) |
| Y*E | Electronic expansion valve coil |
| Y*R, Y*S | Reversing solenoid valve coil |
| Z*C | Ferrite core |
| ZF, Z*F | Noise filter |























