Rinnai HSNCJ25B CJ Series Split Type Wall Mounted Air Conditioner

Rinnai HSNCJ25B CJ Series Split Type Wall Mounted Air Conditioner
READ ALL INSTRUCTIONS BEFORE USING THE APPLIANCE.
- Always comply with the following precautions to avoid dangerous situations and to ensure optimum performance.
- Failure to carefully read and follow all instructions in this manual can result in equipment malfunction, property damage, personal injury and/or death.
- DANGER: Indicates an imminently hazardous situation which, if not avoided, will result in personal injury or death.
- WARNINGS: Indicates a potentially hazardous situation which, if not avoided, could result in personal injury or death.
- CAUTIONS: Indicates a potentially hazardous situation which, if not avoided, could result in minor or moderate injury or damage to the appliance. It may also be used to alert against unsafe practices.
REGULATORY
This appliance shall be installed in accordance with:
Manufacturer’s Installation Instructions.
- Current AS/NZS 3000, AS/NZS 5141.
- Local Regulations and Municipal Building Codes including local OH&S requirements.
- This appliance must be installed, maintained, and removed ONLY by an Authorised Person.
- For the continued safety of this appliance, it must be installed and maintained in accordance with the manufacturer’s instructions.
- This appliance uses an R32 refrigerant.
- This appliance is heavy, use 2 people or a mechanical lifting device. Improper lifting may result in serious injury.
- Take care when opening or unpacking this appliance. Failure to do so may result in serious injury or product failure.
- DO NOT modify the electrical wiring of this appliance. If the control power wiring is damaged or deteriorated then it must be replaced by an authorized person. Failure to do so may result in electric shock, fire,
- serious injury or product failure.
- DO NOT install the air conditioner on an unstable or nonlevel surface or where there may be a danger of it falling. It may result in death, serious injury, or product failure.
- DO NOT install the outdoor unit where noise may cause nuisance.
- DO NOT install the outdoor unit where it will be exposed to sea wind (salt spray) as this will reduce durability.
INSTALLATION
- This appliance shall be installed in accordance with local electrical safety regulations by an authorised person such as a licensed electrician.
- This appliance is a Type 1 Electrical Appliance.
- Make sure the live wire, neutral wire and earth wire in the power socket are properly connected. Inadequate or incorrect electrical connections may cause fire or electric shock.
- The yellow-green wire in air conditioner is the earthing wire which cannot be used for other purposes. Improper earthing may cause electric shock.
- The circuit breaker must have the functions of magnetic tripping and heat tripping to prevent short circuit and overload.
- Use a standard circuit breaker and fuse conforming with the rating of the appliances
| HSNCJ25B | HSNCJ35B | HSNCJ50B | HSNCJ70B |
| 16 | 16 | 16 | 20 |
- The unit must be earthed in accordance with local regulations.
- Connect all wiring tightly. Failure to do so may result in electric shock or product failure.
- DO NOT supply power to the unit until all wiring and tubing are completed.
- Select an installation location where the components can be mounted securely and accessible for service and replacement.
- Make sure tubing is properly insulated to ensure optimum performance.
- Install the drain hose properly for smooth drainage of condensed water.
- Make sure to check for and rectify any refrigerant leaks after you install or repair the unit.
- This appliance uses R32 (difluoromethane) refrigerant, which is a flammable gas class 2.2 according to AS/NZS 1677 and must be handled by a refrigeration mechanic with appropriate Australian refrigerant
- handling licence.
WARNING Risk of fire / flammable material. If the refrigerant is leaked, together with an external ignition source, there is a possibility of ignition.
Read the OPERATING INSTRUCTIONS carefully before operation.
Service personnel are required to carefully read the OPERATING INSTRUCTIONS and INSTALLATION MANUAL before operation.
Further information is available in the OPERATING INSTRUCTIONS, INSTALLATION MANUAL, and the like.
Certain levels of refrigerant require minimum room sizes. Please ensure that these minimum room sizes are adhered to for standard installations (up to 10m pipe length). If larger refrigerant charges than standard are used then please consult AS/NZS 60335.2.40 to determine the safe minimum floor area for the installation.
Make sure that the area has been made safe by having suitable ventilation and is free from ignition sources before charging or releasing the charge of R32.
Model
Standard Charge (g)
Minimum Floor Area (m2)
| HSNCJ25B | HSNCJ35B | HSNCJ50B | HSNCJ70B |
| 660 | 700 | 1200 | 1330 |
| 1.00 | 1.00 | 1.74 | 1.74 |
OPERATION
- DO NOT let the air conditioner run for extended periods when the humidity is very high or when doors or windows are left open. As this may result in an excessive operational loading and lead to product failure.
- DO NOT cover or place articles on any part of this appliance.
- DO NOT touch, operate or clean the air conditioner with wet hands. It may result in electric shock or product failure.
- DO NOT insert hands or other objects through the air inlet or outlet while the appliance is operating. It may result in electric shock or product failure.
- DO NOT place a heater or other heating appliances near this appliance, always ensure sufficient ventilation when using this appliance and a heating appliance at the same time. Failure to do so may result in product mis-operation.
- Turn main power off before cleaning. Failure to do so may result in fire, electric shock, or product failure.
- DO NOT use solvents, abrasives or harsh detergent to clean any part or surface of this appliance or spray water or allow liquids to enter the indoor unit. The enclosure of the appliance and remote control can be
- cleaned using a soft, damp cloth and a mild detergent.
- NEVER touch the metal parts of the air conditioner when you remove the air filter. It may result in electric shock or product failure.
- DO NOT leave flammable materials near the appliance. It may result in explosion or fire.
- If there is excessive noise, smell or smoke coming from the appliance, turn the appliance off, isolate the power supply and contact a service agent.
- DO NOT operate the appliance if it has been submerged into water due to flooding, contact a service agent. Failure to do so may result in electric shock, fire, serious injury, or product failure.
- This appliance is not intended for use by persons (including children) with reduced physical, sensory or mental capabilities, or lack of experience and knowledge unless they have been given supervision or instruction concerning use of the appliance by a person responsible for their safety.
- Children should be supervised to ensure that they DO NOT play with the appliance.
- The air conditioning system is designed to achieve consumer comfort. It is NOT designed for commercial applications requiring a controlled atmosphere (i.e. computer rooms, food preservation, etc.)
- DO NOT block the inlet or outlet of air flow. It may result product in failure.
- DO NOT drink the condensate water drained from the appliance. This condensate is not potable and may present a health risk if consumed.
- DO NOT expose people, animals or plants directly to the cold or hot discharge of the appliance. It may result in serious injury.
- DO NOT mix the batteries for the remote control with other types of batteries or mix new batteries with used batteries. Failure to do so may result in product failure. STOP using the remote control if there is a
- battery fluid leak.
- OPERATION RANGE LIMITATIONS
- The table below indicates the temperature ranges the air conditioner can be operated within.
| MODE | Cool Mode | Dry Mode |
| Room Temperature | > 17°C | > 17°C |
| Outdoor Temperature | -15°C ~ 52°C | -15°C ~ 52°C |
CONTENTS CHECKLIST
| Item and quantity provided | |||||||
| Indoor unit | x1 | Indoor unit support bracket | x1 | Brass nut (small) | x2 | Operation manual | x1 |
| Remote controller | x1 | Outdoor unit | x1 | Brass nut (large) | x2 | Installation manual | x1 |
| Remote control wall bracket | x1 | Rubber vibration damper | x4 | Tape | x1 | Energy label | x1 |
| AAA battery | x2 | Drain pipe | x1 | Putty | x1 | ||
APPLIANCE COMPONENTS
- Indoor unit air inlet
- Filter (located behind front access panel)
- Manual ON/OFF (Auto) override button (located behind front access panel)
- Indoor unit air outlet (with louvres and vanes for setting air flow direction)
- Remote control
- Signal receiver window and temperature display (the display is built into the front access panel)
- Refrigerant pipes, electrical cable(s) (covered with binding tape)
- Condensate drain hose (covered with binding tape)
- Refrigerant entry (for service and installer use only)
- Outdoor unit air inlet (on rear & left side of unit)
- Outdoor unit air discharge and protective grille (on front of unit)

WEIGHTS & DIMENSIONS
| Model | HSNCJ25B | HSNCJ35B | HSNCJ50B | HSNCJ70B | |||||||||
| Weight (kg) | Indoor | 9.5 | 12.0 | 13.0 | 14.0 | ||||||||
| Outdoor | 28.0 | 28.0 | 45.0 | 47.0 | |||||||||
|
Dimensions (mm) | Indoor | A 881 | B 194 | C 294 | A 940 | B 224 | C 316 | A 997 | B 227 | C 316 | A 1132 | B 232 | C 330 |
| Outdoor | D 800 | E 50 | F 545 | D 800 | E 50 | F 545 | D 900 | E 50 | F 700 | D 900 | E 50 | F 700 | |
| G 353 | H 545 | I 315 | G 353 | H 545 | I 315 | G 388 | H 630 | I 350 | G 388 | H 630 | I 350 | ||

LOCATION
INDOOR UNIT
- Ensure the indoor unit is located away from heat or steam.\
- Ensure the indoor unit is located so it can be accessed for service and replacement.
- Ensure the indoor unit is located so condensate can be drained away.
- Select a location where the indoor unit can be securely mounted.
- The clearances shown MUST BE maintained.
OUTDOOR UNIT
- Select the location where exposure to direct sunlight and strong wind are minimized.
- Select the location where the outdoor unit can be securely mounted.
- Select the location where the noise and airflow will not cause a nuisance.
- Ensure there are no obstructions in the airflow path.
- Ensure the outdoor unit is located so it can be accessed for service and replacement.
- Do not place animals and plants near the air discharge.
- The clearances shown MUST BE maintained.

PIPE LENGTH & ELEVATION LIMITS
| Models | Pipe Size Gas | Pipe Size Liquid | Chargeless Length | Minimum Length – X | Maximum Length – X | Maximum Height – Y | Additional Refrigerant | ||
| mm | inch | mm | inch | m | m | m | m | g/m | |
| HSNCJ25B | Ø9.52 | 3/8 | Ø6.35 | 1/4 | 10 | 2 | 20 | 12 | 15 |
| HSNCJ35B | Ø12.7 | 1/2 | Ø6.35 | 1/4 | 10 | 2 | 20 | 12 | 15 |
| HSNCJ50B | Ø12.7 | 1/2 | Ø6.35 | 1/4 | 10 | 2 | 30 | 20 | 15 |
| HSNCJ70B | Ø15.88 | 5/8 | Ø6.35 | 1/4 | 10 | 2 | 30 | 20 | 15 |
The outdoor unit is supplied already charged for interconnecting pipe lengths of 2 metres up to 10 metres in length.
Removal of refrigerant is necessary if pipe length is less than 2 metres and additional refrigerant will be required for pipe lengths in excess of 10 metres. (Please refer to the above table.) Removal or addition of refrigerant must be by best practice.

INSTALLATION
- The wall or structure on which the units are to be mounted must be capable of supporting the weight of the appliance and the associated pipe-work
- Fix the mounting plate on to the wall using, ensuring that it is both level and firmly mounted with the appropriate fixings.
DO NOT install the unit in a place where electrical wiring or conduits are located.

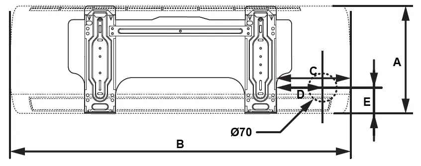
| Wall Mounting Plate Positioning Dimensions (mm) | |||||||||||||||||||
| HINCJ25B | HINCJ35B | HINCJ50B | HINCJ70B | ||||||||||||||||
| A | B | C | D | E | A | B | C | D | E | A | B | C | D | E | A | B | C | D | E |
| 294 | 881 | 228 | 84 | 43 | 316 | 940 | 218 | 54 | 41 | 316 | 997 | 217 | 43 | 38 | 330 | 1132 | 236 | 56 | 39 |
Wall Penetration
Drill a Ø70mm wall penetration through the wall with a 2° to 4° fall to the outside wall.

Drain Pipe
1. Connect the drain pipe to the drain hose outlet of the indoor unit, 2. Bind the joint with PVC insulation tape (not supplied).

Electrical Connections
Must be installed, maintained and removed by authorised persons in accordance with AS/NZS 3000 and all other relevant local regulations and municipal building codes including OH&S requirements. Ensure electric wiring is installed properly. Improper installation may cause malfunction, fire, or electric shock. The unit must be earthed following local electrical codes.
- Open the front panel.
- Remove the wiring cover.
- Insert the electrical cable(s) through the bottom side at the back of indoor unit.
- Secure the cable onto the control board with the cable clip.
- Connect the cables as shown on the drawing to the corresponding terminals.
- Re-install the wiring cover.
- Close the front panel.

Wall Installation
- Remove the two foam shipping blocks from the rear of indoor unit as shown.
- Position the piping as shown on the drawing.
- Tape the refrigerant pipes, electric cable(s) and drain hose. Ensure the water drain hose is located at the lowest side of the bundle.
The drain pipe is dual handed and may be installed to either the left or right of the appliance. - To use this option unclasp the drain hose.
- Unscrew the rubber plug from the alternate drainage discharge connection point.
- Clip the drainage hose into the alternate discharge connection point.
- Screw the rubber plug into the unused drainage discharge connection point.
- Hang the mounting slots of the indoor unit on the upper portion of the mounting plate. Ensure that the hooks are properly seated on the plate.
- Push the unit towards to the wall, and hook the unit onto the lower fixing hook.

Ensure that there is no leakage from the drainpipe connection and that the drainpipe has a continuous fall to the outside. Ensure that all wall penetrations are sufficiently weatherproofed.
OUTDOOR UNIT
Electrical Connections
- Remove the wiring cover.
- Secure the electrical cable(s) and power cable onto the control board with the cable clip.
- Connect the cables as shown on the drawing below.

- Re-install the wiring cover.
DRED Connection (optional)
This appliance is supplied with a DRED interface, the interface provides two connection methods of either a four-wire terminal connection or an RJ45 socket.
Must be installed, maintained, and removed by authorized persons in accordance with AS/NZS 3000 and to all other relevant local regulations and municipal building codes including OH&S requirements.
Ensure electric wiring is installed properly. Improper installation may cause malfunction, fire, or electric shock.
- Remove the wiring cover.
- Connect the power feed to the terminal block as shown on the drawing below.
- Connect the communication cable to the DRED interface using either the four-wire terminal connections or RJ45 socket provided.

REFRIGERANT PIPES
Flaring
- The main cause for refrigerant leakage is due to defects with the flaring work.
- The installer must ensure that all piping used complies with both:
AS/NZS 1571:1995 – Copper – Seamless tubes for air conditioning and refrigeration.
AS/NZS 4041:2006 – Pressure piping. - All pipework and fittings should be thoroughly examined for cleanliness and suitability for the system and refrigerant prior to assembling.
- All unsealed tubing must be thoroughly inspected and, if necessary, cleaned before assembly to remove any copper residue and/or scale particles such as dirt or metal.
- Metal filings must not be left in pipework after cutting as they can cause damage compressor (i.e. shaft seals, bearings, etc.).
- Prior to assembly, refrigeration pipes must be clean and burr free. They must not be crushed or kinked.
- For flare connections, a suitable lubricant must be used between the back of the flare and the nut to avoid tearing the flare when tightening the nut.
Connecting Vapour / Liquid Pipes To Indoor & Outdoor Units
- Align the centre of the pipes.
- Sufficiently tighten the flare nut with fingers, then tighten with a spanner and torque wrench.
To prevent heat loss and wet floors due to dripping of condensation, both pipes must be properly insulated.
| Pipe Dimensions (Ø) | Torque Wrench Setting | |
| Metric | Imperial | |
| Ø 6.35 mm | Ø 1/4″ | 18 Nm |
| Ø 9.52 mm | Ø 3/8″ | 42 Nm |
| Ø 12.7 mm | Ø 1/2″ | 55 Nm |
| Ø 15.88 mm | Ø 5/8″ | 75 Nm |

- Ensure the joint nut is tightened firmly to avoid leakage.
- Ensure that both the connections and the refrigerant pipes are wrapped with insulation material.
Air Purging & Leakage Test
- DO NOT mix any substance other than the specified refrigerant (R32) into refrigerant system.
- When refrigerant gas leaks occur, ventilate the room immediately.
- R32, as well as other refrigerants, should always be recovered and never be released directly into the environment.
- Use a vacuum pump for R32 exclusively. Using the same vacuum pump for different refrigerants may damage the vacuum pump or the unit.\
- It is necessary to purge air and check for gas leakage after piping work is completed.
- If using additional refrigerant, perform air purging from the refrigerant pipes and indoor unit using a vacuum pump, then charge additional refrigerant.
- Use a hex socket (3/16″) to operate the service valves.
- All refrigerant pipe joints to be tightened with a torque wrench at the specified torque.
Evacuation Vacuum Method / Leak Test
- Remove the caps from the vapor valve, vapor valve service port and the liquid valve.
- Connect the charge hose from the low-pressure gauge (manifold gauge set) to the vapour valve service port.
- Open the low-pressure gauge valve (manifold gauge set), turn on the vacuum pump and run for a minimum of 15 minutes.
- Close low-pressure gauge valve (manifold gauge set) and turn off the vacuum pump.
- Wait 2 minutes to allow pressure to stabilize, then check that the low-pressure gauge is maintaining a pressure of -100 kPa (-76 cmHg).
- Disconnect the charge hose from the vapour valve service port and replace the vapor valve service port cap.
- Open both the vapor and the liquid valves to charge the refrigerant system for test running.
- Test run the system through both heating and cooling cycles and test for leaks.
- Replace the vapour and liquid valve caps.

Both the vapour and liquid valve caps MUST BE on tight.
The system is now ready to run.
Adding Refrigerant for Longer Line Length
Additional refrigerant for longer piping runs can be added either at the time of evacuation of the new installation or whilst the unit is operating, see “Pipe Length & Elevation Limits” on page 8.
- It is very easy to overcharge, take caution in charging refrigerant liquid and keep your eye on the scales to avoid overcharging the unit.
- Take care not to discharge refrigerant into the atmosphere during installation, re-installation, repair or service.
The checklist is ONLY to be completed by an Authorised Person.

Rinnai Australia Pty Ltd
ABN 74 005 138 769 | AU45204
100 Atlantic Drive, Keysborough, Victoria 3173
P.O. Box 460, Braeside, Victoria 3195
Tel: (03) 9271 6625
Fax: (03) 9271 6622
National Help Line
Tel: 1300 555 545* Fax: 1300 555 655
Monday to Friday, 8.00 am to 5.00 pm EST.
*Cost of a local call higher from mobile or public phones.
For further information visit www.rinnai.com.au or email [email protected]
‰innai has a Service and Spare Parts network with personnel who are fully trained and equipped to give the best service on your ‰innai appliance. If your appliance requires service, please call our National Help Line. Rinnai recommends that this appliance be serviced every 3 years.
With our policy of continuous improvement, we reserve the right to change, or discontinue at any time, specifications or designs without notice.

The drain pipe is dual handed and may be installed to either the left or right of the appliance.


















