
TWO-HANDLE LAVATORY FAUCET
Installation Instructions

PFWSC5260 CP/BZN/NORB
Caution-Tips:
If you use soldering for the installation of the faucet, the cartridges will have to be removed before using flame. Otherwise, the warranty will be void on these parts.
Cover your drain to avoid losing parts. The fittings should be installed by a licensed plumber.
Remove old faucet. Clean sink surface in preparation for a new faucet.
Care Instructions:
Your new faucet is designed for years of trouble-free performance. Keep it looking new by cleaning it periodically with a soft cloth. Avoid abrasive cleaners, steel wool and harsh chemicals as these will dull the finish and void your warranty.
You May Need

Shut off the main water supply before installation.

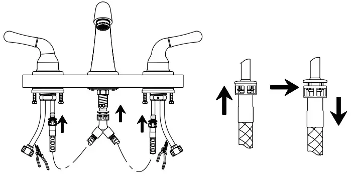
- Remove assembled parts and plastic seal cover from the faucet body.

- Place the spout in the center hole of the sink. Secure faucet as shown above.

- Remove assembled parts and plastic seal cover from the faucet body.

- Place the handle bodies through the left and right holes. Re-assemble the parts and tighten the mounting nut.

- Connect handle assembly to the faucet body with water supply hose. Push supply hose adapter with hose coupling until you hear a “click”.

- Tighten end of the shank with wrench and slip coupling nut onto inlet port.

- After installing the faucet, remove the aerator and turn on water to remove any debris. Re-assemble aerator.
Warning!
This product is engineered to meet the EPA WaterSense flow requirement. The flow rate is governed by the aerator or flow controller. If replacement is ever required, be sure to replace it with a WaterSense compliant aerator or flow controller to retain the water-conserving flow rate of this product.
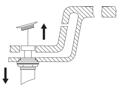
Pop-Up Drain Installation.

- Remove old pop-up drain assembly.

- Place a ring of putty around the drain opening of the sink.

- Insert threaded end of drain body (7) up through drain hole and attach flange (9) to the body.

- Thread lock nut (11) from the underside of the sink until the rubber washer sits securely inside the opening of the sink. Tighten lock nut.

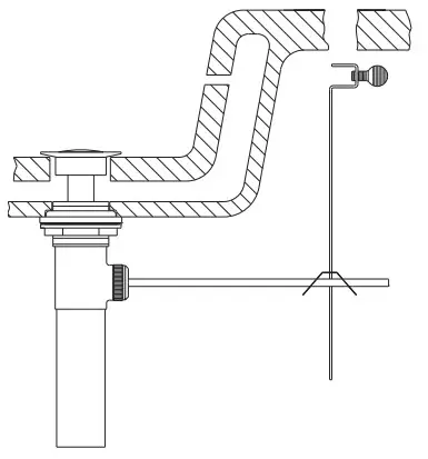
- Insert main plunger (8) into the drain. Insert ball rod (5) into rod port and into the hole at bottom of the main plunger.

- Place one end of the spring clip (4) on the end of the ball rod (5). Pass the tip of the rod through the hole in the lift rod strap (3) and then through the hole on the other end of the spring clip (4).

- Insert the bottom of lift rod (1) into the hole at top of the lift rod strap (3). Tighten with thumb screw (2).

If you’ve followed the instructions carefully and your faucet still does not work properly, take these corrective steps.
Problem
Leaks underneath handle.
Cause
The retainer nut has come loose. O-ring on the cartridge is dirty or damaged.
Action
Tighten the retainer nut. Clean or replace o-ring.
Aerator leaks or has an inconsistent water flow pattern.
An aerator is dirty or fit incorrectly.
Unscrew the aerator to check rubber packing or replace the aerator.
US CUSTOMERS :
The purchaser should contact their local Ferguson location, installing contractor, or builder from whom the product was purchased. To find your nearest Ferguson location please visit www.ferguson.com and enter your address into the Find a Location field.
CANADIAN CUSTOMERS :
The purchaser should contact their local Wolseley Canada location, installing contractor, or builder from whom the product was purchased. To find your nearest Wolseley Canada location please visit www.wolseleyinc.ca, then click on Find a Location and enter in your address into the location field.

1.1 Metal handle assembly-cold
1.2 Metal handle assembly-cold
2.1 Ceramic disc cartridge-cold
2.2 Ceramic disc cartridge-hot
3. Aerator
4. Lift rod
5. Pop-up assembly
6. Connecting hose
OBPF7A662507C*
OBPF7A662507H*
OBPF2A507038N
OBPF2A507039N
OBPF5A500268N*
OBPF9A025116*
OBPF5A505037*
OBPF8A135141N
©2021 Ferguson Enterprises, LLC 06/21


























