Thermador PRD486WLHU-2 Dual Fuel Professional Range

Product Information
This product is a replacement parts kit for a gas grill. It includes various parts such as back panel, cover panel, burner, gas tap, frame, control module, and cable harness, among others.
Parts Included
- Back wall panel
- Back panel
- Cover Panel
- Panel side
- Front panel
- Screw
- Module-relay
- Display
- Switch
- Encoder
- Support Panel-facia
- Ring
- Encoder Knob
- Bracket
- Energy regulator
- Burner cap
- Burner
- Venturi nozzle
- Electrode
- Burner housing
- Jet
- Ignition device
- Rail
- Tray
- Heat shield
- Gas tap
- Valve
- Manifold
- Clip
- Grill grid
- Heating element
- Grill accessories tray for Ceramic Briquettes (for PABRICKBKW)
- Salver
- Temperature sensor
- Frame
- Cable harness set
- Control module programmed
- Control module not programmed
- Limiter-temperature control module
- Transformer
- Cable harness
- Connectivity module
- Cable strap
Product Usage Instructions
- Refer to the user manual that came with your gas grill for step-by-step instructions on how to install the replacement parts kit. Make sure to turn off the gas supply and disconnect the grill from the power source before starting the installation process. Check each part against the list of parts included to ensure that you have all the necessary components for the installation.
- If you are unsure about how to install any of the replacement parts, please consult a qualified technician or contact the manufacturer for further assistance.
- After installation, test the grill to ensure that it is functioning properly before use. Follow the operating instructions provided in your grill’s user manual to properly maintain and use your grill
PARTS LIST

| Position ID | Part number. | Replaces: | Description |
| 0101 | 00146135 | Back wall panel | |
| 0102 | 11031592 | Back panel | |
| 0103 | 00649417 | 00752161 | Cover |
| 0104 | 20000372 | Panel | |
| 0105 | 20000373 | Panel side | |
| 0106 | 00719250 | Panel side | |
| 0107 | 00771304 | Front panel | |
| 0108 | 00623741 | Screw |

| Position ID | Part number. | Replaces: | Description |
| 0201 | 12024418 | Module-relay | |
| 0202 | 12024417 | Module-relay | |
| 0203 | 00617931 | Display | |
| 0204 | 00618025 | Display | |
| 0205 | 00609115 | Switch | |
| 0206 | 11032495 | Display module not programmed | |
| 0209 | 10010233 | Encoder | |
| 0210 | 10010232 | Encoder | |
| 0211 | 23000460 | Support | |
| 0213 | 20000021 | Panel-facia | |
| 0214 | 10008212 | Screw | |
| 0215 | 10008201 | Ring | |
| 0216 | 00418122 | Ring | |
| 0217 | 10010231 | Encoder | |
| 0218 | 10008199 | Knob | |
| 0219 | 10008200 | Knob | |
| 0221 | 10010229 | Ring | |
| 0222 | 10010228 | Ring | |
| 0223 | 10008226 | Bracket | |
| 0224 | 00629049 | Energy regulator | |
| 0225 | 00617886 | Display | |
| 0227 | 10010230 | Knob | |
| 0228 | 10008225 | Knob | |
| 0206 | 12028879 | Display module programmed | |
| 0212 | 00623615 | Nut |

| Position ID | Part number. | Replaces: | Description |
| 0301 | 10004490 | Burner cap | |
| 0302 | 10004489 | Burner cap | |
| 0303 | 10004493 | Burner | |
| 0304 | 10004492 | Burner | |
| 0305 | 10004495 | Venturi nozzle | |
| 0306 | 10006471 | Electrode | |
| 0308 | 10004498 | Burner housing | |
| 0309 | 10004497 | Burner housing | |
| 0311 | 10006793 | Jet | |
| 0312 | 10006797 | Jet | |
| 0313 | 12007259 | Ignition device | |
| 0314 | 00701902 | Rail | |
| 0315 | 00687075 | Tray | |
| 0316 | 12024446 | Heat shield | |
| 0307 | 10008211 | Screw | |
| 0310 | 10004531 | Screw |

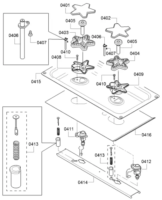
| Position ID | Part number. | Replaces: | Description |
| 0401 | 10004490 | Burner cap | |
| 0402 | 10004489 | Burner cap | |
| 0403 | 10004493 | Burner | |
| 0404 | 10004492 | Burner | |
| 0405 | 10004495 | Venturi nozzle | |
| 0406 | 10006471 | Electrode | |
| 0408 | 10004498 | Burner housing | |
| 0409 | 10004497 | Burner housing | |
| 0411 | 10006793 | Jet | |
| 0412 | 10006797 | Jet | |
| 0413 | 12007259 | Ignition device | |
| 0414 | 00701902 | Rail | |
| 0415 | 11013687 | Hob top | |
| 0416 | 10008221 | Heat shield | |
| 0407 | 10008211 | Screw | |
| 0410 | 10004531 | Screw |

| Position ID | Part number. | Replaces: | Description |
| 0501 | 11030914 | Gas tap | |
| 0502 | 11030913 | Gas tap | |
| 0503 | 11032796 | Gas tap | |
| 0504 | 11032797 | Gas tap | |
| 0505 | 11030916 | Gas tap | |
| 0506 | 11030915 | Gas tap | |
| 0510 | 00423093 | Valve | |
| 0512 | 10003806 | Valve | |
| 0513 | 10009155 | Valve | |
| 0514 | 00420807 | Screw | |
| 0515 | 20000265 | Manifold | |
| 0516 | 00779008 | Manifold | |
| 0517 | 10009569 | Bracket | |
| 0522 | 10010270 | Pipe connection piece | |
| 0523 | 11030963 | Gas tap | |
| 0524 | 00754658 | Regulator-pressure | |
| 0525 | 10010200 | Adapter | |
| 0526 | 11030960 | Gas tap | |
| 0527 | 10011592 | Extension for inlet |

| Position ID | Part number. | Replaces: | Description |
| 0601 | 12024441 | Frame | |
| 0602 | 10008228 | Screw | |
| 0603 | 00634163 | Clip | |
| 0604 | 10010298 | Washer | |
| 0605 | 10008224 | Screw | |
| 0606 | 00145749 | Grill grid | |
| 0607 | 11030956 | Heating element | |
| 0608 | 10008210 | Screw | |
| 0609 | 11030067 | Grill accessories | |
| 0610 | 11030015 | Tray for Ceramic Briquettes (for PABRICKBKW) | |
| 0611 | 00098049 | Salver | |
| 0612 | 12004405 | Temperature sensor | |
| 0613 | 10008210 | Screw | |
| 0614 | 00634165 | Bracket | |
| 0615 | 10008210 | Screw | |
| 0616 | 12026866 | Cable harness |

| Position ID | Part number. | Replaces: | Description |
| 0701 | 11032521 | Control module programmed | |
| 0701 | 12025831 | Control module not programmed | |
| 0702 | 00418283 | Support | |
| 0703 | 12024477 | 12034882 | Control module |
| 0704 | 12028138 | Limiter-temperature | |
| 0706 | 10005470 | Control module | |
| 0707 | 00489194 | Transformer | |
| 0709 | 10008933 | Clip | |
| 0710 | 10008207 | Ignition cable | |
| 0710 | 10010202 | Clip | |
| 0711 | 12024415 | Ignition cable | |
| 0712 | 12026846 | Cable harness | |
| 0713 | 12026871 | Cable harness | |
| 0714 | 12024414 | Cable harness | |
| 0715 | 12026845 | Cable harness | |
| 0716 | 12028077 | Cable harness set | |
| 0717 | 12026925 | Cable harness | |
| 0718 | 12026869 | Cable harness | |
| 0719 | 12026872 | Cable harness | |
| 0720 | 12026870 | Cable harness | |
| 0721 | 12024436 | Cable harness | |
| 0722 | 10010201 | Adapter | |
| 0723 | 12026868 | Cable harness | |
| 0730 | 12026865 | Cable harness | |
| 0708 | 12031987 | Connectivity module | |
| 0726 | 00423966 | Cable strap |

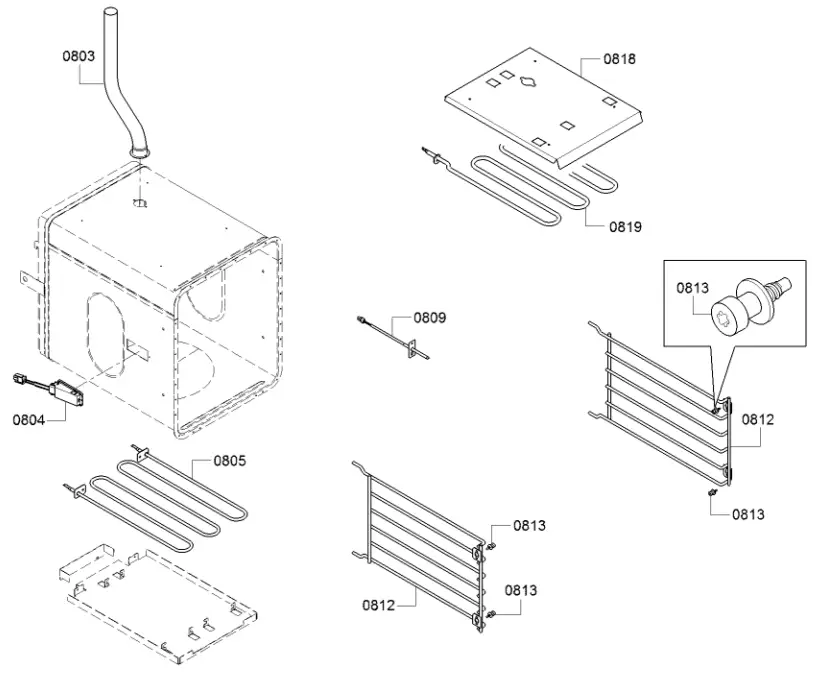
| Position ID | Part number. | Replaces: | Description |
| 0803 | 12004406 | Burner pipe | |
| 0804 | 10007424 | Lamp | |
| 0805 | 00709469 | Heating element | |
| 0809 | 00627375 | Temperature sensor | |
| 0818 | 00741560 | Reflector | |
| 0819 | 00741559 | Heating element | |
| 0812 | 11030962 | Guide | |
| 0813 | 10011396 | Bolt |

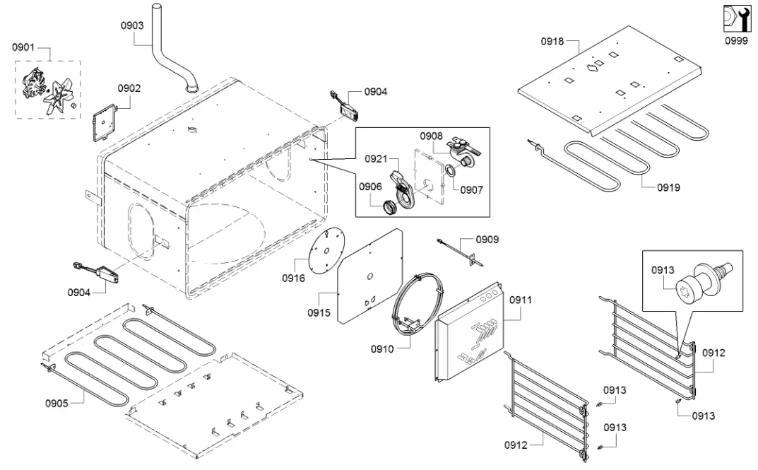
| Position ID | Part number. | Replaces: | Description |
| 0902 | 00447402 | Cover | |
| 0903 | 00494383 | Pipe connection piece | |
| 0904 | 10007424 | Lamp | |
| 0905 | 00709468 | Heating element | |
| 0906 | 10010225 | Nut | |
| 0908 | 00632039 | 10007567 | Socket |
| 0909 | 00627375 | Temperature sensor | |
| 0910 | 00640401 | Heating element | |
| 0912 | 00146140 | Support | |
| 0913 | 10011396 | Bolt | |
| 0915 | 00706444 | Cover | |
| 0918 | 00688243 | Reflector | |
| 0919 | 00497632 | Heating element | |
| 0920 | 10011798 | Cable harness | |
| 0901 | 00497756 | Motor | |
| 0911 | 20000143 | Cover | |
| 0916 | 00706444 | Cover | |
| 0999 | 12030862 | Repair-set | |
| 0921 | 10020313 | Cover |

| Position ID | Part number. | Replaces: | Description |
| 1003 | 10011167 | Limiter-temperature | |
| 1004 | 00628372 | Terminal | |
| 1006 | 00618400 | Switch-door | |
| 1007 | 10001186 | Plate | |
| 1008 | 10011170 | Bolt | |
| 1009 | 10001351 | Foot | |
| 1011 | 12026847 | Seal-door | |
| 1012 | 11030961 | Seal-door | |
| 1030 | 00648862 | Cable harness | |
| 1005 | 00651285 | Latch | |
| 1010 | 00649416 | Hinge-plate | |
| 1001 | 10020211 | Fan motor | |
| 1002 | 10020212 | Fan motor |

| Position ID | Part number. | Replaces: | Description |
| 1101 | 20000091 | Door-outer | |
| 1102 | 20000092 | Door-inner | |
| 1103 | 10010275 | Screw | |
| 1104 | 10011398 | Bracket | |
| 1105 | 10011397 | Handle-cap shaped | |
| 1106 | 11033705 | Handle-door | |
| 1107 | 10011397 | Handle-cap shaped | |
| 1109 | 10010274 | Screw | |
| 1110 | 10008228 | Screw | |
| 1111 | 11032539 | Hinge | |
| 1112 | 00618862 | Screw |

| Position ID | Part number. | Replaces: | Description |
| 1201 | 20000063 | Door-outer | |
| 1202 | 20000064 | Door-inner | |
| 1203 | 10010275 | Screw | |
| 1204 | 10011398 | Bracket | |
| 1205 | 10011397 | Handle-cap shaped | |
| 1206 | 11032089 | Handle | |
| 1207 | 10011397 | Handle-cap shaped | |
| 1208 | 10010271 | Plate | |
| 1209 | 10010274 | Screw | |
| 1210 | 10008228 | Screw | |
| 1211 | 10011376 | Hinge | |
| 1212 | 00618862 | Screw |

| Position ID | Part number. | Replaces: | Description |
| 1301 | 00145306 | Grill grid | |
| 1303 | 00774612 | 18″ Telescopic Rack | |
| 1304 | 00774613 | 30″ Telescopic Rack | |
| 1305 | 11013689 | Grill tray | |
| 1306 | 00484628 | 00449757 | Tray for Broiler Pan |
| 1307 | 00666710 | Broiler Pan | |
| 1308 | 00666709 | Tray for Broiler Pan | |
| 1309 | 10010207 | Bracket | |
| 1310 | 00753356 | Sensor | |
| 1302 | 00637940 | Grate Foot Replacement Kit |

















