Thermador PRD486WLHU-1 Dual Fuel Professional Range

Product Information
This product is a gas grill that comes with various components such as panels, burners, gas taps, control modules, and accessories.
Position Part ID
The product components are identified by a position part ID number ranging from 0101 to 0730.
Description
- Back panel
- Cover panel
- Panel side
- Front panel
- Screw
- Back wall panel
- Module-relay
- Display module (programmed and not programmed)
- Switch
- Encoder
- Support panel-facia
- Ring
- Encoder knob
- Bracket
- Energy regulator
- Nut
- Burner cap
- Burner
- Venturi nozzle
- Electrode
- Burner housing
- Jet
- Ignition device
- Tray
- Heat shield
- Rail
- Gas tap
- Valve
- Manifold
- Pipe connection piece
- Regulator-pressure adapter
- Frame
- Clip
- Washer
- Grill grid
- Heating element
- Grill accessories
- Tray for ceramic briquettes
- Salver
- Temperature sensor
- Cable harness
- Control module (programmed and not programmed)
- Limiter-temperature control module
- Transformer
- Cable strap
Product Usage Instructions
Follow the steps below to use the product:
- Assemble the product by using the back panel, cover panel, panel side, front panel, and back wall panel. Use screws to hold them in place.
- Add the module-relay, display module, switch, encoder, support panel-facia, ring, encoder knob, bracket, energy regulator, and nut to the product. Refer to the user manual for specific instructions on how to install each component.
- Install the burners by adding the burner cap, burner, venturi nozzle, electrode, burner housing, jet, ignition device, tray, heat shield, and rail. Refer to the user manual for specific instructions on how to install each component.
- Add gas taps, valves, manifold, pipe connection piece, regulator-pressure adapter to the product. Refer to the user manual for specific instructions on how to install each component.
- Add the frame, clip, washer, grill grid, heating element, grill accessories, tray for ceramic briquettes, salver, and temperature sensor to the product. Refer to the user manual for specific instructions on how to install each component.
- Connect the cable harness and control modules to the product. Refer to the user manual for specific instructions on how to install each component.
- Use the gas grill according to the manufacturer’s instructions. Make sure to follow safety guidelines while using the product.
PART LIST

| Position ID | Part number. | Replaces: | Description |
| 0102 | 11031592 | Back panel | |
| 0103 | 00649417 | 00752161 | Cover |
| 0104 | 20000372 | Panel | |
| 0105 | 20000373 | Panel side | |
| 0106 | 00719250 | Panel side | |
| 0107 | 00771304 | Front panel | |
| 0108 | 00623741 | Screw | |
| 0101 | 00146135 | Back wall panel |

| Position ID | Part number. | Replaces: | Description |
| 0201 | 12024418 | Module-relay | |
| 0202 | 12024417 | Module-relay | |
| 0203 | 00617931 | Display | |
| 0204 | 00618025 | Display | |
| 0205 | 00609115 | Switch | |
| 0206 | 11032495 | Display module not programmed | |
| 0209 | 10010233 | Encoder | |
| 0210 | 10010232 | Encoder | |
| 0211 | 00719263 | 23000460 | Support |
| 0213 | 20000021 | Panel-facia | |
| 0214 | 10008212 | Screw | |
| 0215 | 10008201 | Ring | |
| 0216 | 00418122 | Ring | |
| 0217 | 10010231 | Encoder | |
| 0218 | 10008199 | Knob | |
| 0219 | 10008200 | Knob | |
| 0221 | 10010229 | Ring | |
| 0222 | 10010228 | Ring | |
| 0223 | 10008226 | Bracket | |
| 0224 | 00629049 | Energy regulator | |
| 0225 | 00617886 | Display | |
| 0227 | 10010230 | Knob | |
| 0228 | 10008225 | Knob | |
| 0206 | 12028879 | Display module programmed | |
| 0212 | 00623615 | Nut |

| Position ID | Part number. | Replaces: | Description |
| 0301 | 10004490 | Burner cap | |
| 0302 | 10004489 | Burner cap | |
| 0303 | 10004493 | Burner | |
| 0304 | 10004492 | Burner | |
| 0305 | 10004495 | Venturi nozzle | |
| 0306 | 10006471 | Electrode | |
| 0308 | 10004498 | Burner housing | |
| 0309 | 10004497 | Burner housing | |
| 0311 | 10006793 | Jet | |
| 0312 | 10006797 | Jet | |
| 0313 | 12007259 | Ignition device | |
| 0315 | 00687075 | Tray | |
| 0316 | 12024446 | Heat shield | |
| 0314 | 00701902 | Rail | |
| 0307 | 10008211 | Screw | |
| 0310 | 10004531 | Screw |

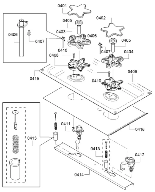
| Position ID | Part number. | Replaces: | Description |
| 0401 | 10004490 | Burner cap | |
| 0402 | 10004489 | Burner cap | |
| 0403 | 10004493 | Burner | |
| 0404 | 10004492 | Burner | |
| 0405 | 10004495 | Venturi nozzle | |
| 0406 | 10006471 | Electrode | |
| 0408 | 10004498 | Burner housing | |
| 0409 | 10004497 | Burner housing | |
| 0411 | 10006793 | Jet | |
| 0412 | 10006797 | Jet | |
| 0413 | 12007259 | Ignition device | |
| 0415 | 11013687 | Hob top | |
| 0416 | 10008221 | Heat shield | |
| 0414 | 00701902 | Rail | |
| 0407 | 10008211 | Screw | |
| 0410 | 10004531 | Screw |

| Position ID | Part number. | Replaces: | Description |
| 0501 | 11030914 | Gas tap | |
| 0502 | 11030913 | Gas tap | |
| 0503 | 11032796 | Gas tap | |
| 0504 | 11032797 | Gas tap | |
| 0505 | 11030916 | Gas tap | |
| 0506 | 11030915 | Gas tap | |
| 0510 | 00423093 | Valve | |
| 0512 | 10003806 | Valve | |
| 0513 | 10009155 | Valve | |
| 0514 | 00420807 | Screw | |
| 0515 | 20000265 | Manifold | |
| 0516 | 00779008 | Manifold | |
| 0517 | 10009569 | Bracket | |
| 0522 | 10010270 | Pipe connection piece | |
| 0523 | 11030963 | Gas tap | |
| 0524 | 00754658 | Regulator-pressure | |
| 0525 | 10010200 | Adapter | |
| 0526 | 11030960 | Gas tap |

| Position ID | Part number. | Replaces: | Description |
| 0601 | 12024441 | Frame | |
| 0602 | 10008228 | Screw | |
| 0603 | 00634163 | Clip | |
| 0604 | 10010298 | Washer | |
| 0605 | 10008224 | Screw | |
| 0606 | 00145749 | Grill grid | |
| 0607 | 11030956 | Heating element | |
| 0608 | 10008210 | Screw | |
| 0609 | 11030067 | Grill accessories | |
| 0610 | 11030015 | Tray for Ceramic Briquettes (for PABRICKBKW) | |
| 0611 | 00098049 | Salver | |
| 0612 | 12004405 | Temperature sensor | |
| 0613 | 10008210 | Screw | |
| 0614 | 00634165 | Bracket | |
| 0615 | 10008210 | Screw | |
| 0616 | 12026866 | Cable harness |

| Position ID | Part number. | Replaces: | Description |
| 0701 | 11032521 | Control module programmed | |
| 0701 | 12025831 | Control module not programmed | |
| 0702 | 00418283 | Support | |
| 0703 | 12024477 | 12034882 | Control module |
| 0704 | 12028138 | Limiter-temperature | |
| 0706 | 10005470 | Control module | |
| 0707 | 00489194 | Transformer | |
| 0709 | 10008933 | Clip | |
| 0710 | 10008207 | Ignition cable | |
| 0710 | 10010202 | Clip | |
| 0711 | 12024415 | Ignition cable | |
| 0712 | 12026846 | Cable harness | |
| 0713 | 12026871 | Cable harness | |
| 0714 | 12024414 | Cable harness | |
| 0715 | 12026845 | Cable harness | |
| 0716 | 12028077 | Cable harness set | |
| 0717 | 12026925 | Cable harness | |
| 0718 | 12026869 | Cable harness | |
| 0719 | 12026872 | Cable harness | |
| 0720 | 12026870 | Cable harness | |
| 0721 | 12024436 | Cable harness | |
| 0722 | 10010201 | Adapter | |
| 0723 | 12026868 | Cable harness | |
| 0730 | 12026865 | Cable harness | |
| 0708 | 12031987 | Connectivity module | |
| 0726 | 00423966 | Cable strap |

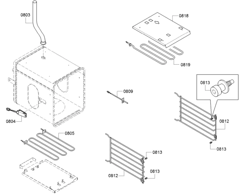
| Position ID | Part number. | Replaces: | Description |
| 0803 | 12004406 | Burner pipe | |
| 0804 | 10007424 | Lamp | |
| 0805 | 00709469 | Heating element | |
| 0809 | 00627375 | Temperature sensor | |
| 0812 | 10011396 | Bolt | |
| 0818 | 00741560 | Reflector | |
| 0819 | 00741559 | Heating element | |
| 0813 | 11030962 | Guide | |
| 0827 | 10011592 | Extension for inlet |

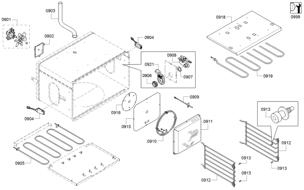
| Position ID | Part number. | Replaces: | Description |
| 0902 | 00447402 | Cover | |
| 0903 | 00494383 | Pipe connection piece | |
| 0904 | 10007424 | Lamp | |
| 0905 | 00709468 | Heating element | |
| 0906 | 10010225 | Nut | |
| 0908 | 00632039 | 10007567 | Socket |
| 0909 | 00627375 | Temperature sensor | |
| 0910 | 00640401 | Heating element | |
| 0912 | 00146140 | Support | |
| 0915 | 00706444 | Cover | |
| 0918 | 00688243 | Reflector | |
| 0919 | 00497632 | Heating element | |
| 0920 | 10011798 | Cable harness | |
| 0913 | 10011396 | Bolt | |
| 0901 | 00497756 | Motor | |
| 0911 | 20000143 | Cover | |
| 0916 | 00706444 | Cover | |
| 0999 | 12030862 | Repair-set | |
| 0921 | 10020313 | Cover |

| Position ID | Part number. | Replaces: | Description |
| 1003 | 10011167 | Limiter-temperature | |
| 1004 | 00628372 | Terminal | |
| 1006 | 00618400 | Switch-door | |
| 1007 | 10001186 | Plate | |
| 1008 | 10011170 | Bolt | |
| 1011 | 12026847 | Seal-door | |
| 1012 | 11030961 | Seal-door | |
| 1030 | 00648862 | Cable harness | |
| 1009 | 10001351 | Foot | |
| 1005 | 00651285 | Latch | |
| 1010 | 00649416 | Hinge-plate | |
| 1001 | 10020211 | Fan motor | |
| 1002 | 10020212 | Fan motor |

| Position ID | Part number. | Replaces: | Description |
| 1101 | 20000091 | Door-outer | |
| 1102 | 20000092 | Door-inner | |
| 1111 | 11032539 | Hinge | |
| 1103 | 10010275 | Screw | |
| 1104 | 10011398 | Bracket | |
| 1105 | 10011397 | Handle-cap shaped | |
| 1106 | 11033705 | Handle-door | |
| 1107 | 10011397 | Handle-cap shaped | |
| 1109 | 10010274 | Screw | |
| 1110 | 10008228 | Screw | |
| 1112 | 00618862 | Screw |

| Position ID | Part number. | Replaces: | Description |
| 1201 | 20000063 | Door-outer | |
| 1202 | 20000064 | Door-inner | |
| 1211 | 10011376 | Hinge | |
| 1203 | 10010275 | Screw | |
| 1204 | 10011398 | Bracket | |
| 1205 | 10011397 | Handle-cap shaped | |
| 1206 | 11032089 | Handle | |
| 1207 | 10011397 | Handle-cap shaped | |
| 1208 | 10010271 | Plate | |
| 1209 | 10010274 | Screw | |
| 1210 | 10008228 | Screw | |
| 1212 | 00618862 | Screw |

| Position ID | Part number. | Replaces: | Description |
| 1303 | 00774612 | 18″ Telescopic Rack | |
| 1304 | 00774613 | 30″ Telescopic Rack | |
| 1305 | 11013689 | Grill tray | |
| 1306 | 00484628 | 00449757 | Tray for Broiler Pan |
| 1307 | 00666710 | Broiler Pan | |
| 1308 | 00666709 | Tray for Broiler Pan | |
| 1309 | 10010207 | Bracket | |
| 1310 | 00753356 | Sensor | |
| 1301 | 00145306 | Grill grid | |
| 1302 | 00637940 | Grate Foot Replacement Kit |


















