Thermador PRD486WLGU-2 Dual Fuel Professional Range

Parts Description

| Position ID | Part number. | Replaces: | Description |
| 0101 | 00146137 | Back wall panel | |
| 0102 | 23000092 | Back panel | |
| 0103 | 00649417 | 00752161 | Cover |
| 0104 | 12028699 | Back panel | |
| 0105 | 20000392 | Panel side | |
| 0106 | 20000393 | Panel side | |
| 0108 | 00619081 | Connection piece | |
| 0109 | 12028700 | Plate | |
| 0107 | 10013545 | Latch |

| Position ID | Part number. | Replaces: | Description |
| 0201 | 12024418 | Module-relay | |
| 0202 | 12024417 | Module-relay | |
| 0203 | 00617931 | Display | |
| 0204 | 11032519 | Bracket | |
| 0205 | 00609115 | Switch | |
| 0206 | 11032495 | Display module not programmed | |
| 0207 | 11032497 | Display module not programmed | |
| 0207 | 11032504 | Display module programmed | |
| 0209 | 10010232 | Encoder | |
| 0210 | 11033021 | Light bar | |
| 0211 | 23000468 | Support | |
| 0213 | 20000030 | Panel-facia | |
| 0214 | 10008212 | Screw | |
| 0215 | 10008201 | Ring | |
| 0216 | 00418122 | Ring | |
| 0217 | 10010231 | Encoder | |
| 0218 | 10011598 | Knob | |
| 0219 | 10008199 | Knob | |
| 0221 | 10011596 | Knob | |
| 0222 | 10010228 | Ring | |
| 0223 | 10008226 | Bracket | |
| 0224 | 00629049 | Energy regulator | |
| 0225 | 00617886 | Display | |
| 0226 | 10008200 | Knob | |
| 0227 | 10010230 | Knob | |
| 0228 | 10008225 | Knob | |
| 0230 | 12026865 | Cable harness |
| 0206 | 12028852 | Display module programmed | |
| 0212 | 00623615 | Nut | |
| 0220 | 12034239 | Display-temperature |

| Position ID | Part number. | Replaces: | Description |
| 1201 | 20000151 | Door-outer | |
| 1202 | 20000152 | Door-inner | |
| 1203 | 10011927 | Bolt | |
| 1205 | 10011397 | Handle-cap shaped | |
| 1206 | 11033033 | Handle-door | |
| 1207 | 10011397 | Handle-cap shaped | |
| 1208 | 10010271 | Plate | |
| 1209 | 10010274 | Screw | |
| 1210 | 10008228 | Screw | |
| 1210 | 12022200 | Sensor | |
| 1211 | 11032543 | Hinge |

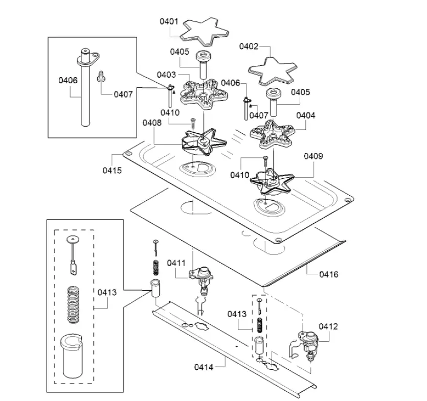
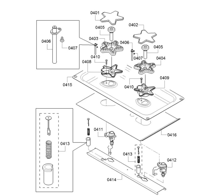
| Position ID | Part number. | Replaces: | Description |
| 0401 | 10004490 | Burner cap | |
| 0402 | 10004489 | Burner cap | |
| 0403 | 10004493 | Burner | |
| 0404 | 10004492 | Burner | |
| 0405 | 10004495 | Venturi nozzle | |
| 0406 | 10006471 | Electrode | |
| 0407 | 10008211 | Screw | |
| 0408 | 10004498 | Burner housing | |
| 0409 | 10004497 | Burner housing | |
| 0410 | 10004531 | Screw | |
| 0411 | 10006793 | Jet | |
| 0412 | 10006797 | Jet | |
| 0413 | 12007259 | Ignition device | |
| 0414 | 00701902 | Rail | |
| 0415 | 11013687 | Hob top | |
| 0416 | 10008221 | Heat shield |

| Position ID | Part number. | Replaces: | Description |
| 0601 | 12024441 | Frame | |
| 0602 | 10008228 | Screw | |
| 0603 | 00634163 | Clip | |
| 0606 | 00145749 | Grill grid | |
| 0607 | 11030956 | Heating element | |
| 0608 | 10008210 | Screw | |
| 0609 | 11030067 | Grill accessories | |
| 0610 | 11030015 | Tray for Ceramic Briquettes (for PABRICKBKW) | |
| 0611 | 00098049 | Salver | |
| 0612 | 12004405 | Temperature sensor | |
| 0613 | 10008210 | Screw | |
| 0614 | 00634165 | Bracket | |
| 0615 | 10008210 | Screw | |
| 0616 | 12026866 | Cable harness | |
| 0604 | 00321402 | Ring | |
| 0605 | 10008210 | Screw |

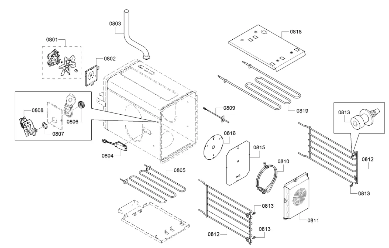
| Position ID | Part number. | Replaces: | Description |
| 0801 | 00497756 | Motor | |
| 0802 | 00489178 | Bracket | |
| 0803 | 00494383 | Pipe connection piece | |
| 0804 | 10007424 | Lamp | |
| 0805 | 00709469 | Heating element | |
| 0806 | 10010225 | Nut | |
| 0807 | 10010208 | Washer | |
| 0808 | 10008183 | Socket | |
| 0809 | 00627375 | Temperature sensor | |
| 0810 | 00750884 | Heater-ring | |
| 0811 | 12028706 | Cover | |
| 0812 | 11032546 | Support | |
| 0813 | 10011396 | Bolt | |
| 0814 | 12028136 | Adapter | |
| 0815 | 00706442 | Reflector | |
| 0816 | 00479238 | Cover | |
| 0818 | 00708175 | Plate | |
| 0819 | 11033032 | Heating element |

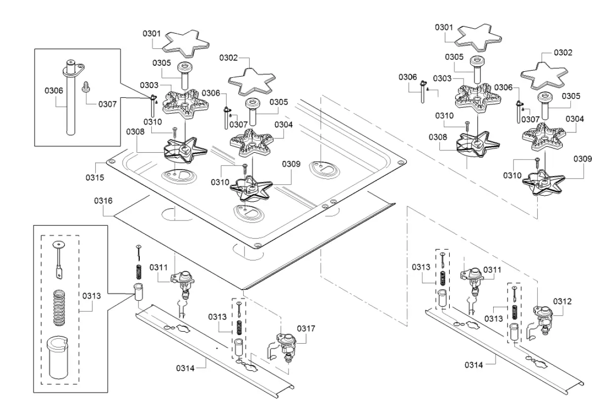
| Position ID | Part number. | Replaces: | Description |
| 0301 | 10004490 | Burner cap | |
| 0302 | 10004489 | Burner cap | |
| 0303 | 10004493 | Burner | |
| 0304 | 10004492 | Burner | |
| 0305 | 10004495 | Venturi nozzle | |
| 0306 | 10006471 | Electrode | |
| 0307 | 10008211 | Screw | |
| 0308 | 10004498 | Burner housing | |
| 0309 | 10004497 | Burner housing | |
| 0310 | 10004531 | Screw | |
| 0311 | 10006793 | Jet | |
| 0312 | 10006797 | Jet | |
| 0313 | 12007259 | Ignition device | |
| 0314 | 00701902 | Rail | |
| 0315 | 00687075 | Tray | |
| 0316 | 12024446 | Heat shield | |
| 0317 | 10006795 | Jet |

| Position ID | Part number. | Replaces: | Description |
| 0901 | 00497756 | Motor | |
| 0902 | 00489178 | Bracket | |
| 0903 | 00494383 | Pipe connection piece | |
| 0904 | 10007424 | Lamp | |
| 0905 | 00709468 | Heating element | |
| 0906 | 10010225 | Nut | |
| 0907 | 10010208 | Washer | |
| 0908 | 10008183 | Socket | |
| 0909 | 00627375 | Temperature sensor | |
| 0910 | 00640401 | Heating element | |
| 0911 | 20000143 | Cover | |
| 0912 | 11032546 | Support | |
| 0913 | 10011396 | Bolt | |
| 0914 | 12028136 | Adapter | |
| 0915 | 00706444 | Cover | |
| 0916 | 00479238 | Cover | |
| 0918 | 00687604 | Plate | |
| 0919 | 00431908 | Broil Element |

| Position ID | Part number. | Replaces: | Description |
| 0701 | 11032521 | Control module programmed | |
| 0701 | 12025831 | Control module not programmed | |
| 0702 | 00418283 | Support | |
| 0703 | 12024477 | 12034882 | Control module |
| 0704 | 12028088 | Cable harness | |
| 0706 | 10005470 | Control module | |
| 0707 | 00489194 | Transformer | |
| 0708 | 12028138 | Limiter-temperature | |
| 0709 | 10008933 | Clip | |
| 0710 | 10010202 | Clip | |
| 0711 | 10008207 | Ignition cable | |
| 0712 | 12024415 | Ignition cable | |
| 0713 | 12028088 | Cable harness | |
| 0714 | 12024414 | Cable harness | |
| 0715 | 12026845 | Cable harness | |
| 0716 | 12028138 | Limiter-temperature | |
| 0717 | 12026925 | Cable harness | |
| 0720 | 12026870 | Cable harness | |
| 0721 | 12028509 | Cable harness | |
| 0722 | 12024436 | Cable harness | |
| 0723 | 11032801 | Cable harness | |
| 0724 | 12028086 | Adapter | |
| 0725 | 12026872 | Cable harness | |
| 0726 | 12028087 | Cable harness | |
| 0727 | 12028082 | Cable harness | |
| 0728 | 12026869 | Cable harness | |
| 0730 | 12026846 | Cable harness |

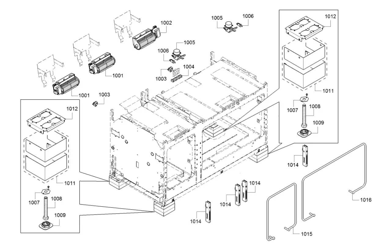
| Position ID | Part number. | Replaces: | Description |
| 1003 | 10011167 | Limiter-temperature | |
| 1004 | 00628372 | Terminal | |
| 1005 | 00651285 | Latch | |
| 1006 | 00618400 | Switch-door | |
| 1007 | 10001186 | Plate | |
| 1008 | 12013593 | Bolt | |
| 1009 | 10001351 | Foot | |
| 1012 | 12028141 | Cover | |
| 1014 | 00649416 | Hinge-plate | |
| 1015 | 12028710 | Seal-door | |
| 1016 | 20000145 | Seal-door | |
| 1030 | 00648862 | Cable harness | |
| 1011 | 10014059 | Cover | |
| 1001 | 10020211 | Fan motor | |
| 1002 | 10020212 | Fan motor | |
| 1099 | 12030965 | Repair-set |

| Position ID | Part number. | Replaces: | Description |
| 0501 | 11032438 | Gas tap | |
| 0502 | 11032439 | Gas tap | |
| 0503 | 11032863 | Gas tap | |
| 0504 | 11032862 | Gas tap | |
| 0505 | 11032440 | Gas tap | |
| 0506 | 11032441 | Gas tap | |
| 0510 | 00423093 | Valve | |
| 0512 | 10003806 | Valve | |
| 0512 | 10009155 | Valve | |
| 0513 | 20000265 | Manifold | |
| 0514 | 00420807 | Screw | |
| 0514 | 10003806 | Valve | |
| 0515 | 20000140 | Manifold | |
| 0516 | 20000265 | Manifold | |
| 0517 | 10009569 | Bracket | |
| 0522 | 10010270 | Pipe connection piece | |
| 0523 | 11033022 | Tub complete | |
| 0524 | 00754658 | Regulator-pressure | |
| 0525 | 10010200 | Adapter | |
| 0526 | 11033031 | Hose-inlet | |
| 0527 | 10011592 | Extension for inlet |

| Position ID | Part number. | Replaces: | Description |
| 1301 | 00145306 | Grill grid | |
| 1302 | 00637940 | Grate Foot Replacement Kit | |
| 1303 | 00774615 | 12” Telescopic Rack | |
| 1304 | 00774617 | 36” Telescopic Rack | |
| 1305 | 11013689 | Grill tray | |
| 1306 | 00484628 | 00449757 | Tray for Broiler Pan |
| 1307 | 00666709 | Tray for Broiler Pan | |
| 1308 | 00666710 | Broiler Pan | |
| 1309 | 10010207 | Bracket | |
| 1310 | 12022200 | Sensor |

| Position ID | Part number. | Replaces: | Description |
| 1101 | 20000149 | Door-outer | |
| 1102 | 20000150 | Door-inner | |
| 1103 | 10011927 | Bolt | |
| 1105 | 10011397 | Handle-cap shaped | |
| 1106 | 12028711 | Handle-door | |
| 1107 | 10011397 | Handle-cap shaped | |
| 1109 | 10010274 | Screw | |
| 1110 | 10008228 | Screw | |
| 1111 | 11032542 | Hinge | |
| 1112 | 10011608 | Screw |

| Position ID | Part number. | Replaces: | Description |
| 0501 | 11032438 | Gas tap | |
| 0502 | 11032439 | Gas tap | |
| 0503 | 11032863 | Gas tap | |
| 0504 | 11032862 | Gas tap | |
| 0505 | 11032440 | Gas tap | |
| 0506 | 11032441 | Gas tap | |
| 0510 | 00423093 | Valve | |
| 0512 | 10003806 | Valve | |
| 0512 | 10009155 | Valve | |
| 0513 | 20000265 | Manifold | |
| 0514 | 00420807 | Screw | |
| 0514 | 10003806 | Valve | |
| 0515 | 20000140 | Manifold | |
| 0516 | 20000265 | Manifold | |
| 0517 | 10009569 | Bracket | |
| 0522 | 10010270 | Pipe connection piece | |
| 0523 | 11033022 | Tub complete | |
| 0524 | 00754658 | Regulator-pressure | |
| 0525 | 10010200 | Adapter | |
| 0526 | 11033031 | Hose-inlet | |
| 0527 | 10011592 | Extension for inlet |

| Position ID | Part number. | Replaces: | Description |
| 0601 | 12024441 | Frame | |
| 0602 | 10008228 | Screw | |
| 0603 | 00634163 | Clip | |
| 0606 | 00145749 | Grill grid | |
| 0607 | 11030956 | Heating element | |
| 0608 | 10008210 | Screw | |
| 0609 | 11030067 | Grill accessories | |
| 0610 | 11030015 | Tray for Ceramic Briquettes (for PABRICKBKW) | |
| 0611 | 00098049 | Salver | |
| 0612 | 12004405 | Temperature sensor | |
| 0613 | 10008210 | Screw | |
| 0614 | 00634165 | Bracket | |
| 0615 | 10008210 | Screw | |
| 0616 | 12026866 | Cable harness | |
| 0604 | 00321402 | Ring | |
| 0605 | 10008210 | Screw |

| Position ID | Part number. | Replaces: | Description |
| 0101 | 00146137 | Back wall panel | |
| 0102 | 23000092 | Back panel | |
| 0103 | 00649417 | 00752161 | Cover |
| 0104 | 12028699 | Back panel | |
| 0105 | 20000392 | Panel side | |
| 0106 | 20000393 | Panel side | |
| 0108 | 00619081 | Connection piece | |
| 0109 | 12028700 | Plate | |
| 0107 | 10013545 | Latch |

| Position ID | Part number. | Replaces: | Description |
| 1301 | 00145306 | Grill grid | |
| 1302 | 00637940 | Grate Foot Replacement Kit | |
| 1303 | 00774615 | 12” Telescopic Rack | |
| 1304 | 00774617 | 36” Telescopic Rack | |
| 1305 | 11013689 | Grill tray | |
| 1306 | 00484628 | 00449757 | Tray for Broiler Pan |
| 1307 | 00666709 | Tray for Broiler Pan | |
| 1308 | 00666710 | Broiler Pan | |
| 1309 | 10010207 | Bracket | |
| 1310 | 12022200 | Sensor |

| Position ID | Part number. | Replaces: | Description |
| 0701 | 11032521 | Control module programmed | |
| 0701 | 12025831 | Control module not programmed | |
| 0702 | 00418283 | Support | |
| 0703 | 12024477 | 12034882 | Control module |
| 0704 | 12028088 | Cable harness | |
| 0706 | 10005470 | Control module | |
| 0707 | 00489194 | Transformer | |
| 0708 | 12028138 | Limiter-temperature | |
| 0709 | 10008933 | Clip | |
| 0710 | 10010202 | Clip | |
| 0711 | 10008207 | Ignition cable | |
| 0712 | 12024415 | Ignition cable | |
| 0713 | 12028088 | Cable harness | |
| 0714 | 12024414 | Cable harness | |
| 0715 | 12026845 | Cable harness | |
| 0716 | 12028138 | Limiter-temperature | |
| 0717 | 12026925 | Cable harness | |
| 0720 | 12026870 | Cable harness | |
| 0721 | 12028509 | Cable harness | |
| 0722 | 12024436 | Cable harness | |
| 0723 | 11032801 | Cable harness | |
| 0724 | 12028086 | Adapter | |
| 0725 | 12026872 | Cable harness | |
| 0726 | 12028087 | Cable harness | |
| 0727 | 12028082 | Cable harness | |
| 0728 | 12026869 | Cable harness | |
| 0730 | 12026846 | Cable harness |

| Position ID | Part number. | Replaces: | Description |
| 0801 | 00497756 | Motor | |
| 0802 | 00489178 | Bracket | |
| 0803 | 00494383 | Pipe connection piece | |
| 0804 | 10007424 | Lamp | |
| 0805 | 00709469 | Heating element | |
| 0806 | 10010225 | Nut | |
| 0807 | 10010208 | Washer | |
| 0808 | 10008183 | Socket | |
| 0809 | 00627375 | Temperature sensor | |
| 0810 | 00750884 | Heater-ring | |
| 0811 | 12028706 | Cover | |
| 0812 | 11032546 | Support | |
| 0813 | 10011396 | Bolt | |
| 0814 | 12028136 | Adapter | |
| 0815 | 00706442 | Reflector | |
| 0816 | 00479238 | Cover | |
| 0818 | 00708175 | Plate | |
| 0819 | 11033032 | Heating element |

| Position ID | Part number. | Replaces: | Description |
| 0401 | 10004490 | Burner cap | |
| 0402 | 10004489 | Burner cap | |
| 0403 | 10004493 | Burner | |
| 0404 | 10004492 | Burner | |
| 0405 | 10004495 | Venturi nozzle | |
| 0406 | 10006471 | Electrode | |
| 0407 | 10008211 | Screw | |
| 0408 | 10004498 | Burner housing | |
| 0409 | 10004497 | Burner housing | |
| 0410 | 10004531 | Screw | |
| 0411 | 10006793 | Jet | |
| 0412 | 10006797 | Jet | |
| 0413 | 12007259 | Ignition device | |
| 0414 | 00701902 | Rail | |
| 0415 | 11013687 | Hob top | |
| 0416 | 10008221 | Heat shield |

| Position ID | Part number. | Replaces: | Description |
| 1101 | 20000149 | Door-outer | |
| 1102 | 20000150 | Door-inner | |
| 1103 | 10011927 | Bolt | |
| 1105 | 10011397 | Handle-cap shaped | |
| 1106 | 12028711 | Handle-door | |
| 1107 | 10011397 | Handle-cap shaped | |
| 1109 | 10010274 | Screw | |
| 1110 | 10008228 | Screw | |
| 1111 | 11032542 | Hinge | |
| 1112 | 10011608 | Screw |

| Position ID | Part number. | Replaces: | Description |
| 1201 | 20000151 | Door-outer | |
| 1202 | 20000152 | Door-inner | |
| 1203 | 10011927 | Bolt | |
| 1205 | 10011397 | Handle-cap shaped | |
| 1206 | 11033033 | Handle-door | |
| 1207 | 10011397 | Handle-cap shaped | |
| 1208 | 10010271 | Plate | |
| 1209 | 10010274 | Screw | |
| 1210 | 10008228 | Screw | |
| 1210 | 12022200 | Sensor | |
| 1211 | 11032543 | Hinge |

| Position ID | Part number. | Replaces: | Description |
| 0301 | 10004490 | Burner cap | |
| 0302 | 10004489 | Burner cap | |
| 0303 | 10004493 | Burner | |
| 0304 | 10004492 | Burner | |
| 0305 | 10004495 | Venturi nozzle | |
| 0306 | 10006471 | Electrode | |
| 0307 | 10008211 | Screw | |
| 0308 | 10004498 | Burner housing | |
| 0309 | 10004497 | Burner housing | |
| 0310 | 10004531 | Screw | |
| 0311 | 10006793 | Jet | |
| 0312 | 10006797 | Jet | |
| 0313 | 12007259 | Ignition device | |
| 0314 | 00701902 | Rail | |
| 0315 | 00687075 | Tray | |
| 0316 | 12024446 | Heat shield | |
| 0317 | 10006795 | Jet |

| Position ID | Part number. | Replaces: | Description |
| 1003 | 10011167 | Limiter-temperature | |
| 1004 | 00628372 | Terminal | |
| 1005 | 00651285 | Latch | |
| 1006 | 00618400 | Switch-door | |
| 1007 | 10001186 | Plate | |
| 1008 | 12013593 | Bolt | |
| 1009 | 10001351 | Foot | |
| 1012 | 12028141 | Cover | |
| 1014 | 00649416 | Hinge-plate | |
| 1015 | 12028710 | Seal-door | |
| 1016 | 20000145 | Seal-door | |
| 1030 | 00648862 | Cable harness | |
| 1011 | 10014059 | Cover | |
| 1001 | 10020211 | Fan motor | |
| 1002 | 10020212 | Fan motor | |
| 1099 | 12030965 | Repair-set |

| Position ID | Part number. | Replaces: | Description |
| 0901 | 00497756 | Motor | |
| 0902 | 00489178 | Bracket | |
| 0903 | 00494383 | Pipe connection piece | |
| 0904 | 10007424 | Lamp | |
| 0905 | 00709468 | Heating element | |
| 0906 | 10010225 | Nut | |
| 0907 | 10010208 | Washer | |
| 0908 | 10008183 | Socket | |
| 0909 | 00627375 | Temperature sensor | |
| 0910 | 00640401 | Heating element | |
| 0911 | 20000143 | Cover | |
| 0912 | 11032546 | Support | |
| 0913 | 10011396 | Bolt | |
| 0914 | 12028136 | Adapter | |
| 0915 | 00706444 | Cover | |
| 0916 | 00479238 | Cover | |
| 0918 | 00687604 | Plate | |
| 0919 | 00431908 | Broil Element |

| Position ID | Part number. | Replaces: | Description |
| 0201 | 12024418 | Module-relay | |
| 0202 | 12024417 | Module-relay | |
| 0203 | 00617931 | Display | |
| 0204 | 11032519 | Bracket | |
| 0205 | 00609115 | Switch | |
| 0206 | 11032495 | Display module not programmed | |
| 0207 | 11032497 | Display module not programmed | |
| 0207 | 11032504 | Display module programmed | |
| 0209 | 10010232 | Encoder | |
| 0210 | 11033021 | Light bar | |
| 0211 | 23000468 | Support | |
| 0213 | 20000030 | Panel-facia | |
| 0214 | 10008212 | Screw | |
| 0215 | 10008201 | Ring | |
| 0216 | 00418122 | Ring | |
| 0217 | 10010231 | Encoder | |
| 0218 | 10011598 | Knob | |
| 0219 | 10008199 | Knob | |
| 0221 | 10011596 | Knob | |
| 0222 | 10010228 | Ring | |
| 0223 | 10008226 | Bracket | |
| 0224 | 00629049 | Energy regulator | |
| 0225 | 00617886 | Display | |
| 0226 | 10008200 | Knob | |
| 0227 | 10010230 | Knob | |
| 0228 | 10008225 | Knob | |
| 0230 | 12026865 | Cable harness |
| 0206 | 12028852 | Display module programmed | |
| 0212 | 00623615 | Nut | |
| 0220 | 12034239 | Display-temperature |


















