Thermador PRD48WDSGU-2 Dual Fuel Professional Range

Product Information
This product is a kitchen appliance that includes various parts such as a motor bracket, pipe connection piece, lamp, heating element, nut, socket, temperature sensor, cover, guide bolt, deflector, washer, hard water test strip, back wall panel, cover panel, latch, door-outer, door-inner, burner cap, burner, venture nozzle, electrode, ignition device, rail, hob top, fan motor, limiter-temperature terminal, switch-door, control module, transformer, steam module, relay, PC board assembly-mains power, cable harness and connectivity module.
Product Usage Instructions
Before using the kitchen appliance, make sure that all the parts are properly installed according to the instruction manual. Use the hard water test strip to determine the level of hardness of the water used in the appliance.
To use the appliance:
- Turn on the appliance using the control module or switch-door.
- Select the desired temperature using the temperature sensor.
- The motor bracket and fan motor will circulate hot air inside the appliance for even cooking or heating.
- If necessary, use the steam module to add moisture to the food being cooked.
- After use, turn off the appliance and unplug it from the electrical outlet.
- Clean the appliance and its parts as instructed in the user manual.
For any issues or concerns with the appliance or its parts, refer to the user manual for troubleshooting and contact customer service for further assistance.
Assembly Instruction

| Position ID | Part number. | Replaces: | Description |
| 1001 | 00497756 | Motor | |
| 1002 | 00489178 | Bracket | |
| 1003 | 00494383 | Pipe connection piece | |
| 1004 | 10007424 | Lamp | |
| 1005 | 00709468 | Heating element | |
| 1006 | 10010225 | Nut | |
| 1008 | 10008183 | Socket | |
| 1009 | 00627375 | Temperature sensor | |
| 1010 | 00640401 | Heating element | |
| 1011 | 20000143 | Cover | |
| 1012 | 20000159 | Guide | |
| 1013 | 10011396 | Bolt | |
| 1015 | 00706444 | Cover | |
| 1016 | 00479238 | Cover | |
| 1018 | 00774121 | Deflector | |
| 1019 | 12028075 | Heating element | |
| 1007 | 00605039 | Washer | |
| 8130 | 00056317 | Hard Water Test Strip |

58300000218964 aet 0 00 b 1/15
| Position ID | Part number. | Replaces: | Description |
| 0101 | 00146137 | Back wall panel | |
| 0102 | 23000093 | Back panel | |
| 0103 | 00649417 | 00752161 | Cover |
| 0104 | 11033216 | Panel | |
| 0105 | 20000392 | Panel side | |
| 0106 | 00146151 | Panel | |
| 0108 | 00619081 | Connection piece | |
| 0109 | 12028700 | Plate | |
| 0107 | 10013545 | Latch | |
| 8130 | 00056317 | Hard Water Test Strip |

58300000218964 aet 000 b 14/15
| Position ID | Part number. | Replaces: | Description |
| 1401 | 20000153 | Door-outer | |
| 1402 | 20000154 | Door-inner | |
| 1403 | 10011927 | Bolt | |
| 1405 | 10011397 | Handle-cap shaped | |
| 1406 | 11033707 | Handle-door | |
| 1407 | 10011397 | Handle-cap shaped | |
| 1408 | 10010271 | Plate | |
| 1409 | 10010274 | Screw | |
| 1410 | 10008228 | Screw | |
| 1411 | 11032544 | Hinge | |
| 1412 | 00618862 | Screw | |
| 8130 | 00056317 | Hard Water Test Strip |

58300000218964 aet 000 b 4/15
| Position ID | Part number. | Replaces: | Description |
| 0401 | 10004490 | Burner cap | |
| 0402 | 10004489 | Burner cap | |
| 0403 | 10004493 | Burner | |
| 0404 | 10004492 | Burner | |
| 0405 | 10004495 | Venturi nozzle | |
| 0406 | 10006471 | Electrode | |
| 0408 | 10004498 | Burner housing | |
| 0409 | 10004497 | Burner housing | |
| 0411 | 10006793 | Jet | |
| 0412 | 10006797 | Jet | |
| 0413 | 12007259 | Ignition device | |
| 0414 | 00701902 | Rail | |
| 0415 | 11013687 | Hob top | |
| 0416 | 10008221 | Heat shield | |
| 0407 | 10008211 | Screw | |
| 0410 | 10004531 | Screw | |
| 8130 | 00056317 | Hard Water Test Strip |

58300000218964 aet 000 b 2/15
| Position ID | Part number. | Replaces: | Description |
| 1201 | 11032088 | Fan motor | |
| 1202 | 11032087 | Fan motor | |
| 1203 | 10011167 | Limiter-temperature | |
| 1204 | 00628372 | Terminal | |
| 1205 | 00651285 | Latch | |
| 1206 | 00618400 | Switch-door | |
| 1207 | 10001186 | Plate | |
| 1208 | 12013593 | Bolt | |
| 1209 | 10001351 | Foot | |
| 1212 | 12028141 | Cover | |
| 1216 | 00645704 | Seal-door | |
| 1217 | 12028892 | Seal | |
| 1218 | 20000144 | Seal-door | |
| 1230 | 00648862 | Cable harness | |
| 1214 | 00655554 | Receiver | |
| 1215 | 00623545 | Receiver | |
| 1211 | 10014059 | Cover | |
| 1299 | 12030965 | Repair-set | |
| 8130 | 00056317 | Hard Water Test Strip |

58300000218964 aet 000 b 7/15
| Position ID | Part number. | Replaces: | Description |
| 0701 | 11032521 | Control module programmed | |
| 0701 | 12025831 | Control module not programmed | |
| 0702 | 00418283 | Support | |
| 0704 | 12028138 | Limiter-temperature | |
| 0706 | 10005470 | Control module | |
| 0707 | 00489194 | Transformer | |
| 0709 | 10008933 | Clip | |
| 0710 | 10010202 | Clip | |
| 0711 | 12028887 | Steam module not programmed | |
| 0711 | 12028888 | Steam module programmed | |
| 0712 | 10008169 | Relay | |
| 0713 | 12004817 | PC board assembly-mains power | |
| 0714 | 12024414 | Cable harness | |
| 0715 | 12026845 | Cable harness | |
| 0716 | 12028077 | Cable harness set | |
| 0717 | 12026925 | Cable harness | |
| 0718 | 12024436 | Cable harness | |
| 0720 | 12026870 | Cable harness | |
| 0721 | 12028509 | Cable harness | |
| 0723 | 12026868 | Cable harness | |
| 0724 | 12028086 | Adapter | |
| 0725 | 12028889 | Cable harness | |
| 0727 | 12028082 | Cable harness | |
| 0728 | 10008207 | Ignition cable | |
| 0729 | 12024415 | Ignition cable | |
| 0730 | 12026846 | Cable harness | |
| 0740 | 12028069 | Cable harness |
| 0741 | 00655580 | Cable harness | |
| 0742 | 12028081 | Adapter | |
| 0743 | 12012945 | Adapter | |
| 0731 | 12028089 | Cable harness | |
| 0744 | 12028136 | Adapter | |
| 0708 | 12031987 | Connectivity module | |
| 8130 | 00056317 | Hard Water Test Strip |

58300000218964 aet 000 b 6/15
| Position ID | Part number. | Replaces: | Description |
| 0201 | 12024418 | Module-relay | |
| 0202 | 12024417 | Module-relay | |
| 0203 | 00617931 | Display | |
| 0204 | 11032519 | Bracket | |
| 0205 | 00609115 | Switch | |
| 0206 | 11032495 | Display module not programmed | |
| 0207 | 11032497 | Display module not programmed | |
| 0207 | 11032506 | Display module programmed | |
| 0209 | 12028076 | Encoder | |
| 0210 | 11033021 | Light bar | |
| 0211 | 23000468 | Support | |
| 0213 | 20000034 | Panel-facia | |
| 0214 | 10008212 | Screw | |
| 0215 | 10008201 | Ring | |
| 0216 | 00418122 | Ring | |
| 0217 | 10010231 | Encoder | |
| 0218 | 10011598 | Knob | |
| 0219 | 10008199 | Knob | |
| 0221 | 10011597 | Knob | |
| 0222 | 10010228 | Ring | |
| 0224 | 10000773 | Regulator-temperature | |
| 0225 | 00617886 | Display | |
| 0226 | 10008200 | Knob | |
| 0227 | 10010230 | Knob | |
| 0228 | 10009568 | Knob | |
| 0229 | 10010232 | Encoder | |
| 0230 | 10011595 | Knob-temperature |
| 0206 | 12028857 | Display module programmed | |
| 0212 | 00623615 | Nut | |
| 0220 | 12034239 | Display-temperature | |
| 8130 | 00056317 | Hard Water Test Strip |

58300000218964 aet 000 b 13/15
| Position ID | Part number. | Replaces: | Description |
| 0601 | 00778241 | Griddle | |
| 0602 | 12024437 | Tray | |
| 0603 | 12028074 | Heating element | |
| 0604 | 12024439 | Retaining plate | |
| 0605 | 12024438 | Insulating part | |
| 0606 | 12028085 | Cable harness | |
| 8130 | 00056317 | Hard Water Test Strip |

58300000218964 aet 000 b 8/15
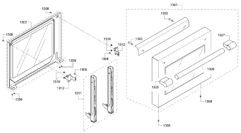
| Position ID | Part number. | Replaces: | Description |
| 1301 | 20000147 | Door | |
| 1302 | 20000637 | Glass plate door | |
| 1303 | 10011927 | Bolt | |
| 1305 | 10011397 | Handle-cap shaped | |
| 1306 | 12028890 | Handle-door | |
| 1307 | 10011397 | Handle-cap shaped | |
| 1308 | 00618862 | Screw | |
| 1309 | 10008228 | Screw | |
| 1310 | 10011608 | Screw | |
| 1311 | 11032540 | Hinge | |
| 1312 | 11033378 | Retaining plate | |
| 8130 | 00056317 | Hard Water Test Strip |

58300000218964 aet 000 b 11/15
| Position ID | Part number. | Replaces: | Description |
| 0801 | 12022204 | Fan | |
| 0803 | 00655834 | Seal | |
| 0804 | 00623923 | Bolt | |
| 0805 | 00655835 | Seal | |
| 0806 | 00655759 | Lamp | |
| 0807 | 00429173 | Limiter-temperature | |
| 0808 | 00623543 | Seal | |
| 0809 | 00608933 | Temperature sensor | |
| 0810 | 00750884 | Heater-ring | |
| 0811 | 00706789 | Cover | |
| 0812 | 10012022 | Nut | |
| 0813 | 00741834 | Grille | |
| 0814 | 00741833 | Grille | |
| 0815 | 00614466 | Drive | |
| 0816 | 00655612 | Spring | |
| 0817 | 00623606 | Clip | |
| 0818 | 00659285 | Flap | |
| 0819 | 00623544 | Seal | |
| 0820 | 00623615 | Nut | |
| 8130 | 00056317 | Hard Water Test Strip |

58300000218964 aet 000 b 3/15
| Position ID | Part number. | Replaces: | Description |
| 1101 | 10011167 | Limiter-temperature | |
| 1102 | 00655613 | Temperature sensor | |
| 1103 | 11033217 | Heating element | |
| 1104 | 11033259 | Frame | |
| 1108 | 11033218 | Frame | |
| 1110 | 11033219 | Retaining plate | |
| 1111 | 10010275 | Screw | |
| 1112 | 10012025 | Panel-facia | |
| 1113 | 10011397 | Handle-cap shaped | |
| 1114 | 12028890 | Handle-door | |
| 1115 | 10011397 | Handle-cap shaped | |
| 1116 | 12028891 | Insulating part | |
| 1109 | 10008224 | Screw | |
| 1105 | 11033905 | Base | |
| 1106 | 00709841 | Slide | |
| 1107 | 00658253 | Slide | |
| 8130 | 00056317 | Hard Water Test Strip |

58300000218964 aet 000b 9/15
| Position ID | Part number. | Replaces: | Description |
| 0301 | 10004490 | Burner cap | |
| 0302 | 10004489 | Burner cap | |
| 0303 | 10004493 | Burner | |
| 0304 | 10004492 | Burner | |
| 0305 | 10004495 | Venturi nozzle | |
| 0306 | 10006471 | Electrode | |
| 0308 | 10004498 | Burner housing | |
| 0309 | 10004497 | Burner housing | |
| 0311 | 10006793 | Jet | |
| 0312 | 10006797 | Jet | |
| 0313 | 12007259 | Ignition device | |
| 0314 | 00701902 | Rail | |
| 0315 | 00687075 | Tray | |
| 0316 | 12024446 | Heat shield | |
| 0317 | 10006795 | Jet | |
| 0307 | 10008211 | Screw | |
| 0310 | 10004531 | Screw | |
| 8130 | 00056317 | Hard Water Test Strip |

58300000218964 aet 000 b 5/15
| Position ID | Part number. | Replaces: | Description |
| 0901 | 12028083 | Water tank | |
| 0902 | 12004447 | Salver | |
| 0903 | 00643179 | Sealing | |
| 0904 | 10012026 | Nut | |
| 0905 | 10012023 | Hose-inlet | |
| 0906 | 00608739 | Valve-magnet | |
| 0907 | 00644010 | Holder | |
| 0908 | 10012024 | Hose-vent | |
| 0909 | 00745311 | Trimplate | |
| 0911 | 00647003 | PC board | |
| 0910 | 00614780 | Nut | |
| 8130 | 00056317 | Hard Water Test Strip |

| Position ID | Part number. | Replaces: | Description |
| 1503 | 00623653 | Sponge for Steam Convection Ovens | |
| 1504 | 00774616 | 30” Telescopic Rack | |
| 1505 | 11013689 | Grill tray | |
| 1506 | 00484628 | 00449757 | Tray for Broiler Pan |
| 1507 | 11006670 | Wire Rack for Steam Ovens | |
| 1508 | 11014476 | Cooking dish GN | |
| 1509 | 00664949 | Unperforated Steam Oven Baking Tray (Large) | |
| 1510 | 00577553 | Perforated Steam Oven Pan (Small) | |
| 1511 | 00577552 | Unperforated Steam Oven Pan (Small) | |
| 1512 | 12022200 | Sensor | |
| 1513 | 10010207 | Bracket | |
| 1501 | 00145306 | Grill grid | |
| 1502 | 00637940 | Grate Foot Replacement Kit | |
| 8130 | 00056317 | Hard Water Test Strip |

| Position ID | Part number. | Replaces: | Description |
| 0501 | 11032438 | Gas tap | |
| 0502 | 11032439 | Gas tap | |
| 0503 | 11032863 | Gas tap | |
| 0504 | 11032862 | Gas tap | |
| 0505 | 11032440 | Gas tap | |
| 0506 | 11032441 | Gas tap | |
| 0510 | 00423093 | Valve | |
| 0512 | 10003806 | Valve | |
| 0513 | 10009155 | Valve | |
| 0514 | 00420807 | Screw | |
| 0515 | 20000265 | Manifold | |
| 0516 | 20000140 | Manifold | |
| 0517 | 10009569 | Bracket | |
| 0522 | 10010270 | Pipe connection piece | |
| 0523 | 11033022 | Tub complete | |
| 0524 | 00754658 | Regulator-pressure | |
| 0525 | 10010200 | Adapter | |
| 0526 | 11033031 | Hose-inlet | |
| 0527 | 10011592 | Extension for inlet | |
| 8130 | 00056317 | Hard Water Test Strip |




















