
# 10-924
FLIP STOP for RIKON’s 6” Tall Deluxe Rip Fence
10-924 6 Inch Tall Deluxe Rip Fence
RIKON’s #10-924 Flip Stop attaches quickly to the extruded aluminum 6” tall fences on RIKON’s 14” and larger bandsaws, providing an adjustable stop system for cutting tenons or multiple samedimension parts for projects. Includes a long front stop that will flip up out of the way to use the bandsaw for normal ripping use.
The Flip Stop can be used with the fence in the upright or low profile setting. It easily attaches to the top lip of the fence with its eccentric shaft’s cam lever end.
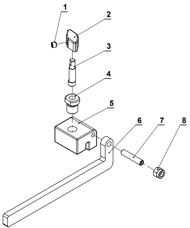
- Install the Flip Stop Assembly onto the top lip of the fence, making sure that the Eccentric Shaft’s (Part #3) cam end is not activated. Turn the Handle (#2) counterclockwise to release the cam.
- Set the Assembly on the fence at the exact position needed for your bandsawing project. Use the Long Stop (#6) flipped down for this measurement from the bandsaw blade’s teeth.
- Secure the Assembly in place with the Handle, turning it clockwise to lock the Assembly on the fence with the Eccentric Shaft’s cam.
- To move or remove the Assembly, just turn the Handle counterclockwise to release the cam lock.
NOTE: With the fence in the HIGH position, the Long Stop (#6) is used. (Photo A).
With the fence in the LOW position, the Long Stop is NOT used and must be removed. The end of the Flip Stop Body (#5) is used as a solid stop. (See Photo B).
To remove the Long Stop Assembly (parts #6, 7, 8) a 10mm (13/32”) or adjustable wrench is required.


| NO. | DESCRIPTION |
| 1 | Set Screw M6x5 |
| 2 | Handle |
| 3 | Eccentric Shaft |
| 4 | Threaded Bushing |
| 5 | Flip Stop Body |
| 6 | Long Stop |
| 7 | Set Screw M6x30 |
| 8 | Locking Hex Nut M6 |
| – | Hex Wrench 3mm |
RIKON Power Tools, Inc., North Andover,
MA 01845 877-884-5167
www.rikontools.com
Made in China















