WEN DC3401 Rolling Dust Collector
Instruction Manual
NEED HELP? CONTACT US!
Have product questions? Need technical support? Please feel free to contact us:
1-800-232-1195 (M-F 8AM-5PM CST)
[email protected]
IMPORTANT: Your new tool has been engineered and manufactured to WEN’s highest standards for dependability, ease of operation, and operator safety. When properly cared for, this product will supply you with years of rugged, trouble-free performance. Pay close attention to the rules for safe operation, warnings, and cautions. If you use your tool properly and for its intended purpose, you will enjoy years of safe, reliable service.
For replacement parts and the most up-to-date instruction manuals, visit WENPRODUCTS.COM
To purchase accessories for your tool, visit WENPRODUCTS.COM
Replacement Collection Bag (Part No. 3401-020B)
10-Foot Dust Hose (Model 28200)
20-Foot Dust Hose (Model 28221)
INTRODUCTION
Thanks for purchasing the WEN Dust Collector. We know you are excited to put your tool to work, but first, please take a moment to read through the manual. Safe operation of this tool requires that you read and understand this operator’s manual and all the labels affixed to the tool. This manual provides information regarding potential safety concerns, as well as helpful assembly and operating instructions for your tool.
Indicates danger, warning, or caution. The safety symbols and the explanations with them deserve your careful attention and understanding. Always follow safety precautions to reduce the risk of fire, electric shock, or personal injury. However, please note that these instructions and warnings are not substitutes for proper accident prevention measures.
NOTE: The following safety information is not meant to cover all possible conditions and situations that may occur. WEN reserves the right to change this product and specifications at any time without prior notice.
At WEN, we are continuously improving our products. If you find that your tool does not exactly match this manual, please visit wenproducts.com for the most up-to-date manual or contact our customer service at 1-800-232-1195.
Keep this manual available to all users during the entire life of the tool and review it frequently to maximize safety for both yourself and others.
SPECIFICATIONS
| Model number | DC3401 |
| Motor | 120V, 60 Hz, 5.7A |
| Motor Speed | 4500 RPM |
| Air Suction Capacity | 660 CFM |
| Impeller Diameter | 6 Inches (152.4mm) |
| Inlet Hole Diameter | 4 Inches (100mm) |
| Collection Bag Capacity | 12 Gallons |
| Collection Bag Filtration Rating | 5 Microns |
| Noise Rating (At 22 Feet) | 71 dBA |
| Product Dimensions | 34.25 in. x 13 in. x 14.2 in. |
| Product Weight | 17 Pounds |
GENERAL SAFETY RULES
WARNING! Read all safety warnings and all instructions. Failure to follow the warnings and instructions may result in electric shock, fire, and/or serious injury.
Safety is a combination of common sense, staying alert, and knowing how your item works. The term “power tool” in the warnings refers to your mains-operated (corded) power tool or battery-operated (cordless) power tool.
SAVE THESE SAFETY INSTRUCTIONS.
WORK AREA SAFETY
- Keep the work area clean and well-lit. Cluttered or dark areas invite accidents.
- Do not operate power tools in explosive atmospheres, such as in the presence of flammable liquids, gases, or dust. Power tools create sparks that may ignite dust or fumes.
- Keep children and bystanders away while operating a power tool. Distractions can cause you to lose control.
ELECTRICAL SAFETY
- Power tool plugs must match the outlet. Never modify the plug in any way. Do not use any adapter plugs with earthed (grounded) power tools. Unmodified plugs and matching outlets will reduce the risk of electric shock.
- Avoid body contact with earthed or grounded surfaces such as pipes, radiators, ranges, and refrigerators. There is an increased risk of electric shock if your body is earthed or grounded.
- Do not expose power tools to rain or wet conditions. Water entering a power tool will increase the risk of electric shock.
- Do not abuse the cord. Never use the cord for carrying, pulling, or unplugging the power tool. Keep cord away from heat, oil, sharp edges, or moving parts. Damaged or entangled cords increase the risk of electric shock.
- When operating a power tool outdoors, use an extension cord suitable for outdoor use. The use of a cord suitable for outdoor use reduces the risk of electric shock.
- If operating a power tool in a damp location is unavoidable, use a ground fault circuit interrupter (GFCI) protected supply. The use of a GFCI reduces the risk of electric shock.
PERSONAL SAFETY
- Stay alert, watch what you are doing, and use common sense when operating a power tool. Do not use a power tool while you are tired or under the influence of drugs, alcohol, or medication. A moment of inattention while operating power tools may result in serious personal injury.
- Use personal protective equipment. Always wear eye protection. Protective equipment such as a respiratory mask, non-skid safety shoes, and hearing protection used for appropriate conditions will reduce the risk of personal injury.
- Prevent unintentional starting. Ensure the switch is in the off-position before connecting to a power source and/or battery pack, picking up or carrying the tool. Carrying power tools with your finger on the switch or energizing power tools that have the switch on invites accidents.
- Remove any adjusting key or wrench before turning the power tool on. A wrench or a key left attached to a rotating part of the power tool may result in personal injury.
- Do not overreach. Keep proper footing and balance at all times. This enables better control of the power tool in unexpected situations.
- Dress properly. Do not wear loose clothing or jewelry. Keep your hair and clothing away from moving parts. Loose clothes, jewelry, or long hair can be caught in moving parts.
- If devices are provided for the connection of dust extraction and collection facilities, ensure these are connected and properly used. The use of dust collection can reduce dust-related hazards.
WARNING! Read all safety warnings and all instructions. Failure to follow the warnings and instructions may result in electric shock, fire and/or serious injury.
Safety is a combination of common sense, staying alert, and knowing how your item works. The term “power tool” in the warnings refers to your mains-operated (corded) power tool or battery-operated (cordless) power tool.
POWER TOOL USE AND CARE
- Do not force the power tool. Use the correct power tool for your application. The correct power tool will do the job better and safer at the rate at which it was designed.
- Do not use the power tool if the switch does not turn on and off. Any power tool that cannot be controlled with the switch is dangerous and must be repaired.
- Disconnect the plug from the power source and/or the battery pack from the power tool before making any adjustments, changing accessories, or storing power tools. Such preventive safety measures reduce the risk of starting the power tool accidentally.
- Store idle power tools out of the reach of children and do not allow persons unfamiliar with the power tool or these instructions to operate the power tool. Power tools are dangerous in the hands of untrained users.
- Maintain power tools. Check for misalignment or binding of moving parts, breakage of parts, and any other condition that may affect the power tool’s operation. If damaged, have the power tool repaired before use. Many accidents are caused by poorly maintained power tools.
- Keep cutting tools sharp and clean. Properly maintained cutting tools with sharp cutting edges are less likely to bind and are easier to control.
Use the power tool, accessories and tool bits, etc. in accordance with these instructions, taking into account the working conditions and the work to be performed. Use of the power tool for operations different from those intended could result in a hazardous situation.
- Use clamps to secure your workpiece to a stable surface. Holding a workpiece by hand or using your body to support it may lead to loss of control.
- KEEP GUARDS IN PLACE and in working order.
SERVICE
- Have your power tool serviced by a qualified repair person using only identical replacement parts. This will ensure that the safety of the power tool is maintained.
CALIFORNIA PROPOSITION 65 WARNING
Some dust created by power sanding, sawing, grinding, drilling, and other construction activities may contain chemicals, including lead, known to the State of California to cause cancer, birth defects, or other reproductive harm. Wash hands after handling. Some examples of these chemicals are:
- Lead from lead-based paints.
- Crystalline silica from bricks, cement, and other masonry products.
- Arsenic and chromium from chemically treated lumber.
Your risk from these exposures varies depending on how often you do this type of work. To reduce your exposure to these chemicals, work in a well-ventilated area with approved safety equipment such as dust masks specially designed to filter out microscopic particles.
DUST COLLECTOR SAFETY WARNINGS
WARNING! Do not let comfort or familiarity with the product replace strict adherence to product safety rules. Failure to follow the safety instructions may result in serious personal injury.
DUST COLLECTOR SAFETY
- This dust collector is intended only for collecting wood dust and chips from woodworking machines. Do not use a dust collector for anything except wood dust. Material such as liquids, aerosols, metal dust, screws, glass, plastic, or rock can cause sparks when coming into contact with any part of the collection system.
- Never allow steel to come into contact with the impeller. Impact with any hard material may result in sparks which may cause a fire. Be mindful of any situation that results in a risk of fire.
- Dust created while using machinery may cause cancer, birth defects, or long-term respiratory damage. Be aware of dust hazards associated with each workpiece material and always wear a NIOSH-approved respirator.
- Do not place your hands, lumber, or tools near the inlet opening while the machine is plugged in or during operation. Keep animals and children away from open dust collection inlets.
- Regularly check and empty the collection bag to avoid the buildup of fine dust that can increase the risk of fire. Regularly clean the surrounding area of the machine. Excessive dust buildup on heat sources such as overhead lights and electrical panels will increase the risk of fire.
- Always wear a respirator and safety glasses when removing, emptying, or replacing the collection bag. Empty dust away from ignition sources and into a suitable container.
These safety instructions can’t possibly warn of every scenario that may arise with this tool, always make sure to stay alert and use common sense during operation.
ELECTRICAL INFORMATION
GROUNDING INSTRUCTIONS
In the event of a malfunction or breakdown, grounding provides the path of least resistance for an electric current and reduces the risk of electric shock. This tool is equipped with an electric cord that has an equipment grounding conductor and a grounding plug. The plug MUST be plugged into a matching outlet that is properly installed and grounded in accordance with ALL local codes and ordinances.
- Do not modify the plug provided. If it will not fit the outlet, have the proper outlet installed by a licensed electrician.
- Improper connection of the equipment-grounding conductor can result in electric shock. The conductor with the green insulation (with or without yellow stripes) is the equipment grounding conductor. If repair or replacement of the electric cord or plug is necessary, DO NOT connect the equipment grounding conductor to a live terminal.
- Check with a licensed electrician or service personnel if you do not completely understand the grounding instructions or whether the tool is properly grounded.
- Use only three-wire extension cords that have three-pronged plugs and outlets that accept the tool’s plug. Repair or replace a damaged or worn cord immediately.
CAUTION! In all cases, make certain the outlet in question is properly grounded. If you are not sure, have a licensed electrician check the outlet.
GUIDELINES AND RECOMMENDATIONS FOR EXTENSION CORDS
When using an extension cord, be sure to use one heavy enough to carry the current your product will draw. An undersized cord will cause a drop in line voltage resulting in loss of power and overheating. The table below shows the correct size to be used according to cord length and ampere rating. When in doubt, use a heavier cord. The smaller the gauge number, the heavier the cord.
| AMPERAGE | REQUIRED GAUGE FOR EXTENSION CORDS | |||
| 25 ft. | 50 ft. | 100 ft. | 150 ft. | |
| 5.7A | 18 Gauge | 16 Gauge | 16 Gauge | 14 Gauge |
- Examine the extension cord before use. Make sure your extension cord is properly wired and in good condition. Always replace a damaged extension cord or have it repaired by a qualified person before using it.
- Do not abuse the extension cord. Do not pull on the cord to disconnect from the receptacle; always disconnect by pulling on the plug. Disconnect the extension cord from the receptacle before disconnecting the product from the extension cord. Protect your extension cords from sharp objects, excessive heat, and damp/wet areas.
- Use a separate electrical circuit for your tool. This circuit must not be less than a 12-gauge wire and should be protected with a 15A time-delayed fuse. Before connecting the motor to the power line, make sure the switch is in the OFF position and the electric current is rated the same as the current stamped on the motor nameplate. Running at a lower voltage will damage the motor.
UNPACKING & PACKING LIST
UNPACKING
With the help of a friend or trustworthy foe, such as one of your in-laws, carefully remove the dust collector from the packaging and place it on a sturdy, flat surface. Make sure to take out all contents and accessories. Do not discard the packaging until everything is removed. Check the packing list below to make sure you have all of the parts and accessories. If any part is missing or broken, please contact customer service at 1-800-232-1195 (M-F 8-5 CST) or email [email protected]
PACKING LIST
- Dust Collector
- Collection/Filtration Bag
- Securing Clamp
- Casters with Nuts and Bolts
- Replacement Carbon Brushes (2)
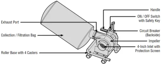
KNOW YOUR DUST COLLECTOR

ASSEMBLY & ADJUSTMENTS
WARNING! Do not attempt to plug in or operate your tool until the entire operator’s manual has been read and understood. Failure to do so could result in personal injury and damage to the tool.
CASTER ASSEMBLY
Your dust collector comes installed on a roller base. Install the casters onto the roller base to be able to move your dust collector around.
- Slide the caster (Fig. 2 – 1) through a washer (Fig. 2 – 2) and a mounting hole in the corner of the roller base.
- Place another washer (Fig. 2 – 3) on the threaded portion of the caster above the roller base.
- Thread the hex nut (Fig. 2 – 4) onto the caster.
- Tighten the cap nut (Fig. 2 – 5) onto the caster to secure it in place.
- Repeat the steps above to assemble the three remaining casters.
WALL MOUNTING
Your unit can also be mounted onto the wall. Remove the roller base. Position the dust collector onto the wall next to a matching power outlet. Leave enough room on the
bottom for the collection bag. Mount the unit onto the wall using appropriate nuts and bolts through the four mounting holes on the mounting bracket (Fig. 3 – 1).
COLLECTION BAG ASSEMBLY
- Place the clamp (Fig. 4 – 2) over the exhaust port of the dust collector (Fig. 4 – 1).
- Place the mouth of the collection bag (Fig. 4 – 3) over the exhaust port. Then, slide the clamp (Fig. 4 – 2) over the mouth of the bag.
- Tighten the clamp using a flat-head screwdriver.

NOTE: Do not remove the safety screen or the inlet. Doing so will alter the airflow and damage the impeller/motor.
OPERATION
WARNING! This dust collector is intended only for collecting wood dust and chips from woodworking machines. Do not use a dust collector for anything except wood dust. Material such as liquids, aerosols, metal dust, screws, glass, plastic, or rock can cause sparks when coming into contact with any part of the collection system.
WARNING! Never allow steel to come into contact with the impeller. Impact with any hard material may result in sparks which may cause a fire. Be mindful of any situation that results in a risk of fire.
- Connect the dust collector to your woodworking machine using a 4-inch dust collection hose.
NOTE: Your dust collector is compatible with the WEN 28200 10-feet dust hose and the WEN 28221 20-feet dust hose, available at wenproducts.com. Adaptors may be needed depending on the dust port size of your woodworking machine. - Make sure the dust collector switch is turned off and insert the power plug into a matching receptacle.
- Switch on the dust collector and start operating your woodworking machine. Do not place your hands, lumber, or tools near the inlet opening while the machine is plugged in or during operation. Keep animals and children away from open dust collection inlets.
OVERLOAD PROTECTION
Your tool is equipped with a circuit breaker to protect the motor from overloading or overheating. In case of overload, the circuit breaker will pop out to shut down the machine. Wait for the tool to cool down and press in the circuit breaker. Restart the machine to continue operation.
MAINTENANCE
WARNING! Always ensure that the tool is switched off and the plug is removed from the outlet before making any adjustments or maintenance procedures.
CLEANING AND INSPECTION
- Regularly clean dust, chips, and other particles from the machine. If the operation is excessively dusty or dirty, frequent inspection of the motor is required.
Vacuum any particles that may have entered the
motor. - Inspect the machine for any damaged or worn parts. Replace any damaged parts immediately for safe and efficient operation. Frequently check that all nuts, bolts, screws have not loosened due to
vibration. - Regularly check and empty the collection bag. Always wear respirator and safety glasses when removing, emptying or replacing collection bags. Empty dust away from the ignition sources and into a suitable container.
STORAGE
Store the unit and accessories in a dark, dry, frost-free, and well-ventilated place, out of the reach of children. The ideal storage temperature is between 50 to 86 °F (10 and 30º).
PRODUCT DISPOSAL
Used power tools contain recyclable materials and should not be disposed of with household waste. Please take this product to your local recycling facility for responsible disposal and to minimize its environmental impact.
CARBON BRUSH REPLACEMENT
The wear on the carbon brushes depends on how frequently and how heavily the tool is used. To maintain the maximum efficiency of the motor, we recommend inspecting the two carbon brushes every 60 hours of operation or when the tool stops working.
NOTE: Replacement carbon brushes (Part No. 3401-038) can be ordered at wenproducts.com. Only genuine WEN replacement brushes designed specifically for your tool should be used. Carbon brushes are not covered under the two-year warranty.
- Unplug the dust collector. To access the carbon brushes, remove the carbon brush covers (Fig. 5 – 1) with a flathead screwdriver (not included).

- Carefully remove the old carbon brushes using pliers. Keep track of which orientation the old carbon brushes were in to prevent needless wear if they will be reinstalled.
- Measure the length of the brushes (Fig. 5). Install the new set of carbon brushes if either carbon brush length is worn down to 3/16” or less. Reinstall the old carbon brushes (in their original orientation) if your brushes are not worn down to 3/16” or less. Both carbon brushes should be replaced at the same time.
- Replace the carbon brush cover.
NOTE: New carbon brushes tend to spark for a few minutes during the first use as they wear down.
EXPLODED VIEW & PARTS LIST

NOTE: Not all parts may be available for purchase. Parts and accessories that wear down over the course of normal use are not covered under the warranty.
NOTE: Not all parts may be available for purchase. Parts and accessories that wear down over the course of normal use are not covered under the warranty.
WARRANTY STATEMENT
WEN Products is committed to building tools that are dependable for years. Our warranties are consistent with this commitment and our dedication to quality.
LIMITED WARRANTY OF WEN PRODUCTS FOR HOME USE
GREAT LAKES TECHNOLOGIES, LLC (“Seller”) warrants to the original purchaser only, that all WEN consumer power tools will be free from defects in material or workmanship during personal use for a period of two (2) years used for professional or commercial use. Purchaser has 30 days from the date of purchase to report missing or
damaged parts.
SELLER’S SOLE OBLIGATION AND YOUR EXCLUSIVE REMEDY under this Limited Warranty and, to the extent permitted by law, any warranty or condition implied by law, shall be the replacement of parts, without charge, which are defective in material or workmanship and which have not been subjected to misuse, alteration, careless handling, misrepair, abuse, neglect, normal wear and tear, improper maintenance, or other conditions adversely affecting the Product or the component of the Product, whether by accident or intentionally, by persons other than Seller. To make a claim under this Limited Warranty, you must make sure to keep a copy of your proof of purchase that clearly dor of Great LakesTechnologies, LLC. Purchasing through third-party vendors, including but not limited to garage sales, pawnshops, resale shops, or any other secondhand merchant, voids the warranty included with this product. Contact [email protected] or 1-800-232-1195 with the following information to make arrangements: your shipping address, phone number, serial number, required part numbers, and proof of purchase. Damaged or defective parts and products may need to be sent to WEN before the replacements can be shipped out.
Upon the confirmation of a WEN representative, your product may qualify for repairs and service work. When returning a product for warranty service, the shipping charges must be prepaid by the purchaser. The product must be shipped in its original container (or an equivalent), properly packed to withstand the hazards of shipment. The product must be fully insured with a copy of the proof of purchase enclosed. There must also be a description of the problem in order to help our repairs department diagnose and fix the issue. Repairs will be made and the product will be returned and shipped back to the purchaser at no charge for addresses within the contiguous United States.
THIS LIMITED WARRANTY DOES NOT APPLY TO ITEMS THAT WEAR OUT FROM REGULAR USAGE OVER TIME, INCLUDING BELTS, BRUSHES, BLADES, BATTERIES, ETC. ANY IMPLIED WARRANTIES SHALL BE LIMITED IN DURATION TO TWO (2) YEARS FROM THE DATE OF PURCHASE. SOME STATES IN THE U.S. AND SOME CANADIAN PROVINCES DO NOT ALLOW LIMITATIONS ON HOW LONG AN IMPLIED WARRANTY LASTS, SO THE ABOVE LIMITATION MAY NOT APPLY TO YOU.
IN NO THE EVENT SHALL THE SELLER BE LIABLE FOR ANY INCIDENTAL OR CONSEQUENTIAL DAMAGES (INCLUDING BUT NOT LIMITED TO LIABILITY FOR LOSS OF PROFITS) ARISING FROM THE SALE OR USE OF THIS PRODUCT. SOME STATES IN THE U.S. AND SOME CANADIAN PROVINCES DO NOT ALLOW THE EXCLUSION OR LIMITATION OF INCIDENTAL OR CONSEQUENTIAL DAMAGES, SO THE ABOVE LIMITATION OR EXCLUSION MAY NOT APPLY TO YOU.
THIS LIMITED WARRANTY GIVES YOU SPECIFIC LEGAL RIGHTS, AND YOU MAY ALSO HAVE OTHER RIGHTS WHICH VARY FROM STATE TO TATE IN THE U.S., PROVINCE TO PROVINCE IN CANADA, AND FROM COUNTRY TO COUNTRY.
THIS LIMITED WARRANTY APPLIES ONLY TO ITEMS SOLD WITHIN THE UNITED STATES OF AMERICA, CANADA, AND THE COMMONWEALTH OF PUERTO RICO. FOR WARRANTY COVERAGE WITHIN OTHER COUNTRIES, CONTACT THE WEN CUSTOMER SUPPORT LINE. FOR WARRANTY PARTS OR PRODUCTS REPAIRED UNDER WARRANTY SHIPPING TO ADDRESSES OUTSIDE OF THE CONTIGUOUS UNITED STATES, ADDITIONAL SHIPPING CHARGES MAY APPLY.
THANKS FOR REMEMBERING
V. 2021.08.02





















