LIMENTE ECON-2 Corner Socket

- Before installation assure online at www.limente.com that you are using the latest assembling instruction.
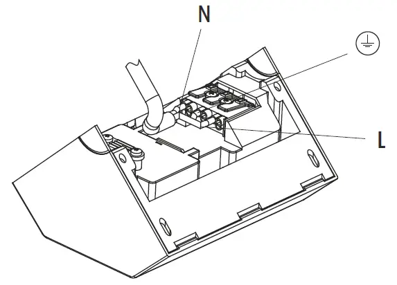
- The socket must be installed against two hard wall surfaces (e.g. wall and cabinet).
- The open back part of socket must be closed after installation.
- Power feed cable must be installed from back part, either from wall or cabinet.
- Installation must always be done by an authorized person following valid local regulations.
Dimensions
LIMENTE ECON-2, ECON-3

Mounting























