THULE 187005 Fixpoint Kit
This kit is only for vehicles with fixpoint mounting.

FOOT PACK

Weight required

Warnings


Cleaning

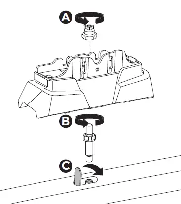
Fixation process steps






This kit is only for vehicles with fixpoint mounting.



Warnings








Download manual
Here you can download full pdf version of manual, it may contain additional safety instructions, warranty information, FCC rules, etc.