BODENSTECKDOSEN SYSTEMTECHNIK 5602E Wall Socket
Technical specifications
| Item No | Dimensions | Supply line | Protection | Weight |
| 5602E | 103 x142 x163 mm | above, 25 mm 1xOpening at the back | IP44 electr | 1,4 kg |
| 5606E | 303 x 240 x157 mm | above, 2 x back, 2 x below each 25 mm | IP44 electr. | 5,1kg |
| 5620E | 370 x 240 x 167 mm | above, 2 x back, 2 x below 25 mm | IP44 electr | 6,5 kg |
| 5622E | 500 x 400 x 218 mm | 2 x above, below 25 mm | IP44 electr | 13,5 kg |
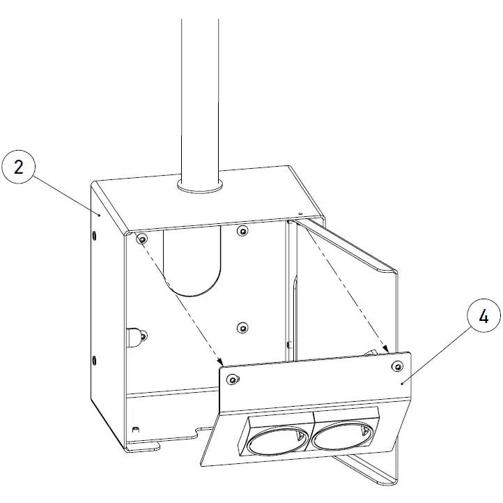
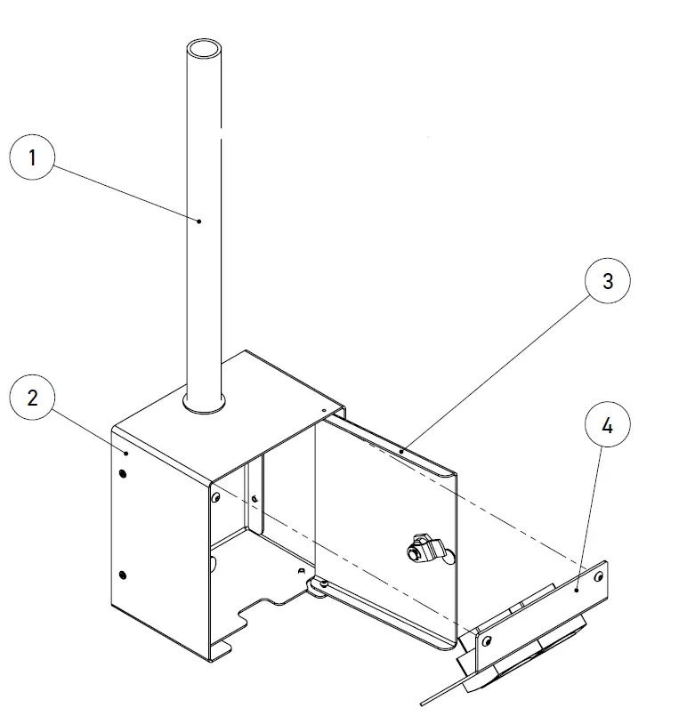
Designation
- Supply pipe M25 not included
- Housing
- Device door
- Device carrier
Assembly Instructions
The 5602E wall distributor is shown as an example. The installation principle applies to all wall distributors from the 56 E-Series: 5602E, 5606E, 5620E, and 5622E.
- Step 1
Unscrew the device carrier from the housing. If necessary, remove the door beforehand.

- Step 2
Position the housing on the wall and transfer the drill holes to the wall. Then drill at the marked points four holes in the wall and dowel them.
- Step 3
Then screw on the housing and seal the joints with silicone. Route the supply lines for the sockets through the pipe and connect the devices.
- Step 4
Screw the device carrier back into the housing. The wall distributor is now successfully installed and connected.
Instructions for use
In order to ensure a lasting function of the wall distributor, the following instructions must be observed:
- Connection, repair, or maintenance must be carried out by a trained specialist. During installation and commissioning, gloves must be worn.
- For the installation of the wall distributor, a solid wall (e.g. brickwork, etc.) must be present.
- The connecting cable must have a cross-section
in accordance with the VDE regulation. In addition, flexible cables must be used so that the protection class can be guaranteed. - If cable glands are used, they should be suitable for the corresponding cable cross-section and have an appropriate degree of protection (IP68 for outdoor use).
- Care instructions: The product is suitable for wet care. No acid-, chloride-containing, or alkaline products may be used for cleaning.
- The specified degree of protection relates to the built-in electrical units. In addition, the degree of protection can only be guaranteed when the wall distributor is in perfect and closed condition.
- The device door should always be kept closed, except when plugging in and out. The cable opening is located in the lower part of the housing (fold in the cover if necessary). The cables of the connected plug must be led out through this opening. Otherwise, it is not allowed to put the wall distributor into operation.
- Despite manufacturing inspection, sharp edges or corners on housings, lids, or other components may occur during the manufacturing process.
- In the case of mechanical damage or other defects (technical/electrical), it is not allowed to be put the product into operation.
- The product is in compliance with the national regulations to dispose of.
Errors and technical changes reserved.






















