
Tuya Wall Lamp Security Wi-Fi Camera
User Manual Versa): Mar. 2023
TY017 Wall Lamp Security WiFi Camera

Lamp Status:
When there is a motion, it lights up 1 minute then off. If motion is going on, it keeps on, Once no motion, it goes off.
Quick guide of Wi-Fi camera function:
- Download & Install Free App <Tuya Smart > from App Store or Google Play;
Tips: Please allow ” Tuya Smart to notification, Bluetooth and location while using the App. - Enter App, select your region and register your accounts; Tips: If a code doesn’t arrive, please check the spam folder first.
- Insert micro SD card –> Turn on back ON/OFF switch (wait around 20seconds till the blue Indicator turns from solid to blink); Press Reset key 8 seconds till a dingdong sound(wait around 30 seconds till the blue indicator turns from solid to blink and ready for pairing WiF);
- Open APP Tuya Smart » Add devices or Top right “+” » Carnera&Clock » Smart camera (VVi-FI) . Tick ” Make sure the indicator is flashing quickly, or a prompt tone is heard.” » Next. Click ” 4 ” to select the local router Vi/iFi, then input password. » Next.
- Please scan the OR code from 15 to 20cm away. Once you heard a prompt, click “I Heard a Prompt”. Device Binding Successful and online now.
Overview:
The Tuya Wall Lamp Security Wi-Fi Camera, is a daily use indoor wall lamp and integrate with a high tech powerful 1080P smart camera inside for daily home / office security use etc.
First, it can be used for watching live streaming video day and night (night vision around 5 meters), or taking photo and video by APP in smart-phone remotely after WiFi connected;
Second, it supports motion detect push alarm notification, cycle recording and work while charging.
Third, it can be used as a daily use indoor wall lamp, which can be lighted on while the PIR detect motions. (When there is a motion, it lights up 1minute then off.)
Usages: Nanny camera, Home/ Shop/ Office/ Warehouse surveillance camera Warning : ” illegal use is not allowed! Or, them will be consequences to bear! “
In the box:
1 x Camera Unit
1 x Micro SD Card Reader
1 x USB Cable
1 x User Manual
1 x Power Adapter
lx Universal Bracket
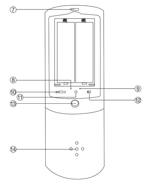
Product structure

- Microphone
- Light senor
- Invisible night vision lads
- Camera
- Invisible night vision leds
- PIR senor
- USB charing port
- Win Indicator

- Charging Indicator
- Micro SD card slot
- Reset key
- ON/OFF switch
- Bracket connect part
- Camera speaker
Reset steps:
- Turn on device wait around 20seconds till the blue indicator turns from solid to blink.
- Long press reset key around 8 seconds till a “dingdong” sound, wait around 30 seconds till the blue indicator turns from solid to blink. The reset is done.
Wi-Fi indicator tips:
Blink blue when pairing with WiFi; Solid blue when Win paired; (Can be turned off in App, Setting> Basic Function Settings>Status Indicator)
Charging indicator tips:
Solid red when charging, and off when fully charged.
Wi-Fi Camera Connection Setting Steps:
“Tuya Smart” App
- Scan below OR code or search and download free APP named < Tuya Smart > in Apple APP store, Google play or Electronic market, and install it;
https://smartapp.tuya.com/tuyasmart - Open Tuya Smart App, Click “Sign Up”and “Agree” the Privacy Policy to continue. Select your current region and register with email / mobile number, or third-party account like Facebook, Google or 105 account. (Tips: If a code doesn’t arrive, please check the spam folder first.)

Step 2: Take off side cover –> Insert micro SD card –> Turn on back ON/OFF switch (wait around 20seconds till the blue indicator tums from solid to blink);
Step 3:Connect device with Wi-Fi 1.
Press Reset key 8 seconds till a dingdong sound(wait around 30 seconds till the blue indicator turns from solid to blink and ready for pairing WiFi);
2. Open APP Tuya Smart » Add devices or Top right “+” » Camera&Clock » Smart camera (Wi-Fi) . Tick ” Make sure the indicator is flashing quickly, or a prompt tone is heard.” » Next.
3.Click ” 4 “to select the local router WiFi, then input password. » Next.

4.Please scan the OR code from 15 to 20cm away. Once you heard a prompt, click “I Heard a Prompt”. Device Binding Successful and online now.

APP Introduction

Features: Main functions of the camera Direction:Control the PAN rotate of camera lens and laser tease 

Specification
| Resolution | 2 Mega CMOS |
| Video pixel | 1920’1080 |
| Frames | Max 25fps |
| Compressed format | H.264 |
| View angle | 145 Degree |
| Type of memory card | IF card>lass 4110 and HC marked |
| Maximum capacity of memory card | 128GB |
| Mobile phone operation system | Android/10S |
| Compatible router | 2.4G and Mobile hotspot |
| Two way talking | Yes |
| Lamp power consumption | 150mA |
| Power consumption | 250 mAh |
| Power consumption with night vision | 450 mAh |
| Charging current | 420 mAh |
| Battery | Default 1 piece, 2500mA |
| Battery life | Around 418 hours |
| Charging time | Around 6hours |
| Power adapter | 5V2A |
FAQ
1. 0: Why videos recorded in SD card can’t be read by PC? A: 1) This is Tuya patent to protect recorded files by encryption format.
– A: 2) If need to check videos in card, enter App > playback: Select video date, record or screenshot needed moments. Then check at App album.
2. What does the device do when WiFi off?
– A: Keep searching WiFi signal all the time; If WiFi on, it will be connected to WiFi automatically.
3. Q: Any other way to connect device with Wi-Fi:
– A: 1) Press Reset key 8 seconds till a dingdong sound(wait around 30 seconds till the blue indicator turns from solid to blink and ready for pairing WiFi);
– A: 2) Open APP Tuya Smart » Add devices or Top right “+” » Security & Video surveillance » Smart camera (Wi-F) . Click top right “s—, ” to select AP mode. Tick” Power on the device and make sure the indicator is flashing rapidly or a prompt tone.” » Next. 
A: 3) Click ” ft—, “to select the local router VViFi, then input password. » Next.
A: 4) Connect your mobile phone to the device’s hotspot named “SmartLife-xxxx, or SL-xxxx”. Click “Confirm hot spot connection, next” Then device is being added, and online soon
4.0: Where to get more info about Tuya Smart App? A: Pls visit developer.tuya.com , then Documentation > App Development > All-in-One App > Smart Life > User Guide



















