Yale SV-4C-2ABFX-2 Wired Video Surveillance Kit

Download manual
In the box


Setting up

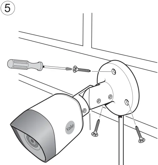
Mounting






App Download
![]() | |||
![]() | ![]() | ![]() | ![]() |
![]() | |||
Personal registration in the App
App Log-in page:
Initial setup:
1) Click Register
This will be your opening page, after you have registered in steps 2) to 6).
Email Register page:
Initial setup:
2) Enter email
3) Enter password
4) Click Verification code (Verfication code will be sent to you by email)
5) Insert received Verification code

NOTE: Also look for received mail in the Junk-Mail Box
DVR Set-up
Create an account

Follow on-screen instructions


Follow on-screen instructions
Download CCTV manual

Notes
____________________________________________________________________________________________________________________________________________________________________________________________________________________________________________________________________________________________________________________________________________________________________________________________________________________________________________________________________________________________________________________________________________________________________________________________________________________________________________________________________________________________________________________________________________________
The power shall conform to the requirement in the SELV (Safety Extra Low Voltage) and the Limited power source is rated DC 12V in the IEC60950-1. (Power supply requirement is subject to the device label). Manufacturers: Shenzhen HONOR Electronic Co., Ltd.
![]() | Model: ADS-26SGP-12 12024E Input: 100-240V~, 50/60Hz, max. 0.7A Output: DC 12V; 2.0A | ![]() |
![]() | ![]() |
Support

www.yalehome.com/en/supportmarkets/
ASSA ABLOY Opening Solutions Poland S.A.,UI. Magazynowa 4, 64-100 Leszno, Poland
UK: ASSA ABLOY Ltd., School Street, Willenhall, West Midlands, England Wv13 3PW

THE YALE BRAND, with its unparalleled global reach and range of products, reassures more people in more countries than any other consumer locking solution.




























