Yale SV-ABFX-B Smart Home CCTV Camera User Manual
In the box





Setting up

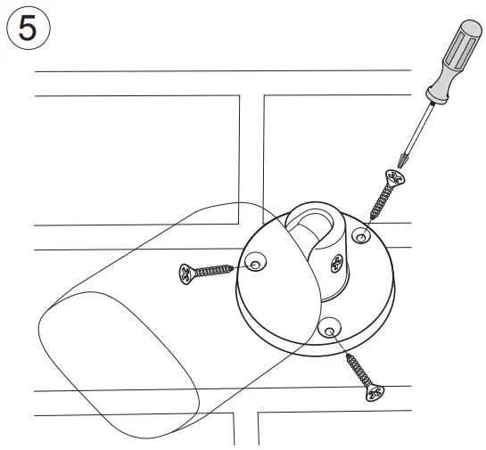
Mounting






Support
Manual

www.yalehome.com/doc
www.yalehome.com/manuals
ASSA ABLOY Opening Solutions Poland S.A.,
UI. Magazynowa 4, 64-100 Leszno, Poland
UK: ASSA ABLOY Ltd., School Street, Willenhall,
West Midlands, England Wv13 3PW
THE YALE BRAND, with its unparalleled global reach and range of products, reassures more people in more countries than any other consumer locking solution.
THE ASSA ABLOY GROUP is the world´s leading manufacturer and supplier of locking solutions, dedicated to satisfying end-user needs for security, safety and convenience.



















