Alphalite ILA Series Architectural LED Linear-Direct

WARNING
RISK OF FIRE OR ELECTRIC SHOCK
The ILA Series must be installed by a qualified electrician in accordance with applicable federal, state,
and local laws and codes. Installation requires knowledge of luminaire electrical systems and installer
should be familiar with the operation of this product. If not qualified, do not attempt installation; contact a qualified electrician. Manufacturer assumes no responsibility for the improper installation of this luminaire. When installing the fixture, drilling may damage luminaire wiring and electrical parts. Check for wiring and
components in enclosure before drilling.
WARNING
To prevent wiring damage or abrasion, do not expose wiring to edges of sheet metal or other sharp objects. When installing this kit, drilling may damage luminaire wiring and electrical parts. Check for wiring and components in enclosure before drilling.
CAUTION
RISK OF PERSONAL INJURY
- Wear gloves or proper handling protection to prevent cuts or abrasions when handling and maintaining this product. This equipment may have sharp edges. To reduce the risk of death, personal injury or property damage from fire, electric shock, falling parts, cuts/abrasions, and other hazards read all warning and instructions included with and on the fixture box and all fixture labels.
- Avoid direct eye exposure to the light source while it is on.
WARNING
RISK OF PERSONAL INJURY, FIRE OR ELECTRIC SHOCK
- Turn OFF power before installation.
- Do not handle energized fixture when hands are wet, when standing on wet or damp surfaces, or in water
NOTICE
- Do not install any part of the luminaire less than 5 feet above the floor or closer than 5 inches from any window treatments, i.e., curtains, blinds or any similar combustible type materials.
- Check to make sure that all fixture connections have been properly made and the fixture is grounded to avoid potential electrical shocks.
- Use only UL approved wire input/output connections. Minimum size 18 AWG if there are any continuous runs.
- If the fixtures are connected in a continuous run, do not exceed allowable number of fixtures in series/power in continuous runs.
Contact manufacturer with any questions or concerns regarding installation of this luminaire.
Installation Instructions
Architecture LED Linear-Direct
Suspension Installation



- Drill a hole of 3/16″ in diameter at the location required for installation. Then install the plastic anchor to the hole with hammer.

- Insert PA4*30 Screws into the screw holder and then drill into the plastic anchor.

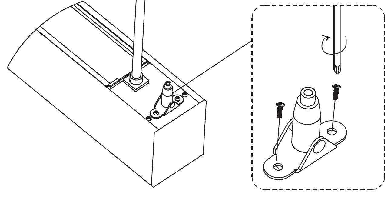
- Lock the steel wire rope pedestal to the ends plates with PM48 screws.

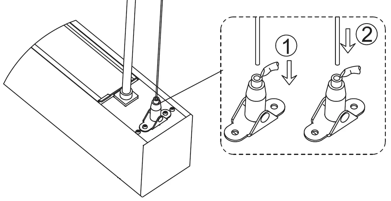
- Press down the inner hole of the steel wire rope pedestal, let the steel wire rope go through the hole.

- Connect L,N,GND,DIM+ and DIM- of AC input wire to L,N, GND, DIM+ and DIM- respectively of AC terminal.

- Press the to pend of the steel wire rope pedestal to adjust the steel wire rope, and then finish the installation.
Canopy Suspension Installation


- Drill a hole of 3/16″ in diameter as shown in the figure at the location required for installation. Then hammer the plastid anchor into the hole.

- Insert PA4″*35 screws into the M type mounting bracket and then drill into the plastic anchor.

- Lock the steel wire rope pedestal to the ends plates with PM4*8 Screws

- Press down the inner hole of the steel wire rope pedestal, let the steel wire rope go through the hole.

- Insert the steel wire rope holder into the middle hole of the canopy and tighten the steel wire rope holder with hex nut; Clip the cable protective cover into the AC line hole of the canopy.
- insert the stainless steel wire into the inner hole of the steel wire rope holder

- Insert the AC input cable through the cable protective cover and connect it with the AC line by the corresponding connection wire with L, N, GND.

- Adjust the length of the AC input cable, align the side hole of the canopy and the M mounting bracket as shown in the figure, then tighten the screw.

- The installation is completed.
Surface Mount Installation
Installation Kits



- Drill Hole on the ceiling based on the Length of the fixture, fix the plastic anchor in the hole.

- Fix the surface mount bracket on the ceiling with PA4*30 screw.

- Hook the safety cable of the fixture on the slot of the surface mount bracket.

- Wiring the fixture with the supply power, clear up the wires and safety cables, clip the fixture into the slot of the surface mount plate on two sides.

- Fix screws on two side of the fixture.

- Turn on the light.

Wall Mount Installation



- Drill Hole on the wall based on the Length of the Fixture, Fix the plastic anchor in the hole and fix the Wall Mount Bracket on the Wall.
- Push the L support bracket into the wall mount bracket as followed.

- Connect L, N, GND, DIM+ and DIM- of AC input wire to L, N, GND, DIM+ and DIM- respectively of AC wire.

- Get the linear light install into the wall mount bracket as followed picture. Using the hand screw to secure the linear light.
Connect the quick connector between the linear light and connector from the AC power wire. After then, put it into the linear body.

- Linkable bracket insert into one fixture, connect the male and female connector, the other part of linkable bracket insert into the other fixture. Then the fixture fixed on the wall mounted kit.


T-BAR Recessed Installation




Dry Ceiling Wall Recessed Installation




Linkable Installation
Note: Only available for Linkable Products.
- Measure the ceiling, make down the position for lineae1, install the first Linear Light to the ceiling as instruction of A Rope Suspension Installation.

- Install Linear 1, then connect AC line; remove one end cap as show on (2-b)
Lift up the up-light module as the picture shows.

- Insert the Linear Light as Step 2 and adjust the steel wire rope in the same height. Then Move out two end caps of Linear2,lift up the up light module, disconnect the AC wire. keep the female plug to the side ends

- Connect the male plug of Linear 1 and female plug of Linear2,insert the bracket to the Linear 2 make them seamless linkable together.

- Check the status after linked make sure no any gap between two linear

- Make sure the male and female plugs have been connected well, press down the up light module, put it back to the top of Linear1 and Linear2

- Install the Linear Light 3,4,5,6 and7 as above method, keep one main input cord on one side for wiring and rounding Adjust the steel wire rope in the same height. Then finish the installation.
NOTE: LED LINEAR CAN BE GAPLESS LINKABLE TOGETHER AS NEEDEC (if you order to use 18# cord, More Links can be Customized.)
Link Instruction and Disclaimer
Max. linkable Quantity (Untick) Linkable fixtures Qty need to meet the below two conditions:- N7pcs
- Input voltage = 120V, N°P<420W Input voltage = 277V,N*P<960Vw Input voltage 347V, N’P<1200W
Note: N Qty of linkable fixtures, P=Wattage per fixture





















Connect the quick connector between the linear light and connector from the AC power wire. After then, put it into the linear body.




Lift up the up-light module as the picture shows.





NOTE: LED LINEAR CAN BE GAPLESS LINKABLE TOGETHER AS NEEDEC (if you order to use 18# cord, More Links can be Customized.)
Max. linkable Quantity (Untick) Linkable fixtures Qty need to meet the below two conditions:

















