LEDALITE Sona Wall LED
INSTALLATION INSTRUCTION
System Overview
These instructions review how to install Sona wall mount fixtures. 4ft and 8ft modules can be installed as individual standalone units, or they can be joined together to create continuous runs. The graphics below show the components required to install a typical run of Sona wall fixtures.
IMPORTANT: Read all instructions before beginning installation.
Sona power mount kit(s)
- Wall bracket (S1)
- #10-32 x 5/6” machine screw (x3)
- #10-32 x 1/2” Philips screw (x2)
- J-box cover plate (x1)
- 1/2” bushing
- Strain relief
Sona non-power kit(s)
- Wall bracket (x1)
- #10-32 x 1/2” Philips screw (x2)
Sona end kit(s)
- Endcap (x1)
- #8-32 x 3/8” Philips screw (x2)
- Note: 2 kits required for each row (one for each end). Left and right kits supplied.
Sona Joint Kit(s)
- Break apart Joiner aligner pair (X1)
- #10-24 x 9/16” bolts (x2)
- #10-24 nuts (x2)
Note: 1 kit required for each in-row joint
Tools Required
- Medium Phillips Screwdriver
- 3/8” Wrench, 1/4” ratchet with 3/8” socket, or 3/8” GearWrench.

Mount Spacing
- Variable wall mount brackets can be positioned within 6″ of the fixture end or joint.
- Minimum one mount per fixture end and joint
- Refer to Sona Row Configurations document for further information
Module Lengths
Sona wall fixtures come in 4ft and 8ft modules. Overall module lengths are shown below. Add 4-15/16” for each sculpted endcap or 7/16” for each flat endcap.
IMPORTANT
All mount brackets must be secured to wall structure (studs or cross braces). Wall bracket(s) must be installed within 6″ from fixture end (s).
Install switchbox and make electrical connections
RECOMMENDED: For best mounting aesthetics, install switchbox flush with finished wall directly behind fixture’s specified power location. Install two studs at mounting location. Leave enough gap between studs to accommodate standard switchbox mounted sideways (about 4″). Make electrical connections in switchbox with supplied SVT cord. Secure power cord with supplied strain relief on the switchbox side. 

ALTERNATE: Install switchbox as close as possible to fixture’s power mount location. Run power cord (supplied) from switchbox to fixture. Crimp strain re-liefs (supplied) on cord inside switchbox and fixture-level wire cover. Allow at least 12″ of cord outside the wall for connection.
Attach switchbox cover plate
Feed SVT cord through hole in supplied switchbox cover plate. Attach cover plate to switchbox with two screws (supplied by others). Secure cover plate to wall structure with two structural screws (supplied by others).
Install wall bracket at power location
RECOMMENDED: Attach wall mount bracket to switchbox cover plate with 3 screws (supplied). Leave power cord outside wall for connection.
ALTERNATE: Install wall mount bracket within 6″ from fixture end, as close as possible to power supply. Secure bracket to wall structure.
Install wall brackets at non-power locations
Install additional wall mount brackets as re-quired for single fixture or continuous rows. Ensure additional brackets are level with first bracket.
IMPORTANT: Attach wall mount brack-ets to wall structure within 6″ from ends of fixture.
Mount first fixture
Raise first fixture into position and engage it on wall brackets, then rotate it down into position (as shown).
IMPORTANT: For power locations, knock out 1/2” EKO before raising into position. Go to STEP 6 for further instruction.
Complete electrical connection at end
POWER LOCATION: Break 1/2″ knock-outs in cross plate before raising into position. Raise luminaire as described in STEP 5.
Power entry preparation (7708)
Remove screws on both sides to allow LED light engine reflector to be removed. Untuck diffuser from under front lip of housing before removing light engine.
IMPORTANT: To avoid damage of light engine unplug the red & black DC wire harness connector from the light engine.
Once light engine and diffuser is moved away from wire cover you will have access to the knocked out 1/2” EKO. Insert bushing from the inside of the luminaire. Begin preparation for power connection.
Install strain relief under reflector to secure power cord. Remove installed quick-connect plugs and com-plete electrical connections using wirenuts (supplied by others). Tuck wires into wiring cavity. NONPOWER
LOCATIONS: Cap all wires and tuck into wire cavity.
Power entry preparation (7708)
Recommended to unsecure top screws holding down light engine, to allow LED light engine to be slid away from the wall side.
IMPORTANT: If end screws are removed the reflector will not stop when slid. Do not lift light engine out to avoid damage to the DC wires connected to the LED boards.
Remove both screws securing back wall reflector. Remove back reflector to gain access to the EKO knock out. Insert bushing from the inside of the luminaire. Begin prepara-tion for power connection.
Install strain relief under reflector to secure power cord. Remove installed quick-connect plugs and com-plete electrical connections using wirenuts (supplied by others). Tuck wires into wiring cavity. NONPOWER
LOCATIONS: Cap all wires and tuck into wire cavity.
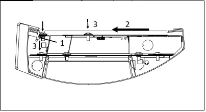
Mount second fixture
Insert joiner aligners into second (joining) fixture. Raise second fixture into position; at end opposite joint, en-gage fixture into wall mount bracket (shown in STEP 5). At joint, carefully slide fixture into position so that first and second fixtures are engaged on joiner aligners. 
Complete electrical connections at joint
Complete electrical connections at joint using supplied quick-wire connectors. Tuck wires into wiring cavity. 
Secure joint
Recommended for ease during installation remove both screws holding light engine and untuck diffuser from front lip of housing (See Step 7). This will allow for access to secure joint hardware. (see Step 12).
Secure joint using supplied nuts and bolts. Ensure star washer side faces against metal plate at end of fixture. Repeat steps 8 – 10 for each additional fixture in row.
Install endcaps using supplied hardware.
NOTE: Two different endcaps supplied (left/right).
IMPORTANT: Ledalite recommends hand-tightening screws or using low torque setting on power tools.
Secure components (7708)
- Secure fixture(s) to wall mount brackets with two screws (supplied, #10-32 x 1/2″) at each bracket location.
- Lift light engine and slide back into place. Tuck diffuser back under front lip of housing.
- Re-insert the two screws holding light engine in place.

Secure components (7718)
- Secure fixture(s) to wall mount brackets with two screws (supplied, #10-32 x 1/2″) at each bracket location
- Slide light engine back into place and secure screws once flush to back reflec-tor.
- Secure screws to hold light engine in place. If completing power entry fixture re-install back reflector before sliding back light engine.

Finishing
Ensure all components are secure and installed according to code.
This equipment has been tested and found to comply with the limits for a Class A digital device, pursuant to part 15 of the FCC Rules. These limits are designed to provide rea-sonable protection against harmful interreference when the equipment is operated in a commercial environment. This equipment generates, uses, and can radiate radio frequency energy and, if not installed and used in accordance with the instruction manual, may cause harmful interference to radio communications. Operation of this equipment in a residential area is likely to cause harmful interference in which case the user will be required to correct the inter-ference at his own expense.
Sensor in Rows
Single Sensor Controlling Whole Row
- Purple & brown (or purple & grey/pink) control wires MUST be connected between fixtures.
Note : A maximum of 8 drivers can be wired to 8 sensors; confirm fixture driver count with factory.
Multiple Sensors Controlling Separates Zones in a Row - Purple & brown (or purple & grey/pink) control wires MUST NOT be connected between zones.
Notes :- A maximum of 8 drivers can be wired to one sensor; confirm fixture driver count with factory.
- Only one sensor is allowed on a wired zone. (Sensors can be paired together wirelessly via a mobile app).

Sensor Spacing
- For correct operation, sensor should be placed a minimum distance of 8ft apart.
- Wireless sensor should be placed no further than 40ft apart for good wireless signal connection.

Important Consideration When Using Sensor in a Row
- For fixtures with wireless sensors (CS, SB or RA options):
- DO NOT connect fixture purple and brown (or purple & grey/pink) control wires to an external dimming switch.
- Fixture mains wiring should not be connected to a circuit with an external on/off switch.
- For best aesthetic condition, place sensors at ends of row only so as not to break the continuous lens.
- For better occupancy coverage in longer rows, sensors may be placed mid run, but keep in mind this will break the continuous lens into discrete sections. Alternatively, remote sensors may be used, note the same wiring rules will apply.
Occupancy Sensor Coverage
Note: Longer dimension of detection area (Y1, Y2) is parallel to longer dimension of the luminaire.
Daylight Sensor
The light sensor measures the total amount of light in a circular field of approximately 80% of the PIR detection area. The following aspects should be observed during installation:
- Minimum distance from the window ≥ 2ft (0.6m).
- Prevent light reflections from outside entering the sensor (for example sunlight re-flection on a car hood) as this will lead to incorrect light regulation.
As a guideline the formula 0.72 X H can be used to calculate the minimum distance be-tween the window and sensor whereby H is the height from the bottom of the window to the sensor. 
The detection area for the movement sensor can be roughly divided into two parts;
- Minor movements (person moving ≤ 3ft/s or 0.9m/s).
- Major movements (person moving ≥ 3ft/s or 0.9m/s).
Photosensor spatial response 
ATTENTION: Install in accordance with national and local building and electrical codes.
© 2019 © 2019 Signify Holding. All rights are reserved. Reproduction in whole or part is prohibited without the written consent of the coerright owner.
Phone: 604.888.6811
Web: ledalite.com
Revision C lune 21, 2022
America Corporation.
4-00 Crossing Blvd, Suite 600 Bridgewater, NJ 08807.
Telephone: 855-486-2216
Signify Canada Ltd. 281
Hillmount Road, Markham, ON, Canada L6C 2S3.
Telephone: 800-668-9008




























