PENTAIR 57800 Hi-Flow Side Mounted Backwash Valve
Description
Warning: Before installing this product, read and follow all warning notices and instructions accompanying this valve. Failure to follow safety warning and instructions can result in severe injury, death, or property damage. Call (800) 831-7133 for additional free copies of these instructions.
IMPORTANT NOTICE!
Attention Installer: This manual contains important information about the installation, operation and safe use of this product. This information should be given to the owner/operator of this equipment.
Danger: The valve must be installed by a qualified serviceman in accordance with the National Electrical Code and all applicable local codes and ordinances.
Always disconnect power to the equipment at the circuit breaker before servicing any of the equipment. Ensure that the disconnected circuit is locked out or properly tagged so that it cannot be switched on while you are working on the equipment.
Failure to do so could result in serious injury or death to serviceman, operator users or others due to electric shock. Position the filter and the air relief valve to safely direct water drainage and purged air or water. Water discharged from an improperly positioned filter or valve can create an electrical hazard that can cause severe personal injury as well as damage property.
Caution:
For Installation of Electrical Controls at Equipment Pad
(ON/OFF Switches, Timers and Automation Load Center)
Install all electrical controls at equipment pad, such as on/off switches, timers, and control systems, etc. to allow the operation (startup, shut-down, or servicing) of any pump or filter so the user does not place any portion of his/her body over or near the pump strainer lid, filter lid or valve closures. This installation should allow the user enough space to stand clear of the filter and pump during system start-up, shut down or servicing of the system filter.
FILTER OPERATES UNDER HIGH PRESSURE.
Warning
When any part of the circulating system, (e.g., clamp, pump, filter, valve(s), etc.), is serviced, air can enter the system and become pressurized. Pressurized air can cause the lid to separate which can result in severe injury, death, or property damage. To avoid this potential hazard, follow these instructions:
- Before repositioning valve(s) and before beginning the assembly, disassembly, or adjustment of
the clamp or any other service of the circulating system: (A) Turn the pump OFF and shut OFF any automatic controls to ensure the system is NOT inadvertently started during the servicing; (B) open the manual air relief valve; (C) wait until all pressure is relieved. - Whenever installing the filter clamp FOLLOW THE FILTER CLAMP INSTALLATION INSTRUCTIONS EXACTLY.
- Once service on the circulating system is complete FOLLOW SYSTEM RESTART INSTRUCTIONS EXACTLY.
- Maintain circulation system properly. Replace worn or damaged parts immediately, [e.g., clamp, pressure gauge, valve(s), o-rings, etc].
- Be sure that the filter is properly mounted and positioned according to instructions provided.
Valve Positions Overview
Valve Installation
Caution: This valve is available in two models for use with sand type or diatomaceous earth (DE) type pool filters. Be sure that you have the correct model for your filter. Installing the incorrect model may cause your pump to dead head, or drain the pool when in backwash position.
- Confirm correct valve is being used; DE valves for DE filters and Sand valves for Sand filters.
- Install valve to filter by securing bulkhead nuts on valve to fittings on the filter.
Caution: Tighten the nuts by hand only! No additional tightness is required. - Plumb pump piping to center pipe in valve.
- Plumb return and waste lines.
Winterizing
- Drain and winterize pump and filter per manufacturer’s instructions.
- Depress valve handle and rotate so pointer on handle is between any two settings.
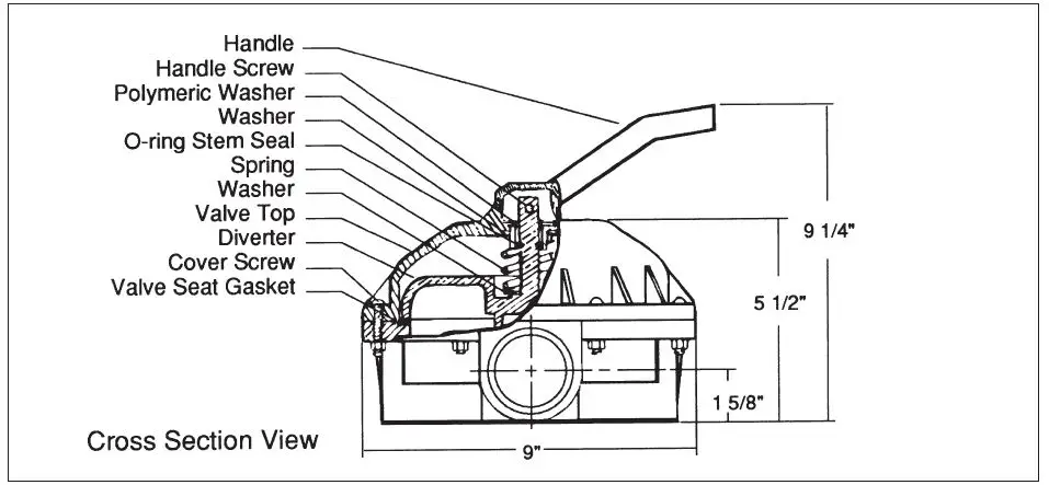
Replacement of Valve Top and Diverter Assembly
- Set valve handle in any setting.
- Remove cover screws.
- Lift off valve top and diverter assembly.
- Install new valve top and diverter assembly. Be sure arrows on valve top and bottom are aligned.
- Tighten cover screws evenly and alternately. Do not over tighten.
Complete Disassembly
- Remove Handle to diverter screw. Note arrow on top of diverter stem as handle is removed.
- Evenly and alternately loosen cover screws.
Caution: Top is under spring load. Loosen all screws before removing any of them. - Remove cover screws and valve top.
- Note location of O-ring and spring, and number of washers on diverter stem. Remove O-Ring, spring and washers.
- Re-assemble in reverse order.
Note: Prior to assembly, be sure bottom gasket and diverter sealing surface are clean and free from nicks to insure positive sealing. - When replacing valve handle, be sure arrow on diverter stem and pointer on handle are pointed in the same direction.
Caution: DO NOT over tighten the screws or use motorized screwdrivers; as this can cause damage to the threads.
Technical Data
Replacement Parts
Covers Assemblies P/Ns 261049, 261050 and 261142
| Item | P/N | Description | Qty. |
| 1 | 272520 | Handle | 1 |
| 2 | 272405 | Screw – Handle | 1 |
| 3 | 272402 | Washer, Plastic | 1 |
| 4 | 272412 | Valve Top | 1 |
| 5 | 271193 | Washer – 18 GA | 2 |
| 6 | 272400 | Spring – Compression | 1 |
| 7 | 272406 | O-ring – Diverter | 1 |
| 8 | 272413Z | Diverter | 1 |
| 9 | 272409 | Seal -Diverter | 1 |
| 10 | 98211400 | Nut – 1/4″ – 20 Hex | 8 |
| 11 | 272415 | Plat – 2″ Valve Bottom | 1 |
| 12 | 272403 | Screw – 1/4″ – 20 | 8 |
| * | 272422 | Valve Top Assembly | 1 |
This part number includes items 1 thru 9
Note: When replacing gasket P/N 272409, secure it to valve bottom with an instant cyanocrylate adhesive suitable for bonding rubber to plastic.
Head Loss Curves
1620 HAWKINS AVE., SANFORD, NC 27330
(919) 566-8000
10951 WEST LOS ANGELES AVE., MOORPARK, CA 93021
(805) 553-5000
WWW.PENTAIR.COM
All Pentair trademarks and logos are owned by Pentair or one of its global affiliates. Hi-Flow™ is a trademark of Pentair Water Pool and Spa, Inc. and/or its affiliated companies in the United States and/ or other countries. Unless expressly noted, names and brands of third parties that may be used in this document are not used to indicate an affiliation or endorsement between the owners of these names and brands and Pentair Water Pool and Spa, Inc. Those names and brands may be the trademarks or registered trademarks of those third parties. Because we are continuously improving our products and services, Pentair reserves the right to change specifications without prior notice. Pentair is an equal-opportunity employer.
© 2018 Pentair Water Pool and Spa, Inc. All rights reserved. This document is subject to change without notice.






















