PENTAIR HI-FLOW Side Mounted Backwash Valve

Before installing this product, read and follow all warning notices and instructions accompanying this valve. Failure to follow safety warning and instructions can result in severe injury, death, or property damage. Call (800) 831-7133 for additional free copies of these instructions.
IMPORTANT NOTICE!
Attention Installer: This manual contains important information about the installation, operation and safe use of this product. Thisinformation should be given to the owner/operator of this equipment.
The valve must be installed by a qualified serviceman in accordance with the National Electrical Code and all applicable local codes and ordinances.
The valve must be installed by a qualified serviceman in accordance with the National Electrical Code and all applicable local codes and ordinances.
Always disconnect power to the equipment at the circuit breaker before servicing any of the equipment. Ensure that the disconnected circuit is locked out or properly tagged so that it cannot be switched on while you are working on the equipment.
Failure to do so could result in serious injury or death to serviceman, operator users or others due to electric shock.
Position the filter and the air relief valve to safely direct water drainage and purged air or water. Water discharged from an improperly positioned filter or valve can create an electrical hazard that can cause severe personal injury as well as damage property.
For Installation of Electrical Controls at Equipment Pad (ON/OFF Switches, Timers and Automation Load Center)
Install all el ectrical controls at equipment pad, such as on/off switches, timers, and control systems, etc. to allow the operation (startup, shut-down, or servicing) of any pump or filter so the user does not place any portion of his/her body over or near the pump strainer lid, filter lid or valve closures. This installation should allow the user enough space to stand clear of the filter and pump during system start-up, shut down or servicing of the system filter.
![]() ![]() | FILTER OPERATES UNDER HIGH PRESSURE. When any part of the circulating system, (e.g., clamp, pump, filter, valve(s), etc.), is serviced, air can enter the system and become pressurized. Pressurized air can cause the lid to separate which can result in severe injury, death, or property damage. To avoid this potential hazard, follow these instructions:
|
Valve Positions Overview
| SETTING | FLOW PATH SETTING Function |
| Filter | Pump > Sand Top / DE Bottom > Through Filter > DE Top / Sand Bottom > Return For normal filter action and vacuuming pool thru filter. |
| Backwash | Pump > DE Top / Sand Bottom > Through Filter > Sand Top / DE Bottom > Waste For cleaning filter by reversing flow |
| Rinse | Pump > DE Top / Sand Bottom > Through Filter > DE Top / Sand Bottom > Waste For start-up cleaning and resetting filter bed after backwashing |
| Waste | Pump > Waste For vacuuming directly to waste, lowering pool level or draining pool |
| Closed | No Circulation – DO NOT USE THIS SETTING WITH PUMP OPERATING! |
| Recirculate | Pump > Return For circulating water without going through filter |
Valve Installation
| This valve is available in two models for use with sand type or diatomaceous earth (DE) type pool filters. Be sure that you have the correct model for your filter. Installing the incorrect model may cause your pump to dead head, or drain the pool when in backwash position. |
- Confirm correct valve is being used; DE valves for DE filters and Sand valves for Sand filters.
- Install valve to filter by securing bulkhead nuts on valve to fittings on the filter

Tighten the nuts by hand only! No additional tightness is required. - Plumb pump piping to center pipe in valve.
- Plumb return and waste lines.
Winterizing
- Drain and winterize pump and filter per manufacturer’s instructions.
- Depress valve handle and rotate so pointer on handle is between any two settings.
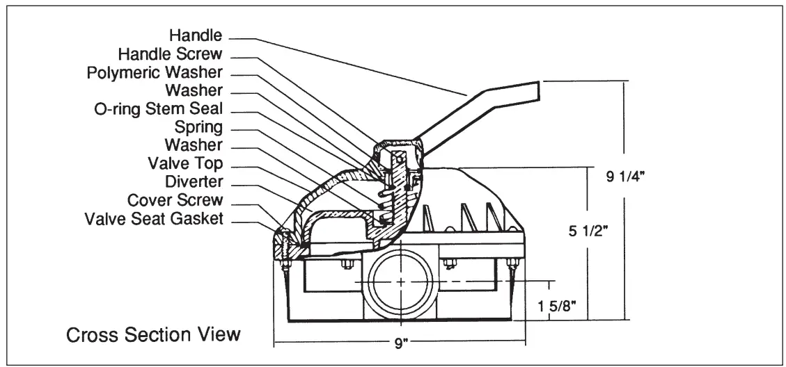
Replacement of Valve Top and Diverter Assembly
- Set valve handle in any setting.
- Remove cover screws.
- Lift off valve top and diverter assembly.
- Install new valve top and diverter assembly. Be sure arrows on valve top and bottom are aligned.
- Tighten cover screws evenly and alternately. Do not over tighten.
Complete Disassembly
- Remove Handle to diverter screw. Note arrow on top of diverter stem as handle is removed.
- Evenly and alternately loosen cover screws.

Top is under spring load. Loosen all screws before removing any of them. - Remove cover screws and valve top.
- Note location of O-ring and spring, and number of washers on diverter stem. Remove O-Ring, spring and washers.
- Re-assemble in reverse order.
Note: Prior to assembly, be sure bottom gasket and diverter sealing surface are clean and free from nicks to insure positive sealing. - When replacing valve handle, be sure arrow on diverter stem and pointer on handle are pointed in the same direction.
| Top is under spring load. Loosen all screws before removing any of them. |
Technical Data
Replacement Parts

Covers Assemblies P/Ns 261049, 261050 and 261142
Item | P/N | Description | Qty. |
| 1 | 272520 | Handle | 1 |
2 | 272405 | Screw – Handle | 1 |
| 3 | 272402 | Washer, Plastic | 1 |
4 | 272412 | Valve Top | 1 |
| 5 | 271193 | Washer – 18 GA | 2 |
6 | 272400 | Spring – Compression | 1 |
| 7 | 272406 | O-ring – Diverter | 1 |
8 | 272413Z | Diverter | 1 |
| 9 | 272409 | Seal -Diverter | 1 |
10 | 98211400 | Nut – 1/4″ – 20 Hex | 8 |
| 11 | 272415 | Plat – 2″ Valve Bottom | 1 |
12 | 272403 | Screw – 1/4″ – 20 | 8 |
| * | 272422 | Valve Top Assembly | 1 |
*This part number includes items 1 thru 9
Note: When replacing gasket P/N 272409, secure it to valve bottom with an instant cyaocrylate adhesive suitable for bonding rubber to plastic.
Head Loss Curves


IMPORTANT SAFETY INSTRUCTIONS
Important Notice:
This guide provides installation and operation instructions for this product. Consult Pentair with any questions regarding this equipment.
Attention Installer: This guide contains important information about the installation, operation and safe use of this product. This information shouldbe given to the owner and/or operator of this equipment after installation or left on or near the filter.
Attention User: This manual contains important information that will help you in operating and maintaining this filter. Please retain it for future reference.
READ AND FOLLOW ALL INSTRUCTIONS
|
Before installing this product, read and follow all warning notices and instructions which are included.
Failure to follow safety warnings and instructions can result in severe injury, death, or property damage. Call (800) 831-7133 for additional free copies of these instructions.
Consumer Information and Safety
This filter is designed and manufactured to provide many years of safe and reliable service when installed, operated and maintained according to the information in this manual and the installation codes referred to in later sections. Throughout the manual, safety warnings and cautions are identified by the “
” symbol. Be sure to read and comply with all of the warnings and cautions.
Do not operate the filter until you have read and understand clearly all the operating instructions and warning messages for all equipment that is a part of the pool circulating system. The following instructions are intended as a guide for initially operating the filter in a general pool installation, however each installation may have unique conditions where the starting procedure could be different. Failure to follow all operating instructions and warning messages can result in severe injury, death, or property damage.
Do not permit children to use or operate this filter.
Use only a PTFE or silicone based lubricant when lubricating the O-rings on the union and bulkhead couplings. Use of petroleum based products will damage the equipment.
FILTER OPERATES UNDER HIGH PRESSURE.
When any part of the circulating system, (e.g., clamp, pump, filter, valve(s), etc.), is serviced, air can enter the system and become pressurized. Pressurized air can cause the lid to separate which can result in severe injury, death, or property damage
To avoid this potential hazard, follow these instructions:
- Before repositioning valve(s) and before beginning the assembly, disassembly, or adjustment of the clamp or any other service of the circulating system: (A) Turn the pump OFF and shut OFF any automaticcontrols to ensure the system is NOT inadvertently started during the servicing; (B) open the manual air relief valve; (C) stand clear of the filter; (D) wait until all pressure is relieved.
- Whenever installing the filter clamp FOLLOW THE FILTER CLAMP INSTALLATION INSTRUCTIONS EXACTLY.
- Once service on the circulating system is complete FOLLOW SYSTEMRESTART INSTRUCTIONS EXACTLY.
- Maintain circulation system properly. Replace worn or damaged parts immediately, (e.g., clamp, pressure gauge, valve(s), o-rings, etc).
- Be sure that the filter is properly mounted and positioned accordingto instructions provided.
![]()
Due to the potential risk that can be involved it is recommended that the pressure test be kept to the minimum time required by the local code. Do not allow people to work around the system when the circulation system is under pressure test. Post appropriate warning signs and establish a barrier around the pressurized equipment. If the equipment is located in an equipment room, lock the door and post a warning sign.
Never attempt to adjust any closures or lids or attempt to remove or tighten bolts when the system is pressurized. These actions can result in a separation or failure of system components. This instantaneous release of energy can cause components to be accelerated to high velocities and to travel far distances. These components could cause severe personal injury or death if they were to strike a person.![]()
Never exceed the maximum operating pressure of the system components. Exceeding these limits could result in a component failing under pressure.
This instantaneous release of energy can cause the closure to separate and could cause severe personal injury or death if they were to strike a person.![]()
RISK OF ELECTRICAL SHOCK OR ELECTROCUTION
This filter must be installed by a qualified service professional in accordance with the National Electrical Code and all applicable local codes and ordinances. Always disconnect power to the equipment at the circuit breaker before servicing any of the equipment. Ensure that the disconnected circuit is locked out or properly tagged so that it cannot be switched on while you are working on the pool equipment. Failure to do so could result in serious injury or death to serviceman, pool users or others due to electric shock.
Position the filter and the air relief valve to safely direct water drainage and purged air or water. Water discharged from an improperly positioned filter or valve can create an electrical hazard that can cause severe personal injury as well as damage property.
This filter is intended for use in swimming pool applications. Most states and local codes regulate the construction, installation, and operation of public pools and spas, and the construction of residential pools and spas. It is important to comply with these codes, many of which directly regulate the installation and use of this product. Consult your local building and health codes for more information.
SERIOUS BODILY INJURY OR DEATH CAN RESULT IF THIS FILTER IS NOT INSTALLED AND USED CORRECTLY.
INSTALLERS, POOL OPERATORS AND POOL OWNERS MUST READ THESE WARNINGS AND ALL INSTRUCTIONS BEFORE USING THIS FILTER
![]()
HAZARDOUS PRESSURE: STAND CLEAR OF PUMP AND FILTER DURING START UP
Circulation systems operate under high pressure.
When any part of the circulating system (i.e. locking ring, pump, filter, valves, etc.) is serviced, air can enter the system and become pressurized.
Pressurized air can cause the pump housing cover filter lid and valves to violently separate which can result in severe personal injury or death.
Filter tank lid and strainer cover must be properly secured to prevent violent separation. Stand clear of all circulation system equipment when turning on or starting up pump.
Before servicing equipment, make note of the filter pressure. Be sure that all controls are set to ensure the system cannot inadvertently start during service. Turn off all power to the pump. IMPORTANT: Place filter manual air relief valve in the open position and wait for all pressure in the system to be relieved.
Before starting the system, fully open the manual air relief valve and place all system valves in the “open” position to allow water to flow freely from the tank and back to the tank. Stand clear of all equipment and start the pump.
IMPORTANT: Do not close filter manual air relief valve until all pressure has been discharged from the valve and a steady stream of water appears. Observe filter pres
![]()

For Installation of Electrical Controls at Equipment Pad (ON/OFF Switches, Timers and Automation Load Center)
Install all electrical controls at equipment pad, such as on/off switches, timers, and control systems, etc. to allow the operation (startup, shut-down, or servicing) of any pump or filter so the user does not place any portion of his/her body over or near the pump strainer lid, filter lid or valve closures.
This installation should allow the user enough space to stand clear of the filter and pump during system start-up, shut down or servicing of the system filter.
The following information should be read carefully since it outlines the proper manner of care and operation for your filter system. As a result of following these instructions and taking the necessary preventative care, you can expect maximum efficiency and life from your filtration system.
General Installation Information
The following information should be read carefully since it outlines the proper manner of care and operation for your filter system.
You can expect maximum efficiency and life from your filtration system by following these instructions and taking the necessary preventative care.
- Have a trained pool professional perform all pressure tests.
- Do not connect the system to a high pressure or city water system.
- Trapped air in the system can create a hazardous condition. BE SURE to purge all air from the system before operating or testing equipment.
- DO NOT pressure test with compressed air!
- Piping must conform to local/state plumbing and sanitary codes.
- Support piping independently to prevent strains on filter or valve.
- Fittings restrict flow; for best efficiency, use the fewest possible fittings.
- A check valve installed ahead of the filter inlet will prevent contaminants from draining back into the pool.
- A check valve installed between the filter and heater will prevent hot water from backing up into the filter and deforming the internal components.
- All wiring, grounding and bonding of associated equipment must meet local and/or National Electrical Code standards.
Only a qualified plumbing professional should install this filter. Refer to the “Important Warning and Safety Instructions on pages ii-iii for additional installation and safety information.
IMPORTANT: Keep all warning labels in good condition. If any warnings labels are damaged, missing, or become illegible call Pentair Customer Service at 1-800-831-7133 and request replacement labeling
SAVE THESE INSTRUCTIONS
GENERAL INFORMATION
![]() | THIS SYSTEM OPERATES UNDER HIGH PRESSURE. When any part of the circulating system (e.g., Lock Ring, Pump, Filter, Valves, etc.) is serviced, air can enter the system and become pressurized. Pressurized air can cause the lid to separate which can result in serious injury, death, or property damage. To avoid this potential hazard, follow the instructions below. |
Filter Operation Information
Read and follow all instructions and warnings before installing or servicing your FNS® Plus Vertical Grid D.E. Filter. Proper installation and operation can prevent unnecessary repairs and maintenance.
- This filter operates under pressure and operates in a safe manner if clamped properly and without air in the circulating system.
- The maximum working pressure of this filter is 50 psi. Never subject this filter to pressure in excess of this amount, even when conducting hydrostatic pressure tests.
- Be sure the maximum working pressure of the filter system does not exceed the maximum working pressure of any components within the system during hydrostatic or external leak tests. Consult the maximum pressure stated on each component of the system.
- The pressure gauge is the primary indicator of how the filter is operating. Maintain your pressure gauge in good working order.
- If filter operates without diatomaceous earth (D.E.) for more than three (3) minutes, filter elements may be damaged.
Maintaining the Pressure Gauge
The pressure gauge is the primary indicator of how the system operates. It is critical to keep the pressure gauge in good condition.
Replace pressure gauge (P/N 190059) if any of the requirements below are not met:
- Pressure gauge at zero (0) when pressure is relieved and system is turned off.
- Pressure gauge reads correctly while system is in operation.
- The pressure gauge is readable and not damaged in any way.
Pressure Tests
When performing hydrostatic pressure tests or when testing for external leaks of the completed filtration andplumbing system, ensure that the Maximum Pressure that the filtration system will be subjected to DOES NOT
EXCEED THE MAXIMUM WORKING PRESSURE OF ANY OF THE COMPONENTS CONTAINED WITHIN THE SYSTEM.
In most cases, the maximum pressure will be stated on each component of the system. If doubt exists as to the pressure to which the system will be subjected, install an ASME approved automatic Pressure Relief or Pressure Regulator in the circulation system set to the lowest working pressure of all of the components in the system.
![]() | RISK OF ELECTRICAL SHOCK OR ELECTROCUTION. Position the filter and High Flow manual air relief valve to safely direct water drainage and purged air or water. Water discharged from an improperly positioned filter or valve can create an electrical hazard that can cause severe personal injury as well as damage property. |
INSTALLATION
General Installation Information
- Your FNS® Plus Vertical Grid D.E. Filter requires one of the following accessories which must be purchased separately.:
a. Push-Pull valve
b. Multiport valve
c. Bulkhead union set - Make all plumbing connections in accordance with local plumbing and building codes. Filter plumbing connections are provided with an O-ring seal. To avoid damage to the O-rings, use only a silicone base lubricant on the O-rings. Do not use pipe joint compound, glue or solvent on the bulkhead connections.
- Remove the plug from the top of the filter lid and install the pressure gauge before use.
- The maximum working pressure of this filter is 50 psi. Never subject this filter to pressure in excess of this amount – even when conducting hydrostatic pressure tests.
When performing hydrostatic pressure tests or when testing for external leaks of the completed filtration and plumbing system, ensure that the maximum pressure that the filtration system will be subjected to DOES NOT EXCEED THE MAXIMUM WORKING PRESSURE OF ANY OF THE COMPONENTS CONTAINED WITHIN THE SYSTEM. In most cases, the maximum working pressure will be stated on each component of the system.
If doubt exists as to the pressure to which the system will be subjected, install an ASME approved automatic Pressure Relief or Pressure Regulator in the circulation system for the lowest working pressure of any of the components in the system.
Filter Location
- Mount the filter on a level concrete slab. Position the filter so that instructions, warnings and the pressure gauge are visible to the operator.
- Position the filter so that the piping connections, control valve and drain port are convenient and accessible for servicing and winterizing.
- Install electrical controls (e.g., on/off switches, timers, controlsystems, etc.) at least five (5) feet from the filter. This will allow you enough room to stand clear of the filter during system start up.
- Allow sufficient clearance around the filter to permit visual verification that the clamp is properly installed around the tank flanges, see
Figure 1.
Note: Tap the clamp with a mallet or similar tool to ensure uniform loading during clamp tightening. - Allow sufficient space above the filter to remove the filter lid for cleaning and servicing. This distance will vary with the model of filter you are using. See Table 1 for the required vertical clearance.
Table 1
Model Size Vertical Clearance Req NSF FNSP 24 24 sq. ft. 48 in yes FNSP 36 36 sq. ft. 62 in. yes FNSP 48 48 sq. ft. 74 in yes FNSP 60 60 sq. ft. 86 in. yes - Position the filter to safely direct water drainage. Rotate the High Flow™ Manual Air Relief Valve to safely direct purged air or water. Water discharged from an improperly positioned filter or valve can create an electrical hazard as well as damage property
| Risk of electrical shock or electrocution. Position the filter and manual air relief valve to safely direct water drainage and purged air or water. Water discharged from an improperly positioned filter or valve can create an electrical hazard that can cause severe personal injury as well as damage property. |
Filter Clamp Installation
Follow these instructions exactly to prevent the lid from separating during system startup or operation.
- Turn off the pump and any automatic controls.
- Open the High Flow™ Manual Air Relief Valve and turn counterclockwise until it snaps into the full open position. Wait until all pressure is relieved before assembly, disassembly, or servicing.
- Be sure the O-ring is clean and in position on the lower tank half. Place the FNS® Plus Vertical Grid D.E. Filter lid onto the lower tank half so the O-ring fits in betweenthe tank halves.
- Hold the ends of the filter clamp apart and place over both upper and lower tank flanges. Bring the ends of the filter clamp together.
- Insert the T-bolt through the other side of the clamp and hold together.
- Place the small washer onto the T-bolt.
- Place the larger washer and spring onto the barrel nut then place onto T -bolt and tighten the nut by hand. Be sure filter clamp is fully engaging both tank flanges.
- First tighten the nut using a 7/8 in. wrench and then tap around the outside of filter clamp with a rubber mallet (or similar tool) multiple times around the entire clamp to fit the clamp properly. Continue to tighten only until the spring coils touch.
Note: The clamp is installed correctly only when the spring coils remain touching after tapping the clamp (see Figure 3). If the clamp spring coils do not touch after tapping then continue to tighten the nut as instructed above in Step 8.

- Continue on to System Startup Instructions on page 5
| Note: Check the spring coils at least once a month to ensure proper tension. If spring coils do not touch, turn the system off to tighten the nut and tap filter clamp until the coils touch, and restart. |
![]() | FILTER OPERATES UNDER HIGH PRESSURE. When any part of the circulating system, (e.g., clamp, pump, filter, valve(s), etc.), is serviced, air can enter the system and become pressurized. Pressurized air cancause the lid to separate which can result in severe injury, death, or property damage. To avoid this potential hazard, follow these instructions:
|
SYSTEM START UP AND OPERATION
![]() | THIS FILTER OPERATES UNDER HIGH PRESSURE. Never subject this filter to pressure in excess of the maximum pressure – even when conducting hydrostatic pressure tests. Pressures above the maximum psi pressure can cause the lid to separate, which can result in severe injury, death or property damage. |
Preparing Diatomite
The filter requires diatomaceous earth (D.E. or diatomite) for proper filtration and operation. Your filter elements must be precoated with this material in order to protect their surfaces and provide the most efficient filtering action. Refer to Table 2 for the proper quantity to use with your filter. We recommend the use of D.E. which is sold and labeled for use with swimming pools and spas. These grades of D.E. typically have a median particle size of 34 microns, which is ideal for most applications.
Table 2 | ||
Filter Area (sq. ft.) | Weight of D.E. | No. of 1lb. Coffee Cans |
| 24 | 2.4 lbs. | 6 |
36 | 3.6 lbs. | 8 |
| 48 | 4.8 lbs. | 10 |
60 | 6.0 lbs. | 12 |
- FNS® Plus Vertical Grid D.E. filters are listed with the appropriate amounts of diatomite to be used to precoat the filter elements. A one (1) pound coffee can filled (level) with diatomite is equal to one half pound weight of diatomaceous earth. Do not “pack” or compress diatomite into the coffee can.
- Mix the required amount of diatomite with sufficient water in a bucket to make a thin, milky mixture.
- Follow the instructions below in Coating Filter Elements with D.E. to introduce the slurry of diatomite into the filter
Coating Filter Elements with D.E.
| The following information should be read carefully since it outlines the proper manner of care and operation for your filter system. As a result of following |
- Push-Pull Valve
a. Push handle on valve down with slight twisting motion as far as it will go. Lock upper pin in cap. Open High Flow™ Manual Air Relief Valve on the filter. Proceed with steps 2.b to 2.g, below. - Multiport Rotary Valve
a. Position valve to FILTER OR VACUUM TO POOL setting. This is your normal flow from the pump through the filter to the pool. Open the manual air relief valve on the filter. Proceed with steps 2.b to 2.g, below.
b. Prepare recommended amount of diatomaceous earth by mixing it with water in a bucket until it is the consistency of milk; see Preparing Diatomite above.
c. On initial start-up the pump must be primed by filling the hair and lint strainer pot with water. You may have to do this several times.
d. Follow the steps outlined in on page 5 for system start-up.
e. Introduce the slurry of diatomite from the bucket directly into the top of the skimmer. With the pump running and the pool skimmer valve open, pour the mixture directly into the skimmer. The slurry will be drawn into the filter.
f. Your filter is now operational. Note the original starting pressure on the gauge and record it below.
g. Clean your filter when pressure reads between 10 to 12 psi higher than the original starting pressure. Your filter pressure reading will increase as it removes dirt from your pool. However, this build-up of pressure will vary due to different bathing loads, temperature, weather conditions, etc.
h. MY ORIGINAL STARTING PRESSURE IS ___________ psi (pounds per square inch). I SHOULDBACKWASH AT __________ psi.
Note: If the starting pressure after backwashing the filter or cleaning the elements indicates 4 to 5 psi higher than the normal starting pressure, the filter elements must be cleaned. Refer to step 1, Cleaning the Filter Elements, on page 7.
System Startup Instructions
- Open the High Flow™ Manual Air Relief Valve until it snaps into the full open position (this only requires a quarter turn counter clockwise). Opening this valve rapidly releases air trapped in the filter.
- Stand clear of the filter tank, then start the pump.
- Close the manual air relief valve after a steady stream of water appears.
- The system is not working properly if:
a. A solid stream of water does not appear within 30 seconds after the pump’s inlet basket fills with water.
b. The pressure gauge indicates pressure before water out-flow appears.
If either condition exists, shut off the pump immediately, open valves in the water return line to relieve pressure, and clean the air relief valve; see Cleaning the Manual Air Relief Valve on page 8. If the problem persists, call Customer Service at (800) 831-7133.
MAINTENANCE
Manually Cleaning the Filter
- Turn the pump off, shut off any automatic controls to ensure that the system is not inadvertently started during servicing.
- Automatic skimmer should have trimmer valve set to 100% skimmer. This will close off the main drain line. If there is a separate skimmer line and main drain line plumbed to the pump, close the main drain valve.
- Open the FNS® Plus Vertical Grid D.E. Filter manual air relief valve, and the waste drain valve or plug if your system has one.
- Remove the pump’s hair and lint strainer pot lid and clean the basket. Replace basket and secure lid. Follow the instructions provided with your pump.
- Never attempt to assemble, disassemble or adjust the filter clamp while there is pressure in the filter.
Release the tank clamp assembly and remove tank lid. Lift out the complete element for washing. Care should be taken not to lose or damage the internal air relief, located on top of the manifold. - Using your garden hose, thoroughly flush off all contaminated diatomite from the filter element surfaces.
Note: To clean individual grids, see Step 1 of Cleaning the Filter Elements on page 7. - After coating the stand-pipe O-ring generously with a silicone base lubricant, replace the element assembly in the filter tank, seating it firmly in place. Ensure the internal air bleed assembly is in place and free of diatomite or debris, see Cleaning the Internal Air Bleed Tube on page 8.
- Ensure the O-ring is in position in the lower tank half. Place and press the filter lid over the lower tank half sandwiching the O-ring in between.
- Replace tank top and carefully follow instructions on page 3, Filter Clamp Installation.
- Reset skimmer Trimmer Valve or main drain line to pump; close waste drain valve or plug, and then follow the procedure as outlined on page 4, Coating Filter Elements with D.E
Cleaning the Filter Using a System with a Separation Tank
- Before working on any part of the circulating system, clamp, pump, filter, valve(s), etc., perform the following steps.
a. Turn the entire pool/spa system off to ensure that the system is not inadvertently started during servicing.
b. Open the High Flow™ Manual Air Relief Valve.
c. Wait until all pressure is relieved. Never attempt to assemble, disassemble or adjust the filter clamp while there is pressure in the filter. - Turn skimmer to full skim position and close main drain line.
- Remove pump lid and clean basket. Replace basket and secure lid.
- Valve Procedures.
a. Push-Pull Valve.
- Twist to unlock plunger, then raise handle as far as it will go. Turn handle clockwise to lock lower pin in underside of cap.
- Open the manual air relief valve until it snaps into the full open position (this only requires a quarter turn counter-clockwise). Opening this valve rapidly releases air trapped in the filter.
- Stand clear of the filter tank, then start the pump.
- Close the manual air relief valve after a steady stream of water appears.
- When water flows clear in sight glass or discharge line, shut off pump.
- Position the Push-Pull valve to the normal FILTER setting by lowering the handle and twisting it to the locked position.
- Open manual air relief valve on top of separation tank, wait for water to stop draining from Air Relief.
- Loosen Separation Tank clamp and lift off Separation Tank lid.
Cleaning the Filter Using a System with a Separation Tank (cont.) - Remove bag and dispose of diatomite in trash can. Replace clean bag and set bag in seat (curved portion of Separation Tank). Put plastic hold-down in place to prevent earth from going back into pool, one double bag is furnished with Separation Tank
Note: Filter waste and diatomite are trapped by the heavy-duty double lined Separation Tank bag. Contents are to be placed in a waste or trash container, clean the bag and re-insert in the Separation Tank. DO NOT
LEAVE THE SEPARATION TANK BAG EXPOSED IN THE SUN. The manufacturer cannot assume any responsibility for torn, or damaged bags, if left in the sun to dry. - Replace Separation Tank lid and secure Separation Tank lid clamp. Follow instructions on page 3, Filter Clamp Installation.
- Leave valve in normal FILTER position.
- Follow instructions on page 5 to start up filter.
- Introduce the recommended amount of diatomite per Table 2, on page 4. Your filter is now in operation.
b. Multiport Rotary Valve.
After completing steps 1 to 3 of the Push-Pull Valve section on the previous page, perform the following steps:
- Position valve to BACKWASH setting.
- Open the High Flow™ Manual Air Relief Valve until it snaps into the full open position (this only requires a quarter turn counter-clockwise). Opening this valve rapidly releases air trapped in the filter.
- Stand clear of the filter tank, then start the pump.
- Close the manual air relief valve after a steady stream of water appears.
- When sight glass shows a clear flow of water, shut off pump.
- Position Multiport Rotary valve to CLOSED setting.
- Follow steps 7-13 in the Push-Pull Valve section, above.
Cleaning the Filter Elements
To completely disassemble the filter element assembly for a more thorough cleaning of the individual elements, stand the element assembly on the deck exactly as it comes out of the filter with themanifold on top
- Disassembly:
a. Remove plastic stand-offs from tie rod ends (on some models).
b. Using a 1/2 in. wrench or deep socket, remove both nuts from the manifold.
c. Remove top manifold by holding lift handles and pulling straight up.
d. Gently remove the plastic template from the elements.
e. Remove elements one at a time from the bottom spreader. - Cleaning with water:
a. Using a garden hose, thoroughly flush off all contaminated diatomite from the filter element surfaces. - Cleaning with muriatic acid:


Working with muriatic acid can be dangerous. When cleaning elements always wear rubber gloves and eye protection.
Add acid to water, do not add water to acid. Splashing or spilling acid can cause severe personal injury and/or property damage.a. A stiffening of the fabric caused by mineral deposits is usually referred to as “liming up”. It usually is due to deposits of either magnesium or calcium or both. Removal of these deposits may be accomplished by soaking the filter elements in six (6) parts water to one (1) part hydrochloric acid (muriatic acid).
b. Wear rubber gloves and eye protection when mixing the solution, and handling or rinsing the filter elements.
c. Soak for at least four (4) hours in a plastic tub or pail.
d. Rinse filter elements thoroughly in tap water. - Reassemble:
a. Starting with the “SMALL GRID” element, place the element on the bottom spreader in the position marked
“SMALL GRID” using the “foot print” pattern as a guide for proper location.
b. Continue positioning the remaining elements onto the spreader in the same manner as the small element.
c. After all elements have been positioned on the bottom spreader, place the plastic template over the element spouts. This will keep the elements positioned correctly.
d. Position the top manifold over the elements with the stand pipe inlet port pointing in the direction of the small element. Using moderate force push down on the manifold to seat it on to the elements. Ensure template is not caught or trapped between manifold and element spouts.
e. Replace the two nuts and the two plastic stand-offs, (if equipped).
f. Replace the completed element assembly into the filter tank.
Cleaning the Internal Air Bleed Tube
It is recommended that the air bleed tube and screen cap be routinely inspected and cleaned. This can easily be done while the FNS® Plus Vertical Grid D.E. Filter lid has been removed for routine maintenance or cleaning.
- Remove the screen cap from the air bleed tube and rinse both components with water to clean away built-up debris. Typically, this is all that is needed to properly clean the air bleed assembly
Cleaning the Manual Air Relief Valve

- Turn the pump and any automatic controls off to ensure that the system is not inadvertently started during servicing.
- Open the High Flow™ Manual Air Relief Valve until it snaps into the full open position and wait until all pressure is released from the system.
- With the manual air relief valve attached to the filter tank, pull out the locking tabs and remove the valve stem and cover assembly with a counter-clockwise and lifting motion. See Figure 4.
- Clean debris from the valve stem and body. Insert a 5/16” drill bit through the valve body to ensure the filter tank’s air passage is open.
- Be sure the O-rings are in good condition, properly positioned, and lubricated with a silicone base lubricant.
- Reinstall the valve stem and cover assembly with a downward and clockwise motion until it snaps into position.
A. AIR ENTERING YOUR FILTER IS DANGEROUS.
- Air entering your FNS® Plus Vertical Grid D.E. Filter can cause the filter lid and filter base to separate. Correct any conditions in your filtration system that allow air to enter the system. Some common ways to identify air entering the system are listed below.
a. Low water level in pool or spa – skimmer is starving for water with pump running. Add water to pool or spa.
b. Air bubbles or low water level in pump hair and lint pot are caused by the following factors:
(1) Low water level.
(2) Clogged skimmer basket.
(3) Split suction cleaner hose.
(4) Leak in pump hair and lint pot lid.
(5) Leak in pump suction line.
c. Air bubbles coming out of water return lines into pool or spa with pump running, see steps A.1.a-b, above.
d. Air is discharged from the High Flow™ Manual Air Relief Valve on top of the filter when the valve is opened with the pump running, see steps A.1a-b above.
B. LIMING-UP.
- A stiffening of the fabric caused by mineral deposits. It usually is due to deposits of either magnesium or calcium or both.
a. Removal of these may be accomplished by soaking the grids in six (6) parts water to one (1) part hydrochloric acid (muriatic acid). Refer to Cleaning with Muriatic Acid, under Cleaning Filter Elements on page 7.
C. CLOUD OF DIRT.
- A brief “cloud” of dirt may appear immediately when the filter starts. This is a characteristic of diatomite filters.
D. SHORT FILTER RUNS.
- Until the water initially put into the pool has been completely filtered, short filter runs are normal. In most cases, pool owners are dismayed by the undesirable color and appearance of water in a newly filled pool. Plaster dust can be responsible for short filter runs, requiring frequent cleaning.
E. PRESSURE DROPS ON GAUGE.
- If pressure drops on gauge, shut off power to pump and turn motor shaft with your fingers. If it turns freely then the pump must be disassembled and the impeller checked to see if it is clogged. If it is not frozen or clogged then there is an obstruction in the line between the pool and the pump.
F. PRESSURE REMAINS HIGH AFTER BACKWASH.
- If pressure remains high after backwash – backwash filter again. If still high, treat for conditions covered by item B above.
G. MAINTAIN YOUR PRESSURE GAUGE IN GOOD WORKING ORDER.
- The pressure gauge is an important part of the filter system. It is your primary indicator of how the system is operating. Check the operation of your pressure gauge in the following manner.
a. The pressure gauge should go to zero (0) when the system is turned off and pressure is relieved.
b. The pressure gauge should indicate pressure when the system is operating.
c. The pressure gauge should be readable and not damaged in any way.
d. Replace the pressure gauge if it is not meeting the requirements of items “A” through “C” of this section.
H. DIATOMITE IS CONTINUOUSLY ENTERING THE POOL.
- Inspect the elements for any tears or holes. Inspect the internal air bleed sock for tears and proper installation.
TECHNICAL DATA

| Item No. | Part No. | Description |
| 1 | 53003201 | Gauge, pressure |
| 2 | 98209800 | High Flow Manual Air Relief Valve (HFMARV) |
| 3 | 98201200 | Hose and retainer clips for HFMARV (Optional accy.) |
| 4 | 58001100 | Nut, knurled brass |
| 5 | 59000800 | Tie Rod, 24 sq. ft. filter |
| 5 | 59001500 | Tie Rod, 36 sq. ft. filter |
| 5 | 59002100 | Tie Rod, 48 sq. ft. filter |
| 5 | 59002700 | Tie Rod, 60 sq. ft. filter |
| 6 | 59023700 | Manifold, top with air bleed |
| 7 | 59023600 | Internal air bleed assembly |
| 8 | 98725800 | Template, filter |
| 9 | 59001100 | Grid, lg. 12 in., 24 sq. ft. filter |
| 9 | 59001800 | Grid, lg. 18 in., 36 sq. ft. filter |
| 9 | 59002400 | Grid, lg. 24 in., 48 sq. ft. filter |
| 9 | 59003000 | Grid, lg. 30 in., 60 sq. ft. filter |
| 10 | 59001000 | Grid, sm. 12 in., 24 sq. ft. filter |
| 10 | 59001700 | Grid, sm. 18 in., 36 sq. ft. filter |
| 10 | 59002300 | Grid, sm. 24 in., 48 sq. ft. filter |
| 10 | 59002900 | Grid, sm. 30 in., 60 sq. ft. filter |
| 11 | 59023800 | Assy., element grid, complete, 24 sq. ft. filter |
| 11 | 59023500 | Assy., element grid, complete, 36 sq. ft. filter |
| 11 | 59023400 | Assy., element grid, complete, 48 sq. ft. filter |
| 11 | 59023300 | Assy., element grid, complete, 60 sq. ft. filter |
| 12 | 98211400 | Nut, 1/4-20, plated brass |
| 13 | 59000500 | Spider, grid locator |
| 14 | 58001000 | Nut, lock, hex, nylon |
| 15 | 39010200 | O-ring, tank clamp (.470 O.D.) |
| 16 | 190003 | Clamp, kit |
| 17 | 195610 | Washer, small I.D. |
| 17a | 195611 | Washer, large I.D. |
| 18 | 194997 | Nut, machined |
| 18a | 195612 | Spring |
| 19 | 190034 | Assy., standpipe, outlet, 24 sq. ft. filter |
| 19 | 190035 | Assy., standpipe, outlet, 36 sq. ft. filter |
| 19 | 190036 | Assy., standpipe, outlet, 48 sq. ft. filter |
| 19 | 190037 | Assy., standpipe, outlet, 60 sq. ft. filter |
| 20 | 86006900 | O-ring, bulkhead |
| 21 | 271096 | Bulkhead union (set) |
| 22 | 190043 | Assembly, pipe, inlet |
| 23 | 51005000 | O-ring for drain plug |
| 24 | 86202000 | Plug, 1½ in. drain, with O-ring |
| 25 | 170015 | Tank, bottom, assy., 24 sq. ft. filter |
| 25 | 170016 | Tank, bottom, assy., 36 sq. ft. filter |
| 25 | 170017 | Tank, bottom, assy., 48 sq. ft. filter |
| 25 | 170018 | Tank, bottom, assy., 60 sq. ft. filter |
| 26 | 170019 | Lid, assy., 24 sq. ft. filter |
| 26 | 170020 | Lid, assy., 36 sq. ft. filter |
| 26 | 170021 | Lid, assy., 48 sq. ft. filter |
| 26 | 170022 | Lid, assy., 60 sq. ft. filter |
| 27 | 192320 | O-ring, bulkhead |
| 28 | 59000600 | O-ring 2-137 Buna N 70SH |
| 29 | 194801 | Bulkhead, 2 in. |
| 30 | 195339 | Ring, back-up |
Performance Curve

Flow Rates
FNS® Plus Vertical Grid D.E. Filters | |||||
This flow rate is based on 2.5 GPM sq. ft. of filter area | |||||
sq. ft. | Height | GPM | GPH | 6 hour | 8 hour |
24 | 37″ | 60 | 3,600 | 21,600 | 28,800 |
| 36 | 43″ | 90 | 5,400 | 32,400 | 43,200 |
48 | 49″ | 120 | 7,200 | 43,200 | 57,600 |
| 60 | 55″ | 150 | 9,000 | 54,000 | 72,000 |

1620 HAWKINS AVE., SANFORD, NC 27330 • (919) 566-8000
10951 WEST LOS ANGELES AVE., MOORPARK, CA 93021 • (805) 553-5000
All indicated Pentair trademarks and logos are property of Pentair Inc. or its global affiliates in the U.S.A and/or other countries. Third party registered and unregistered trademarks and logos are the property of their respective owners. Because we are continuously improving our products and services, Pentair reserves the right to change specifications without prior notice. Pentair is an equal opportunity employer.
© 2020 Pentair. All rights reserved. This document is subject to change without notice.

This is the safety alert symbol.





















