W 300-5 P Hot Water Tank
Installation Guide
Explanation of symbols
1.1 Explanation of symbols
Warnings
Warnings are indicated in the text by a warning triangle with a grey background and are framed.
Signal words at the start of a warning indicate the type and seriousness of the ensuing risk if measures to prevent the risk are not taken.
- NOTICE indicates that material damage may occur.
- CAUTION indicates a hazardous situation which, if not avoided, could result in minor to moderate injury.
- WARNING indicates possible severe personal injury.
- DANGER indicates that personal injury with a danger to life may occur.
Important information
This symbol indicates important information where there is no risk to people or property. It is separated by horizontal lines above and below the text.
Additional symbols
| Symbol | Meaning |
| ▶ | Action step |
| → | Cross-reference to other points in this document or to other documents |
| • | Listing/list entry |
| – | Listing/list entry (2nd level) |
Table 1
1.2 General safety instructions
General
These installation and maintenance instructions are intended for specialists.
Failure to observe the safety instructions can result in serious injuries.
▶ Read and follow the safety instructions.
▶ Observe these installation and maintenance instructions to ensure trouble-free operation.
▶ Install and commission heat sources and their accessories according to the relevant installation instructions.
▶ To reduce oxygen permeation and therefore corrosion to a minimum, do not use vapourpermeable components!
▶ Never close the pressure relief valve.
▶ Only use original spare parts!
About the product
2.1 Intended use
The DHW cylinder is designed for heating and storing potable water.
Please observe national, regional, and local codes, regulations, guidelines and standards for potable water.
Install this DHW cylinder only in sealed unvented systems.
Any other purpose is considered improper use. Any resulting damage from prohibited usage is excluded from liability.
| Requirements for potable water | Unit | |
| Water hardness, min. | ppm grain/US gallon °dH | 36 2.1 2 |
| pH value, min. – max. | 6.5 – 9.5 | |
| Conductivity, min. – max. | μS/cm | 130 – 1500 |
Table 2 Requirements for potable water
2.2 Data plate
The data plate is located at the top rear of the DHW cylinder and includes the following details:
| Item | Description |
| 1 | Model designation |
| 2 | Serial number |
| 3 | Actual capacity |
| 4 | Standby heat loss |
| 5 | Volume heated by immersion heater |
| 6 | Year of manufacture |
| 7 | Corrosion protection |
| 8 | Max. DHW temperature, cylinder |
| 9 | Max. flow temperature, heat source |
| 10 | Max. flow temperature, solar |
| 11 | Connected electrical load |
| 12 | Heating water heat input |
| 13 | Heating water flow rate for heating water heat input |
| 14 | Output volume at 40 °C electrically heated |
| 15 | Max. operating pressure on the domestic hot water side |
| 16 | Highest design pressure |
| 17 | Max. operating pressure on the heat source side |
| 18 | Max. operating pressure, solar side |
| 19 | Max. operating pressure on the domestic hot water side, CH |
| 20 | Max. test pressure on the domestic hot water side, CH |
| 21 | Max. DHW temperature with electric heating |
Table 3 Data plate
2.3 Supplied parts
- Hot water cylinder
- Installation and maintenance instructions
2.4 Specifications
| Unit | W 300-5 P | W 400-5 P | |
| General information | |||
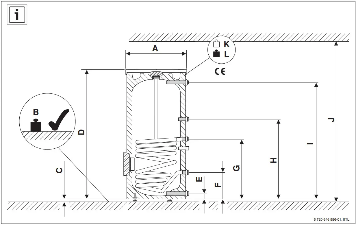
| Dimensions | → Fig. 1, page 57 | ||
| Tilt height | mm | 1655 | 1965 |
| Minimum room height for anode replacement | mm | 1850 | 2100 |
| Connections | → Tab. 5, page 28 | ||
| Connection size, DHW | DN | R1″ | R1″ |
| Connection size, cold water | DN | R1″ | R1″ |
| Connection size, circulation | DN | R¾ “ | R¾ “ |
| Inner diameter, test point, cylinder temperature sensor | mm | 19 | 19 |
| Dry weight (excluding packaging) | kg | 105 | 119 |
| Total weight when filled | kg | 405 | 509 |
| Cylinder capacity | |||
| Useful capacity (overall) | l | 294 | 381 |
| Usable DHW volume1) with DHW outlet temperature2): | |||
| 45 °C | l | 420 | 544 |
| 40 °C | l | 490 | 635 |
| Standby heat loss in accordance with DIN 4753 Part 83) | kWh/24h | 1.6 | 2.12 |
| Maximum flow rate, cold water inlet | l/min | 30 | 39 |
| Maximum DHW temperature | °C | 95 | 95 |
| Maximum operating pressure, potable water | bar (positive) | 10 | 10 |
| Highest design pressure (cold water) | bar (positive) | 7.8 | 7.8 |
| Maximum DHW test pressure | bar (positive) | 10 | 10 |
| Heat exchanger | |||
| Content | l | 8.8 | 12.1 |
| Surface area | m2 | 1.3 | 1.8 |
| Performance factor NL according to DIN 47084) | NL | 7.8 | 12.5 |
| Continuous output (at 80 °C flow temperature, 45 °C DHW outlet temperature and 10 °C cold water temperature) | kW l/min | 36.5 15 | 56 23 |
| Heat-up time at rated output | min | 39 | 41 |
| Maximum heat input 5) | kW | 36.5 | 56 |
| Maximum heating water temperature | °C | 160 | 160 |
| Maximum heating water operating pressure | bar (positive) | 16 | 16 |
| Connection size, heating water | DN | R1″ | R1″ |
| Pressure drop diagram | → Fig. 2, page 58 | ||
Table 4 Dimensions and specifications (→ Fig. 1, page 57 and Fig. 3, page 58)
- Without recharging; set cylinder temperature 60 °C
- Mixed water at draw-off point (at 10 °C cold water temperature)
- Distribution losses outside the DHW cylinder are not taken into account.
- The performance factor NL=1 according to DIN 4708 for 3.5 persons, standard bath tub and kitchen sink. Temperatures: cylinder 60 °C, outlet 45 °C and cold water 10 °C. Measured at max. heat output. If the heat output is reduced, NL becomes smaller.
- In the case of heat sources with a higher heat output, limit to the stated value.
2.5 Product information
| Item | Description |
| 1 | DHW outlet |
| 2 | DHW circulation connection |
| 3 | Cylinder flow |
| 4 | Sensor pocket for temperature sensor, heat source |
| 5 | Cylinder return |
| 6 | Cold water inlet |
| 7 | Heat exchanger for reheating by wall mounted boiler, smooth enamelled tubing |
| 8 | Inspection aperture for maintenance and cleaning at the front |
| 9 | Storage cylinder, enamelled steel |
| 10 | Magnesium anode with electrical insulation |
| 11 | PS top cover |
| 12 | Casing, painted sheet metal with rigid polyurethane foam thermal insulation, 50 mm |
Table 5 Product description (→ Fig. 3, page 58 and Fig. 11, page 61)
2.6 Product data for energy consumption
The following product data complies with the requirements of EU Regulations 811/2013 and 812/2013 supplementing EU Directive 2017/1369.
Implementation of these directives, with the ErP values indicated, allows manufacturers to use the “CE” mark.
| Article number | Product type | Cylinder volume (V) | Heat retention loss (S) | Energy efficiency class for DHW treatment |
| 7 735 502 330 7 735 502 331 | W 300-5 P1 B W 300-5 P B | 294.0 l | 67,7 W | B |
| 7 735 500 793 8 718 541 939 | W 400-5 P1 C WST 400-5 C | 380.9 l | 88.3 W | C |
Table 6
Regulations
Observe the following guidelines and standards:
- Local regulations
- EnEG (Building Regulations) (in Germany)
- EnEV (Energy Savings Order) (in Germany)
Installation of, and equipment for, heating and water heating systems: - DIN and EN standards
– DIN 4753-1 – Water heaters …; requirements, identification, equipment and testing
– DIN 4753-3 – Water heaters …; corrosion protection on the water side through glass lining; requirements and testing (product standard)
– DIN 4753-6 – Water heating systems …; cathodic corrosion protection for enamelled steel cylinders; requirements and testing (product standard)
– DIN 4753-8 – Water heaters … , part 8: Thermal insulation of DHW cylinders up to 1000 l rated content – requirements and testing (product standard)
– DIN EN 12897 – Water supply – regulation for … DHW cylinders (product standard)
– DIN 1988 – Technical rules for potable water installations
– DIN EN 1717 – Protection of potable water against contamination …
– DIN EN 806 – : Technical rules for potable water installations
– DIN 4708 – Central water heating systems - DVGW
– Code of Practice W 551 – Potable water heating systems and pipework; technical measures to inhibit the growth of legionella bacteria in new systems; …
– Code of Practice W 553 – Sizing DHW circulation systems ….
Transport
▶ Secure the DHW cylinder during transportation to prevent it from falling.
▶ Move packed DHW cylinder with a sack truck and lashing strap (→ Fig. 4, page 59).
-or
▶ Move unpacked DHW cylinder with a transport net; during handling, protect connections against possible damage.
Assembly
The DHW cylinder is delivered fully assembled.
▶ Check that the DHW cylinder is complete and undamaged.
5.1 Installation
5.1.1 Requirements for installation location
NOTICE: Risk of damage from inadequate load-bearing capacity of the installation surface or unsuitable floor surface!
▶ Ensure that the installation surface is level and offers sufficient load-bearing capacity.
▶ Place the DHW cylinder on a plinth if there is a risk of water collecting at the installation location.
▶ The installation site must be a dry and frost-free room.
▶ Observe minimum room height (→ Tab. 4 page 27) and minimum wall clearances at installation location (→ Fig. 6, page 59).
5.1.2 Positioning the DHW cylinder
▶ Stand the DHW cylinder upright and level it (→ Fig. 6 to Fig. 8, page 60).
▶ Remove protective caps (→ Fig. 9, page 60).
▶ Apply Teflon tape or Teflon string (→ Fig. 10, page 60).
5.2 Hydraulic connections
WARNING: Risk of fire from soldering and welding!
▶ Take appropriate safety measures when soldering and welding as the thermal insulation is flammable. For example, cover up the thermal insulation.
▶ Check cylinder jacket for damage after completing work.
WARNING: Risk of injury from contaminated water!
Work carried out without due care for cleanliness contaminates the potable water.
▶ Install and equip the DHW cylinder hygienically in accordance with national standards and guidelines.
5.2.1 Connecting the DHW cylinder on the water side
System schematics with all recommended valves (→ Fig. 11, page 61).
▶ Use installation material that is heat-resistant to 160 °C (320 °F).
▶ Never use open, vented expansion vessels.
▶ Use metal connection fittings in potable water heating systems with plastic lines.
▶ Size the drain line in accordance with the connection.
▶ To facilitate debris removal, never install elbows in the drain line.
▶ Keep primary lines as short as possible and insulate them.
▶ If using a non-return valve in the cold water supply: Install a pressure relief valve between the non-return valve and cold water inlet.
▶ Install a pressure reducer if the static system pressure is in excess of 5bar.
▶ Seal all unused connections.
5.2.2 Install a pressure relief valve (provided by the customer)
▶ Install a type-tested pressure relief valve on site that is approved for potable water (≥ DN 20) in the cold water supply (→ Fig. 11, page 61).
▶ Observe the pressure relief valve installation instructions.
▶ Terminate the discharge pipe where it will be easily visible in the frost-proof area via a dewatering point.
– The discharge pipe must be at least equal to the outlet crosssection of the pressure relief valve.
– The discharge pipe must be able to discharge at least the flow rate that is feasible at the cold water inlet (→ Tab. 4, page 27).
▶ Attach a notice with the following text to the pressure relief valve: “Never close the discharge pipe. During heating, water may be discharged for operational reasons.”
If the static system pressure exceeds 80 % of the pressure relief valve excess pressure:
▶ Install a pressure reducer upstream (→ Fig. 11, page 61).
| Gas supply pressure (static pressure) | Pressure relief valve excess pressure | Pressure reducer | |
| in the EU | outside the EU | ||
| < 4.8 bar | ≥ 6 bar | not required | |
| 5 bar | 6 bar | max. 4.8 bar | |
| 5 bar | ≥ 8 bar | not required | |
| 6 bar | ≥ 8 bar | max. 5.0 bar | not required |
| 7.8 bar | 10 bar | max. 5.0 bar | not required |
Table 7 Selection of a suitable pressure reducer
5.3 Installing the hot water temperature sensor
Install the hot water temperature sensor at the test point [7] to measure and monitor the DHW temperature in the DHW cylinder (→ Fig. 3 page 58).
▶ Install the hot water temperature sensor (→ Fig. 12, page 61).
Ensure that the sensor surface has contact with the sensor pocket surface over its full length.
5.4 Immersion heater (accessory)
▶ Install the immersion heater in accordance with the separate installation instructions.
▶ When installation of the cylinder is complete, inspect the ground conductor (including metal connection fittings).
Commissioning
NOTICE: System damage due to positive pressure!
Positive pressure can result in stress cracks in the glass lining.
▶ Never close the discharge pipe of the pressure relief valve.
▶ Commission all assemblies and accessories as specified in the manufacturer’s technical documentation.
Use only potable water to test the tightness of the DHW cylinder.
6.1 Commissioning the DHW cylinder
Use only potable water to test the tightness of the DHW cylinder.
On the DHW side, the test pressure must not exceed 10 bar (150 psi) positive pressure.
▶ Flush the DHW cylinder and pipework thoroughly prior to commissioning (→ Fig. 14, page 62).
6.2 Instructions for the user
WARNING: Risk of scalding at the DHW draw-off points!
Depending on the system and operating conditions (thermal disinfection) there is a risk of scalding at the DHW draw-off points in DHW mode.
Installation of a thermal mixer is prescribed when setting a DHW temperature via 60 °C.
▶ Advise users that they should draw off only mixed water.
▶ Explain the operation and handling of the heating system and cylinder, making a particular point of safety-relevant features.
▶ Explain the function and how to check the pressure relief valve.
▶ Hand all enclosed documents over to the user.
▶ Recommendation for the operator: Conclude a maintenance and inspection contract with an approved contractor. Have the cylinder serviced and inspected annually at the specified maintenance intervals(→ Tab. 8, page 31).
Highlight the following for the user:
▶ Setting the DHW temperature.
- Water may be discharged from the pressure relief valve when heating-up.
- Always keep discharge pipe for pressure-relief valve open.
- Comply with maintenance intervals (→ Tab. 8, page 31).
- Where there is a risk of frost and when the operator is briefly away: Keep the heating system in operation and set the lowest possible DHW temperature.
Shutdown
▶ If an immersion heater has been installed (accessory), isolate the DHW cylinder from the power supply (→ Fig. 16, page 62).
▶ Switch off the temperature controller at the control unit.
WARNING: Risk of scalding from hot water!
▶ Let the DHW cylinder cool down sufficiently.
▶ Drain the DHW cylinder (→ Fig. 16 and 17, page 62).
▶ Decommission all assemblies and accessories of the heating system as specified in the manufacturer’s technical documentation.
▶ Close the shut-off valves (→ Fig. 18, page 63).
▶ Depressurise the heat exchanger.
▶ Drain and blow out the heat exchanger (→ Fig. 19, page 63).
▶ To prevent corrosion, dry out the inner space and keep the inspection aperture covers open.
Environment/disposal
Environmental protection is a fundamental principle of the Bosch Group.
Quality of products, efficiency and environmental protection are equally important objectives for us. Environmental protection laws and regulations are strictly adhered to.
Packaging
For the packaging, we participate in the country-specific recycling systems, which guarantee optimal recycling. All of our packaging materials are environmentally friendly and recyclable.
Used appliances
Old appliances contain materials that must be recycled.
The relevant assemblies are easy to separate, and all plastics are identified. This allows the various assemblies to be sorted for appropriate recycling or disposal.
Maintenance
▶ Allow the DHW cylinder to cool down sufficiently before performing any maintenance.
▶ Carry out cleaning and maintenance procedures in the specified intervals.
▶ Remedy all faults immediately.
▶ Only use original spare parts!
9.1 Maintenance intervals
Carry out the maintenance in accordance with flow rate, operating temperature and water hardness (→ Tab. 8, page 31).
The use of chlorinated potable water or a water softener unit reduces the maintenance intervals.
| Water hardness in °dH Calcium carbonate concentration in mol/ m³ | 3– 8.4 0.6 – 1.5 | 8.5 – 14 1.6 – 2.5 | > 14 > 2.5 |
| Temperatures | Months | ||
| At a standard flow rate (< cylinder capacity/24 h) | |||
| < 60 °C | 24 | 21 | 15 |
| 60 – 70 °C | 21 | 18 | 12 |
| > 70 °C | 15 | 12 | 6 |
| At a higher flow rate (>cylinder capacity/24 h) | |||
| < 60 °C | 21 | 18 | 12 |
| 60 – 70 °C | 18 | 15 | 9 |
| > 70 °C | 12 | 9 | 6 |
Table 8 Maintenance intervals in months
You can check the local water quality with your water supply utility.
Depending on the composition of the water, it can make sense to deviate from the reference values listed.
9.2 Maintenance work
9.2.1 Testing the pressure relief valve
▶ Check the pressure relief valve annually.
9.2.2 Descaling/cleaning the DHW cylinder
In order to improve the cleaning effect, heat up the heat exchanger prior to cleaning it with a water jet. The thermal shock effect separates deposits (e.g. limescale) more readily.
▶ Isolate the DHW cylinder on the domestic hot water side from the piping.
▶ Close the shut-off valves and isolate the immersion heater (if used) from the mains power supply. (→ Fig. 18, page 63).
▶ Drain the DHW cylinder (→ Fig. 17 page 62).
▶ Check the DHW cylinder interior for contamination (limescale, sediment).
▶ In the case of soft water:
Check the cylinder interior regularly and clean out any sediment deposits.
-or
▶ In the case of hard water or severe contamination:
Regularly descale the DHW cylinder in line with the actual amount of limescale using chemical cleaning methods (e.g. with a suitable descaling agent based on citric acid).
▶ Clean out the DHW cylinder interior with a water jet (→ Fig. 21, page 63).
▶ Use a wet & dry vacuum cleaner with plastic suction hose to remove the residues.
▶ Close the inspection aperture with a new gasket (→ Fig. 22,page64).
▶ Re-commission the DHW cylinder (→ Chapter 6, page 30).
9.2.3 Checking the magnesium anode
The DHW cylinder warranty is void if the magnesium anode is not correctly maintained.
The magnesium anode is a sacrificial anode, which is used up when the DHW cylinder is in operation.
We recommend that the protection current is measured annually using an anode tester (→ Fig. 24, page 64). The anode tester is available as an accessory.
Never bring the magnesium anode surface into contact with oil or grease.
▶ Keep everything clean.
▶ Shut off the cold water inlet.
▶ Depressurise the DHW cylinder (→ Fig. 17, page 62).
▶ Remove and test the magnesium anode (→ Fig. 25 to Fig. 28, page 64).
▶ Replace the magnesium anode if its diameter has been reduced to less than 15 mm.
▶ Check the transfer resistance between the protective conductor connection and the magnesium anode.
Data Protection Notice
https://show-policy.ttprivacy.com/ol-7de7b314-7e73-4248-bab1-8aabdc16c8f7?country=DE&lang=en-GB
We, Bosch Thermotechnology Ltd., Cotswold Way, Warndon, Worcester WR4 9SW, United Kingdom process product and installation information, technical and connection data, communication data, product registration and client history data to provide product functionality (art. 6 (1) sentence 1 (b) GDPR), to fulfil our duty of product surveillance and for product safety and security reasons (art. 6 (1) sentence 1 (f) GDPR), to safeguard our rights in connection with warranty and product registration questions (art. 6 (1) sentence 1 (f) GDPR) and to analyze the distribution of our products and to provide individualized information and offers related to the product (art. 6 (1) sentence 1 (f) GDPR). To provide services such as sales and marketing services, contract management, payment handling, programming, data hosting and hotline services we can commission and transfer data to external service providers and/or Bosch affiliated enterprises. In some cases, but only if appropriate data protection is ensured, personal data might be transferred to recipients located outside of the European Economic Area. Further information are provided on request. You can contact our Data Protection Officer under: Data Protection Officer, Information Security and Privacy (C/ISP), Robert Bosch GmbH, Postfach 30 02 20, 70442 Stuttgart, GERMANY.
You have the right to object, on grounds relating to your particular situation or where personal data are processed for direct marketing purposes, at any time to processing of your personal data which is based on art. 6 (1) sentence 1 (f) GDPR. To exercise your rights, please contact us via [email protected] To find further information, please follow the QR-Code.

| W 300-5 P | W 400-5 P | ||
| A | mm | 670 | 670 |
| B | kg | 405 | 509 |
| C | mm | 10-20 | 10-20 |
| D | mm | 1495 | 1835 |
| E | mm | 80 | 80 |
| F | mm | 318 | 318 |
| G | mm | 722 | 898 |
| H | mm | 903 | 1143 |
| I | mm | 1355 | 1695 |
| J | mm | 1850 | 2100 |
| K | kg | 105 | 119 |
| L | kg | 405 | 509 |
[1] W 300-5 P
[2] W 400-5 P
[A] 100 mbar
2600 kg/h







6 720 821 103 (2022/11)
6 720 800 026-07.1ITL
Bosch Thermotechnik GmbH
Junkersstrasse 20-24
D-73249 Wernau
www.bosch-thermotechnology.com![]()



















