T-8839 3/8”, 39A 1/2”
T-8839P 3/8” Pin Anvil
Super Duty Impact Wrench
T-8839 Super Duty Impact Wrench
OILING INSTRUCTIONS: OIL AFTER EACH USE WITH A FEW DROPS OF AIRTOOL OIL THROUGH THE AIR INLET. RUN FOR 1 SECOND TO COAT ALL INTERNAL PARTS
USE 90 PSI MAXIMUM
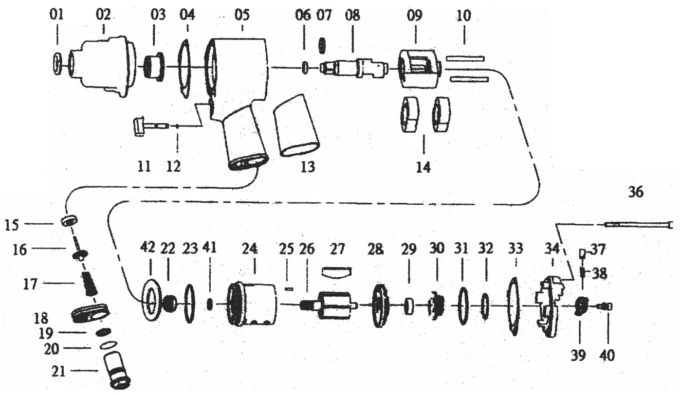
| Ref # | Part # | Description | Qty. |
| 1 | 883901 | Oil Seal | 1 |
| 2 | 883902 | Hammer Case | 1 |
| 3 | 883903 | Bushing | 1 |
| 4 | 883904 | Front Gasket | 1 |
| 5 | 883905 | Motor Houising | 1 |
| 6 | 883906 | O-Ring (3/8″ Anvil | 1 |
| 6 | 8839A06 | O-Ring (½” Anvil) | 1 |
| 7 | 883907 | Anvil Collar (3/8″ Anvil) | 1 |
| 7 | 8839A07 | Anvil Collar (½” Anvil) | 1 |
| 8 | 883908 | Anvil 3/8” | 1 |
| 8A | 8839A08 | Anvil 1/2” | 1 |
| 8B | 8839P08 | Anvil 3/8” w/pin | 1 |
| 9 | 883909 | Hammer Cage | 1 |
| 10 | 883910 | Hammer Pin | 2 |
| 11 | 883911 | Trigger | 1 |
| 12 | 883912 | O-Ring | 1 |
| 13 | 883913 | Grip | 1 |
| 14 | 883914 | Hammer Dog | 2 |
| 15 | 883915 | Retainer | 1 |
| 16 | 883916 | Valve Stem | 1 |
| 17 | 883917 | Spring | 1 |
| 18 | 883918 | Exhaust Deflector | 1 |
| 19 | 883919 | Washer | 1 |
| 20 | 883920 | O-Ring | 1 |
| 21 | 883921 | Air Inlet | 1 |
| 22 | 883922 | Bearing | 1 |
| 23 | 883923 | O-Ring | 1 |
| 24 | 883924 | Cylinder | 1 |
| 26 | 883926 | Rotor | 1 |
| 27 | 883927 | Rotor Blades (6 per set) | 1 set |
| 28 | 883928 | Rear End Plate | 1 |
| 29 | 883929 | Bearing | 1 |
| 30 | 883930 | Reverse Valve | 1 |
| 31 | 883931 | O-Ring | 1 |
| 32 | 883932 | O-Ring | 1 |
| 33 | 883933 | Rear Gasket | 1 |
| 34 | 883934 | Rear Cover | 1 |
| 36 | 883936 | Screw | 4 |
| 38 | 883938 | Pin | 1 |
| 39 | 883939 | Reverse Lever | 1 |
| 40 | 883940 | Screw & Washer | 1 |
| 41 | 883941 | Oil Seal | 1 |
| 42 | 883942 | Washer | 1 |
General Instructions Impact Wrenches
PLEASE READ AND FOLLOW ALL WARNINGS
An impact wrench is an amazing time saving machine. If its strengths and weaknesses are taken into consideration it can be used for years of trouble free service. Always use 90 PSI Maximum AT THE TOOL. Using higher air pressures can prematurely wear parts and strain parts not designed for the higher pressure. In most instances, within the first five seconds of use, an impact wrench develops its maximum torque. If a fastener is still not moving try penetrating oil or a larger impact wrench. Always use impact sockets. Always oil your airtools before storing. Put a few spoonfuls of airtool oil in the air inlet and run the tool for a second or two to coat internal parts.
OILING INSTRUCTIONS:
OIL AFTER EACH USE WITH 2 OR 3 TABLESPOONS OF AIRTOOL OIL THROUGH THE AIR INLET. RUN FOR ONE SECOND TO COAT ALL INTERNAL PARTS.1/4″ TO 1/2″ IMPACTS USAULY USE 30 WT. NON DETERGENT OIL IN THE HAMMER CASE. WRENCHES 3/4″ TO 1-1/2″ USUALLY USE GREASE IN THE HAMMER CASE
IMPACT WRENCHES – GENERAL INSTRUCTIONS
- ALWAYS DISCONNECT THE TOOL FROM AIR SOURCE WHEN CHANGING ACCESSORIES OR SERVICING THE TOOL.
- CHECK ALL FASTENERS DAILY. BOLTS MUST BE KEPT TIGHT TO MAINTAIN SAFETY AND TOP TOOL OPERATING VPERFOR-MANCE.
- STAY IN CONTROL OF THE IMPACT WRENCH
- ALWAY USE IMPACT SOCKETS – STANDARD SOCKETS MAY BE BRITTLE AND BREAK CAUSING DAMAGE TO THE OPERATOR OR THE TOOL.
- VIBRATION MAY BE HARMFUL TO YOUR ARMS AND HANDS. WEAR PROTECTION.
- INSPECT THE TOOL AND AIR SUPPLY AND AIR HOSE ON A REGULAR BASIS.
- DO NOT MAKE CONTACT WITH ELECTRICAL LINES.
- LEAVE TRIGGER OFF BEFORE CONNECTING THE TOOL TO THE AIR SUPPLY. AVOID ACCIDENTAL STARTS.
- WEAR THE PROPER CLOTHING. DO NOT WEAR JEWELRY, LOOSE CLOTHING, OR LONG HAIR AS IT CAN GET CAUGHT IN RO-TATING PARTS. KEEP GLOVES AWAY FROM ROTATING PARTS.
- DO NOT WORK IN HAZARDOUS ATMOSPHERES WHERE SPARKS COULD IGNITE OR DETONATE FUMES.
- WATCH WHAT YOU ARE DOING. USE COMMON SENSE WHEN OPERATING PNEUMATIC TOOLS. DO NOT USE PNEUMATIC TOOLS WHEN TIRED OR UNDER THE INFLUENCE OF MEDICATION, ALCOHOL OR DRUGS. SERIOUS PERSONAL INJURY MAY RE-SULT FROM A MOMENTS INATTENTION.
- USE 90 PSI AT THE TOOL. USE 3/8″, 1/2″ or 3/4″ HOSE OR LARGER WITH FITTINGS 9/32 MINIMUM I.D. AS SPECIFIED
- DO NOT WORK IN HAZARDOUS ATMOSPHERES WHERE SPARKS COULD IGNITE OR DETONATE FUMES.
- WATCH WHAT YOU ARE DOING. USE COMMON SENSE WHEN OPERATING PNEUMATIC TOOLS. DO NOT USE PNEUMATIC TOOLS WHEN TIRED OR UNDER THE INFLUENCE OF MEDICATION, ALCOHOL OR DRUGS. SERIOUS PERSONAL INJURY MAY RE-SULT FROM A MOMENTS INATTENTION.
- USE 90 PSI AT THE TOOL. USE 3/8″, 1/2″ or 3/4″ HOSE OR LARGER WITH FITTINGS 9/32 MINIMUM I.D. AS SPECIFIED
- ONLY USE CLEAN DRY COMPRESSED AIR. NEVER USE OXYGEN, CARBON DIOXIDE, COMBUSTIBLE GASES OR ANY OTHER BOTTLED GAS TO POWER THIS TOOL.
- STORE TOOLS IN A CLEAN DRY ENVIRONMENT
- DO NOT USE DAMAGED TOOLS – MARK, AND RETURN DAMAGED TOOLS FOR SERVICE
- NEVER FORCE THE TOOL. LET THE TOOL DO THE WORK.
- STOP USE IMMEDIATELY IF TOOL IS MAKING AN UNUSUAL NOISE OR VIBRATION. HAVE TOOL CHECKED BY PROFESSIONAL TECHNICIAN.
- KEEP CHILDREN, PETS AND BYSTANDERS AWAY WHILE OPERATING A PNEUMATIC TOOL. DISTRACTIONS CAN CAUSE YOU TO LOSE CONTROL.
- THESE WARNINGS AND INSTRUCTIONS CAN NOT COVER ALL POSSIBLE CONDITIONS OR SITUATIONS. THE OPERATOR MUST UNDERSTAND THAT COMMON SENSE AND CAUTIONS ARE FACTORS WHICH CAN NOT BE BUILT INTO THE PRODUCT BUT MUST BE SUPPLIED BY THE OPERATOR.
ADDITIONAL INFORMATION IS AVAILABLE FROM:
AMERICAN NATIONAL STANDARDS INSTITUTE
11 WEST 42ND ST.
NEW YORK, NY 10036
REQUEST A COPY OF ANSI B186.1 SAFETY CODE FOR PORTABLE AIR TOOLS.
LIMITED LIFETIME WARRANTY
Most products of Taylor Pneumatic are warranted to be free from defects in material and workmanship for the life of the tool. This warranty applies to the original purchaser only. This warranty does not cover tools that have been abused, misused, modified, not properly lubricated or to normal wear and tear. Taylor Pneumatic will at its option repair or replace the defective product free of charge except for shipping. Taylor Pneumatics sole liability and your exclusive remedy under this warranty is limited to the repair or replacement of the de-fective product. There are no other warranties expressed or implied and Taylor Pneumatic shall not be liable for incidental, consequential, or special damages, expenses or costs ex-cept as described above. WARRANTY VOID IF TOOL IS DISASSEMBLED. Return tools to Taylor Pneumatic. Be sure to include your name, address, proof of purchase and description of the suspected defect.
This warranty applies to the basic tool. It does not apply to wear and tear on accessories or consumables such as drill chucks, backing pads for sanders, punch and dies for nibblers, spray gun cups or accessories from a kit.
505 N Railroad Ave. 33435
P.O. Box 1117 33425
Boynton Beach, Florida
FOR WARRANTY INFORMATION & WARRANTY REGISTRATION VISIT
www.taylorpneumatic.com
1122 TPTC /all rights reserved /COPYRIGHT 2022 / final
PH. 561-732-1111
FAX 561-731-4412
TOLL FREE 800-805-8665



















