DRS-12U Desktop Rack Stand

Desktop Rack Stand Assembly Guide
The Desktop Rack Stand is a sturdy and durable stand designed to hold your desktop computer or other electronic equipment. It is made of high-quality materials and comes with all the necessary hardware for assembly.
Assembly Steps:
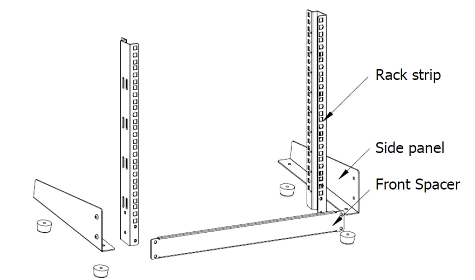
- Start by attaching the rack strip to the side panel using the eight M6x12 screws and M6 nuts provided.
- Attach the front spacer to the side panel using the four M5x14 screws and M5 nuts provided.
- Attach the rubber feet to the bottom of the side panel.
- Attach the second side panel to the rack strip using two M6x12 screws and M6 nuts.
- Attach the second front spacer to the second side panel using two M5x14 screws and M5 nuts.
- Attach the rubber feet to the bottom of the second side panel.
- Attach the two side panels together using four M6x12 screws and M6 nuts.
- Attach the rubber feet to the bottom of the stand.
Once assembled, place your desktop computer or electronic equipment on top of the stand. The rubber feet will provide stability and prevent scratches on your desk or table surface. The Desktop Rack Stand is perfect for organizing your workspace and keeping your equipment off the ground.
Desktop Rack Stand Assembly Guide

Hardware
- 8 x M6x12 screw
- 8 x M6 nut
- 4 x M5x14 screw
- 4 x M5 nut
- 4 x rubber feet
Assembly Steps


Errors and omissions excepted. Copyright© 2022.
AVSL Group Ltd. Unit 2-4 Bridgewater Park, Taylor Rd. Manchester. M41 7JQ
AVSL (EUROPE) Ltd, Unit 3D North Point House, North Point Business Park, New Mallow Road, Cork, Ireland


















