TrueLife Air Diffuser D5 Light Instruction Manual
BOX CONTENTS


- 1× diffuser
- 1× power adapter
- 1× manual
- 1× safety Instructions
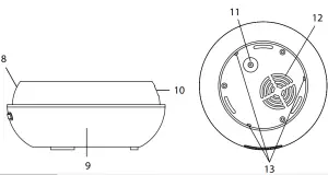
PRODUCT DESCRIPTION
- Top cover
- Timer
- Light button
- High/Low button
- Mist button
- Maximum water level
- Water tank
- Drainage spout
- Diffuser base
- Air outlet
- Power connector
- Air intake
- Auxiliary air outlets
SPECIFICATIONS
- Diffuser type Ultrasonic
- Dimensions 168×168×97 mm
- Weight 395 g
- Tank capacity 300 ml
- Voltage input AC 100-240 V ~ 50/60 Hz
- Voltage output DC 24 V, 500 mA
INSTRUCTIONS FOR USE

- Connect the power cord.
- Place the diffuser with the cover facing up. Remove the cover by pulling it upwards.
- Fill the tank with clean cold water and essential oil. The maximum capacity of the tank is 300 ml as shown by the line. Do not fill the humidifier with warm water as this may cause a malfunction. Do not fill the tank when the diffuser is switched on. The recommended amount of essential oil is two to three drops for every 100 ml of water.
Note: The intensity and amount of mist may vary. This is not a diffuser defect and is not considered a malfunction. Factors that may affect this include, for example, water hardness, humidity, ambient temperature, and airflow.
Note: Only use 100% pure natural essential oils. Before using a new essential oil, clean the diffuser in accordance with the instructions in the Maintenance section. - Replace the cover. Do not use the diffuser without the cover.
- Plug the diffuser into the power socket.
Light button
- Use the Light button to turn on coloured lighting and switch between lighting modes.
- When pressing the button for the first time, the lighting turns on and automatically changes colour. There are 7 different colours.
- Press the button a second time to stop the lighting on the current colour.
- Press the button again to switch between colours. Each colour has a light and dark version.
- Holding down the button for 2 seconds or more will turn off the lighting.
Note: The lighting works even if the diffuser is switched off.
High/Low button
- Use the High/Low button to switch between mist modes.
- Pressing the button for the first time, sets the diffuser to the highest power setting. This is accompanied by two beeps.
- Press the button a second time to put the diffuser into intermittent mode
- the diffuser emits mist for 30 seconds and then stops emitting mist for 30 seconds. The second press is accompanied by three beeps.
- Press again to put the diffuser back into standard mode, i.e., to the lowest power setting. Pressing the button is accompanied by one beep.
Mist“ button
- Use the Mist button to turn the diffuser on or off and set the timer.
- Pressing the button for the first time, automatically sets the timer to 60 minutes. The following presses of the button set the timer to 120 minutes/180 minutes/timer off/diffuser off.
- Pressing and holding the button for 2 seconds or more turns off the diffuser.
MAINTENANCE
Before cleaning, make sure that the diffuser is not plugged into the power socket. Do not use aggressive cleaning agents or other solvents to clean any part of the diffuser.
Do not leave water inside the diffuser if you are not going to use it for an extended period of time. This will extend the overall life of the device.
- Unplug the diffuser and remove the cover.
- Pour out any residual water left in the tank as shown in the diagram below. This will prevent water from getting into the air outlet.
- Clean the diffuser with clean water and a small amount of dishwashing detergent. Gently wipe with a soft cloth or sponge.
- After cleaning the diffuser, wipe all parts dry.

SAFETY WHEN WORKING WITH THE DEVICE:
- Carefully read the included safety instructions.
- For proper handling of the product, read the latest version of the manual which is available for download at: www.truelife.eu.
- Printing errors and information changes reserved.
MANUFACTURER:
elem6 s.r.o., Braškovská 15, 16100 Prague 6, Czech Republic





















