STIEBEL ELTRON 233307 WPSF Brine Filling Unit

General information
This document is intended for qualified contractors
Note: Read these instructions carefully before using the appliance and retain them for future reference. Pass on these instructions to a new user if required.
Other symbols in this documentation
Note: General information is identifed by the adjacent symbol.
This symbol indicates that you have to do something. The action you need to take is described step by step.
Relevant documents
Heat pump operating and installation instructions
Units of measurement
Note: All measurements are given in mm unless stated otherwise.
Safety
Only a qualified contractor should carry out installation, commissioning, maintenance and repair of the appliance.
General safety instructions
We guarantee trouble-free function and operational reliability only if original accessories and spare parts intended for the appliance are used.
Instructions, standards and regulations
Note: Observe all applicable national and regional regulation
Intended use
The brine charging unit is a multi-function valve for filling and filtering brine-based fluids. Any other use beyond that described shall be deemed inappropriate. Observation of these instructions and of the instructions for any accessories used is also part of the correct use of this appliance.
Product description
The product includes a safety valve, a pressure gauge, a filter, a quick-action air vent valve and a microbubble separator.
Standard delivery
- Safety valve
- Hook wrench
Preparation
The product is installed in the heat source system in the heat pump installation room.
- Observe the flow direction (see chapter “Specification/Dimensions and connections”).
- When installing the product, ensure that it is horizontal and free from stress.
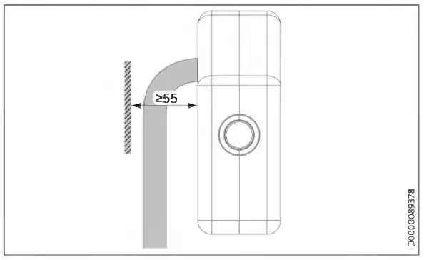
Minimum clearances

Maintain the minimum clearances to ensure trouble-free operation of the appliance and facilitate maintenance work.
Installation
Fitting the drain hose
- Fit the drain hose supplied to the safety valve.
- Size the drain hose so that brine can drain off unimpeded when the safety valve is fully opened.
- Lay the safety valve drain hose with a constant fall to the drain.
- Ensure that the safety valve drain hose is open to the outside.
Charging the heat source system

- Shut-off valve, heat source flow
- Quick-action air vent valves
- Shut-off valve, heat pump flow
- Filling
- Drain
- Close the shut-off valve in the heat source flow.
- Open the shut-off valve in the heat pump flow.
- Connect the refrigerant flow line to the charging side of the unit.
- Connect the refrigerant return line to the draining side of the unit.
- Carry out a pressure test. Remove the safety valve and insert the plug supplied.

- Safety valve
- Plug
- Check for tightness.
- Charge the heat source system to the required operating pressure. For this, observe the maximum operating pressure (see chapter “Specification/ Data table”)
- Close the shut-off valve in the heat pump flow.
- Remove the plug and refit the safety valve.
- Vent the heat source system via the quick-action air vent valve.
- After venting, close the quick-action air vent valve.
Removing the strainer
If there is a high pressure drop in the heat source system, you can remove the strainer in the filter chamber of the product (see chapter “Specification/ Pressure drop diagram”).
Material losses
For opening and closing the filter chamber, use exclusively the hook wrench supplied.

- Strainer
- Filter cartridge
- Open the filter chamber. Remove the filter cartridge.
- Remove the strainer from the heat pump flow.
- Re-insert the filter cartridge. Close the filter chamber.
- Tighten the cover with a torque of 15 Nm.
- Open the shut-off valves in the heat source flow and the heat pump flow.
- Vent the heat source system via the quick-action air vent valve.
- After venting, close the quick-action air vent valve.
Maintenance
- Clean the filter cartridge if required.
Specification
Dimensions and connections


Pressure drop diagram

- Y Pressure drop [hPa]
- X Flow rate [1/h]
- 1 Pressure drop with filter cartridge and strainer
- 2 Pressure drop with filter cartridge
Data table

Guarantee
The guarantee conditions of our German companies do not apply to appliances acquired outside of Germany. In countries where our subsidiaries sell our products a guarantee can only be issued by those subsidiaries. Such guarantee is only granted if the subsidiary has issued its own terms of guarantee. No other guarantee will be granted. We shall not provide any guarantee for appliances acquired in countries where we have no subsidiary to sell our products. This will not affect warranties issued by any importers.
Environment and recycling
We would ask you to help protect the environment. After use, dispose of the various materials in accordance with national regulations.
















