IPC-644 Series 4-slot MicroBox IPC Chassis
User Manual
Copyright Notice
This document is copyrighted, May 1999, by Advantech Co., Ltd. All rights are reserved. Advantech Co., Ltd. reserves the right to make improvements to the products described in this manual at any time without notice. No part of this manual may be reproduced, copied, translated or transmitted in any form or by any means without the prior written permission of Advantech Co., Ltd. Information provided in this manual is intended to be accurate and reliable. However, Advantech Co., Ltd. assumes no responsibility for its use, nor for any infringements of the rights of third parties which may result from its use.
Acknowledgments
IPC-644, PCA-6104-B and PCA-6104NP2 are all trademarks of Advantech Co., Ltd.
Chapter 1 General Information
1.1 Introduction
The IPC-644 MicroBox IPC chassis is an ultra-compact 4-slot mini-node chassis that is ideal for embedded applications. Its small size enables it to fit in mobile environments such as boats, cars and other vehicles. Naturally, indoor operation is equally suitable. The IPC-644 comes with a 4-slot backplane. You can choose between a 4 ISA backplane, or a 1 ISA / 2 PCI / 1 NLX back- plane, both of which can hold up to 4 half-size cards. As for power supply, the IPC-644 can either run on 110/220 V auto- switching 80 W AC, or on a 24/48 VDC power source. A drive bay located at the front of the IPC-644 accommodates one 3.5″ floppy drive and one 3.5″ hard drive. The front panel is equipped with a power reset switch and facilitates easy diagnostics. Other features include two reserved 9/25-pin I/O ports, two cooling fans for ample heat dissipation, and a fan filter. All of these are easy to install and maintain.
1.2Specifications
General
- Construction: Heavy-duty steel
- Controls: AC power on/off and reset switches
- Cooling fans: One 49 CFM filtered cooling fan for inward airflow, and one 14 CFM cooling fan (flow-in) for outward airflow.
- Mounting: On wall or desktop
- Dimensions (W x H x D): 135 x 209 x 305 mm (5.3″ x 8.2″ x 12″)
- Weight: 3.83 kg (8.4 lbs)
- Driver bay: Vibration damped; holds one 3.5″ FDD and one 3.5″ HDD
- Indicators: LEDs for HDD activity and power on
- Chassis color: PANTONE 414U
Passive backplanes PCA-6104-B
- Slots: 4 (1 ISA-bus)
- PC board: 4-layered
PCA-6104NP2 - Slots: 4 (1 ISA / 2 PCI / 1 NLX CPU)
- PC board: 4-layered
Power supply PS-80
- Output rating: 80 watts maximum
- Input voltage: 85 ~ 264 VAC @ 47 ~ 440 Hz
- Output voltage: +5 V @ 8 A, +12 V @ 3.5 A, -12 V @ 1 A
- MTBF: 50,000 hours
- Safety: UL/CSA/TUV/VDE/CB/NEMKO/BABT/CE compli- ant
- EMI: FCC Class B, CISPR Class B
Environment
- Operating temperature: 0 ~ 50° C (32 ~ 122° F)
- Relative humidity: 10 ~ 95% @ 40° C
- EMI: CE compliant
- Safety: CE compliant, UL and C-UL approved
- Shock resistance: 50 G, 11 ms, 3 shocks per face, half sine-wave (non-operating)
- Acoustic noise level: Position length = 25 cm, height = 120 cm, angle = 30°, 55 db (r.m.s.)
1.3 Dimensions

1.4 Mounting
The IPC-644 can either be wall mounted or desktop mounted. Refer to the figures below for how to install the brackets.
| Wall mounting | Desktop mounting |
![]() | |
1.5 IPC-644 Exploded Diagrams

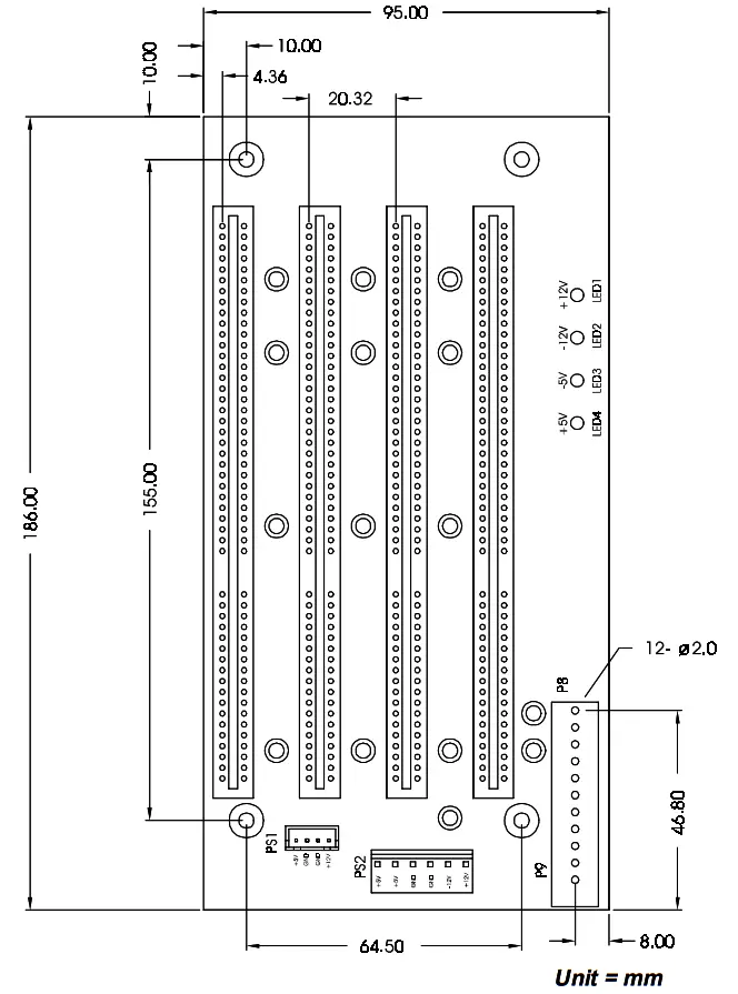
1.6 PCA-6104-B Diagram
4 ISA slot backplane. Dimensions: 186 x 95 mm

1.7 PCA-6104NP2 Diagram
1 ISA / 2 PCI / 1 NLX CPU slot backplane Dimensions: 210 x 110 mm

Chapter 2 System Setup
Installation procedures for the IPC-644 are described below.
WARNING: Before starting the installation procedures, make sure you disconnect all power from the chassis. Unplug the power cord from the power outlet in the wall. erely turning off the power switch is not sufficient. If you are not sure what to do, consult an experienced technician.
2.1 Removing the Top Cover
The first step is to remove the chassis cover. You will need a philips screwdriver to detach all of the 6 screws. Then lift off the cover.

Figure 2-1: Removing the top cover
2.2Replacing the Filter
The fan filter is located at the front end of the chassis. Refer to Figure 2-2.
- Remove the two screws located at the bottom of the filter cover.
- Detach the filter cover by pulling it downward.
- Replace the filter with a new one.
- Re-attach the filter cover and secure the two screws

2.3 Installing the FDD and HDD
The FDD and HDD drive bay is located in the lower deck of the chassis. The upper deck has to be detached first, in order to make the lower deck accessible for installation. Separating the two decks
- Remove the chassis cover. See Section 2.1 for further information.
- Unplug both power supply connectors from the backplane.
- In order to detach the upper deck, remove the four screws. Two of the screws are located at the front of the upper deck, and two at the back.
- Lift the upper deck out of the chassis.
Installing the FDD and HDD
- Remove the four screws of the drive bay so that you can detach it.
- Detach the two screws on each side of the FDD cover, and remove the cover.
- Attach the FDD unit onto the drive bay.
- Fit the HDD unit onto the drive bay.
- Connect the power supply cables.
- Connect both FDD and HDD cables.

Figure 2-3: Installing the FDD and HDD
Completing the installation
- Return the drive bay to its original position and re-attach the screws.
- Put the upper deck back and secure it with the four screws.
- Plug the power supply connectors back into the backplane.
- Re-attach the chassis cover.
2.4 Installing the Cards
To install slot-board computers and other add-on boards:
- Remove the chassis cover. Refer to Section 2.1 for further details.
- Remove the slot cover.
- Insert the CPU cards or add-on cards vertically and down- ward into the vacant slots.
- Align and attach the screws to secure the cards.
Appendix A Safety Instructions
- Read these safety instructions carefully.
- Keep this installation reference guide for later reference.
- Disconnect this equipment from any AC outlet before cleaning. Do not use liquid or spray detergents for cleaning. Use a damp cloth.
- For pluggable equipment, the power outlet must be installed near the equipment and must be easily accessible.
- Keep this equipment away from humidity.
- Put this equipment on a reliable surface during installation. Dropping it or letting it fall could cause damage.
- The openings on the enclosure are for air convection. Protect the equipment from overheating. DO NOT COVER THE OPENINGS.
- Make sure the voltage of the power source is correct before connecting the equipment to the power outlet.
- Position the power cord so that people cannot step on it. Do not place anything over the power cord.
- All cautions and warnings on the equipment should be noted.
- If the equipment is not used for a long time, disconnect it from the power source to avoid damage by transient over-voltage.
- Never pour any liquid into an opening. This could cause fire or electrical shock.
- Never open the equipment. For safety reasons, the equipment should be opened only by qualified service personnel.
- If any of the following situations arises, get the equipment checked by service personnel:
a. The power cord or plug is damaged.
b. Liquid has penetrated into the equipment.
c. The equipment has been exposed to moisture.
d.The equipment does not work well, or you cannot get it to work according to the installation reference guide.
e.The equipment has been dropped and damaged.
f.The equipment has obvious signs of breakage. - DO NOT LEAVE THIS EQUIPMENT IN AN UNCONTROLLED ENVIRON- MENT WHERE THE STORAGE TEMPERATURE IS BELOW -20° C (-4° F) OR ABOVE 60° C (140° F). THIS MAY DAMAGE THE EQUIPMENT. The sound pressure level at the operator’s position according to IEC 704-1:1982 is equal to or less than 55 dB(A).
DISCLAIMER: This set of instructions is given according to IEC 704-1. Advantech disclaims all responsibility for the accuracy of any statements contained her
Part No. 2002064410
2nd Edition Printed in Taiwan May 1999


















