
Q203
(Tuya WiFi)
(Reversible)
(No Reverse Lock)
Smart Lock User Manual
Please read this manual carefully before use
Please keep the emergency key with you or put it in an outdoor-safe place.
Information & Safety Warnings
Note: Please prepare a Phillips screwdriver and 4 AA batteries before installation.
- Keep your fingers clean before using this product.
- In original settings, it can be unlocked with any fingerprint, any card, or password ‘1234567890’ ended with ‘#’.
- Unlock: Press registered fingerprint on front handle sensor, or make card close to the lock pad, or enter password ended with “#”.
- If the power is insufficient, there will be an alarm prompt, and the lock can only be unlocked around 50 times, please replace it with 4 new batteries in time. When batteries power running out, connecting a power bank with Micro USB wire through Emergency Power Port can unlock, the APP network function will be a failure.
- Please don’t use corrodent material to clean the surface.
- When the password/fingerprint/card/APP can not unlock the door, please use the emergency key to unlock the door. Please keep the emergency key with you or put it in an outdoor-safe place.
- Waking up lock needs around 3 seconds or more when long time no use.
- The lock is suitable for 35mm — 80mm thick doors. 9. Work temperature range: -25°C — 55°C.
Features
- The total capacity of the system is 100, and the first three are administrators.
- Touching button, durable.
- Support 6-8 passwords and 20 virtual passwords.
- Support low power warning and pickproof alarm.
- Support volume adjustment and doorbell.
| Name | Parameter |
| Fingerprint Sensor | semiconductor |
| DPI | 500 |
| Identify Time | 0.3S |
| Unlock Way | Fingerprint, Card, Password, Key, and APP |
| System Capacity | 100 |
| Supply Voltage | 6V |
| Low Voltage Warning | 4.8V |
| Standby Current | <90uA |
Installation
Installation Instructions
a. It is recommended to look for professionals to install, watch the video carefully before installation.
b. While installing, the door must be in a half-open state until the installation and debugging are completed.
c. Before the installation, the handle direction must be selected correctly according to the door opening direction.
d. When installing the back panel, please see from the screw hole and make the connection wire is not blocking the connection column hole to avoid damaging the connection wire when installing the screw. If the connection wire blocks the connection column hole, please re-position the connection wire or expand the door internal hole to allow for enough space to place the connection wire.
e. After the installation is completed, test with fingerprint, with the card, with password(1234567890#), with APP, with a key to unlock, and test whether the front handle and back handle unlock/lock normally or not.
f. If it does not work properly, please check if there is improper installation or if the power cord is loose.
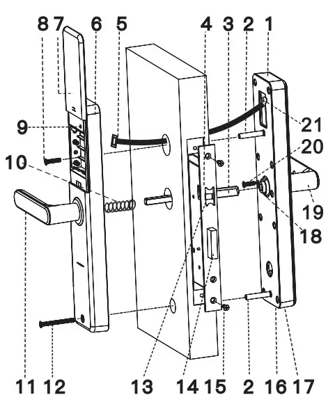
Installation Overview

| 1. Front Panel 2. Connection Column 3. Square Steel 4. Lock Body 5. Connection wire 6. Back Panel 7. Battery Cover | 8. Connection Column Screws 9. ‘SET’ Button 10. Spring 11. Back Handle 12. Connection Column Screws 13. Latch-Bolt 14. Dead-Bolt | 15. Lock Body Screws 16. Key Hole 17. Emergency Power Port 18. Square Steel Sleeve 19. Front Handle 20. Direction-changing Screw 21.Pickproof Alarm Button |
Confirm The Direction of The Door
This smart lock is suitable for 4 kinds of opening directions. (Left Out/Left In/Right Out/Right In)

Handle Direction Change

- Check if the handle direction is appropriate for the door, if not, please change the handle direction.
- Front Handle Direction Change Disassemble the direction-changing screw, carefully and slowly twist the handle clockwise 180 degrees, then fix the direction-changing screw. Twist the handle to check, make sure it’s not stuck.
- Back Handle Direction Change Similar operation as a front handle direction change.
- Match the front handle and back handle to make sure they have the right direction.
Open Hole
Please refer to the opening hole drawing, and drill the right holes on the door.
Install Lock Body

- Choose the installation direction of the latch-bolt of the lock body according to the door opening direction.
- Change the direction of the lock body
a. Push the reversing block to the other side.
b. Push the latch-bolt into the lock and turn 180 degrees.
c. Put back the reversing block, and the latch-bolt will pop up automatically. - Put the lock body into the door frame and tighten with 2 fixing screws.
Note: Please don’t forcefully unlock by heavily pressing down the lock handles when reversing the lock knob set.
Choose The Parts
Choose suitable parts according to the following table.
| Door thickness | Square Steel Length | Connection Column Length | Connection Column Screw Length |
| 35-52mm | 80mm | 35mm | 30mm+50mm |
| 53-62mm | 80mm | 35mm | 50mm+70mm |
| 63-80mm | 100mm | 55mm | 50mm+70mm |
| >80MM(Optional) | 120mm | 55mm | 70mm+90mm |
Note: If the door thickness is 35-36mm, the spring in the square steel hole of the back panel needs to be cut half or taken out.
Install The Lock
Install The Front Panel
a. Install 2 connection columns on the front panel.
b. Adjust the dot direction on the square steel sleeve with reference to the sticker on the rubber mat.
*Left open (Keep the dot in the left or in the right) *Right open (Keep the dot in the top or at the bottom)

c. i..7ert the suitable square steel into the lock body.
d. Pass the connection wire through the door hole.
e. Align the square steel with the square steel hole of the front panel and fix the front panel on the door, then press the other end of the square steel. B.
Install The Back Panel
a. Press the front panel, connect the connection wire with the corresponding interface of the back panel, then Insert the excess wire into the door hole.
b. Align the square steel with the square steel hole of the back panel, and compress the back panel.
c. Lock 2 connection column screws to fix the back panel
e. Install 4 AA batteries and the battery cover.
Note: When installing the back lock, please see from the screw hole and make the connection wire not block the connection column hole to avoid damaging the connection wire when installing the screw.
Install Buckle Plate And Buckle Box

Debugging
a. Please always keep the door in half-open status when debugging.
b. Check whether the following functions can be achieved or not.
- Press down the front handle, latch-bolt/dead-bolt remains in locking status.
- Press down the front handle, latch-bolt/dead-bolt retract in unlocking status.
- Press down back handle, latch-bolt/dead-bolt retract in any status.
- Lift up front handle or back handle, dead-bolt stretches out in any status.
c. Verify other functions normally or not, including self-locking, virtual password,’ Set’ button, Pickproof alarm, APP, etc.
Using The Lock
Add The Administrator (The first three users are administrators)
- Long press ‘*’, the voice prompt: ‘please enter 6-8 digits admin password followed by ‘if .
- Add administrator’s password (6-8 numbers) ended with ‘#'(the same password, 2 times), then the voice prompts: ‘add successfully’.
- Then you can continue to add Fingerprint(3 times), Card, Password (6-8 numbers) ended with ‘#'(the same password, 2 times).
Notes:
- ‘*’: Back, Sign out button, ‘#’: Confirm button.
- The different position fingerprints can be added to improve the fingerprint identification rate.
Add The User
- long press ”, the voice prompts: ‘Please verify the administrator’.
- Verify the administrator.
- Add user’s fingerprint(3 times), card, or password (6-8 numbers) ended with ‘#'(the same password, 2 times).
- The voice prompts: ‘Add successfully’, then you can continue to add.
Delete The User
- long-press “‘, the voice prompts: ‘Please verify the administrator’.
- Verify the administrator.
- Long press ‘*’ again.
- Press ‘1’ to remove all user fingerprints, press ‘2’ to remove all user passwords, press ‘3’ to remove all user cards, press ‘4’ to remove all users.
- The voice prompts’ successful’.
Note: The administrator can’t be removed by doing this or by APP.
Using The Lock Add The Administrator (The first three users are administrators)
- Long press ‘*’, the voice prompt: ‘please enter 6-8 digits admin password followed by ‘if .
- Add administrator’s password (6-8 numbers) ended with ‘#'(the same password, 2 times), then the voice prompts: ‘add successfully’.
- Then you can continue to add Fingerprint(3 times), Card, Password (6-8 numbers) ended with ‘#'(the same password, 2 times).
Notes:
- ‘*’: Back, Sign out button, ‘#’: Confirm button.
- The different position fingerprints can be added to improve the fingerprint identification rate.
Add The User
- long press ”, the voice prompts: ‘Please verify the administrator’.
- Verify the administrator.
- Add user’s fingerprint(3 times), card, or password (6-8 numbers) ended with ‘#'(the same password, 2 times).
- The voice prompts: ‘Add successfully’, then you can continue to add.
Delete The User
- long-press “‘, the voice prompts: ‘Please verify the administrator’.
- Verify the administrator.
- Long press ‘*’ again.
- Press ‘1’ to remove all user fingerprints, press ‘2’ to remove all user passwords, press ‘3’ to remove all user cards, press ‘4’ to remove all users.
- The voice prompts’ successful’.
Note: The administrator can’t be removed by doing this or by APR
Modify Password
- Press ‘7″#’, you can hear a long beep from the lock.
- Enter the old password which needs to be modified, the voice will prompt ‘Please add user’.
- Enter a new password ended by ‘#'(the same password, 2 times), the voice will prompt ‘successful’.
Note: The old password that was modified will be invalid after modification.
Reset The Lock
- Remove the battery cover, long-press ‘Set’ for 3 seconds, verify the administrator.
- The system restores itself to the factory default settings.
Notes:
- After the reset, all user and administrator information is removed.
- The password will return to its default ‘1234567890’.
- Please add a new administrator immediately.
APP Installation And Network Configuration
- Search ‘TuyaSmart’ in APP store, download APP.
- Install and open APP, register, and log in with the mobile phone number.
- APP: Press ‘Home’/’Add DevicelSecurity&SensorYLock(Wi-Fi)’/ ‘Confirm indicator rapidly blink’, then select WiFi network, enter WiFi password.
- Short press ‘3″#/of the lock, Verify the administrator.
- Network configuration: the LED of ‘8’ fast flash, please add the network in APP.
- Refer to the operation prompt to complete the network configuration of APP.
- Add successfully: The voice prompts ‘add successfully’.
- Add failure: LED light shows ‘X’ and the voice prompts ‘add failure’, please try again.
Notes:
- This APP supports only a 2.4Ghz WiFi network.
- The WiFi-connected to the APP and mobile phone should stay in same.
- Make sure one of the administrators is a password.
- APP Remote Unlock: a. Lock: Press ‘4″#’ to activate the lock. b. APP: When prompting ‘Remote Unlock Request, slide icon to ‘Agree’.
- Users: You can add the fingerprint/password/card according to the prompt.
- Temporary Code: Click ‘Temporary Code’, you can set online code or offline code to unlock.
FCC Statement:
This device complies with Part 15 of the FCC Rules. Operation is subject to the following two conditions:
(1)This device may not cause harmful interference.
(2)This device must accept any interference received, including interference that may cause undesired operation.
Warning: Changes or modifications not expressly approved by the party responsible for compliance could void the user’s authority to operate the equipment.
Note: This equipment has been tested and found to comply with the limits for a Class B digital device, pursuant to Part 15 of the FCC Rules. These limits are designed to provide reasonable protection against harmful interference in a residential installation. This equipment generates uses and can radiate radio frequency energy and, if not installed and used in accordance with the instructions, may cause harmful interference to radio communications. However, there is no guarantee that interference will not occur in a particular installation. If this equipment does cause harmful interference to radio or television reception, which can be determined by turning the equipment off and on, the user is encouraged to try to correct the interference by one or more of the following measures:
Reorient or relocate the receiving antenna.
Increase the separation between the equipment and receiver.
Connect the equipment into an outlet on a circuit different from that to which the receiver is connected.
Consult the dealer or an experienced radio/TV technician for help.
FCC Radiation Exposure Statement:
This equipment complies with FCC radiation exposure limits set forth for an uncontrolled environment. This equipment should be installed and operated with a minimum distance of 20cm between the radiator your body. The device has been evaluated to meet general RF exposure requirements.
To maintain compliance with FCC’s RF exposure guidelines, this equipment should be installed and operated with a minimum distance of 20cm between the radiator and your body.
https://smartapp.tuya.com/tuyasmart
App Download QR Code



















