ARIZE ASL120 Series Smart Lock User Manual
ASL120 Series Smart Lock
Main Parts and Diagram

Thanks for choosing our ASL120 smart lock. Please check the user manual carefully before operation and installation.
Packing

Warning:
Changes or modifications to this unit not expressly approved by the party responsible for compliance could void the user’s authority to operate the equipment.
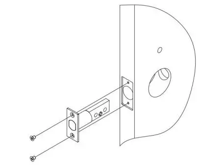
Installation
Installation Diagram
- Prepare one cross point screwdriver before installation

- Slide the battery cover and unscrew the 3pcs screws, then take off the back plate and pad.

Please confirm whether to adjust the mortise lock based on the distance I from the center hole to door frame.
- The default Backset of the mortise lock is 60mm. If need to change, please follow the below instruction:

- When you install the mortise lock, please keep the latch retracted for left to outside or right to inside direction. For the right to outside or left to inside direction please adjust the latch to release with screwdriver.

- Install the front plate and back plate as the diagram, the cylinder trail of the front plate need be horizontal.

- Combine the lines to the plug on the back plate, then install the back plate on the back pad. Please fasten the extra lines to the back pad rather than stuff the lines to the holes.

- After installation, please test it with battery
Test: When Insert the battery, please touch the screen to activate. If do not work please check:
Battery condition
(A: Poor battery B: “+””-“are inserted correctly C: The battery Is too loose or with deviation.)
Lines condition
(A: The line Is not Inserted rightly B: The plugs are damaged)
Emergency Power and System Resetting

- If the battery is dead, you can disassemble the cylinder cover and charge it by one9Vemergency battery.
- If the system crashed, you can insert one pin to the reset button to reset the system.
- If the electronic parts do not work, you can open the door by the mechanical key
Restore Factory Mode Setting

If you forget the master code, you can remove the battery cover and Insert one pin to the factory mode setting button. Keep pressing it for 3sec until one “DING” sound, the system would be reset and all data would be cleared.
User Manual
Creating Master Code
Creating a Master Code must be performed upon installation or after resetting PINthe lock to factory default. Programming and use of lock is not possible until this step has been successfully completed.
Step1 Wake up the screen: touch the screen to activate.
Step2 Enter key 1–>Enter
Step3 Enter the master code you want to set(6-8digits)–>Enter
Creating User Code
Step1 Wake up the screen: touch the screen to activate.
Step2 Enter the master code–>Enter
Step3 Enter key 2–>Enter
Step4 Enter key 1–>Enter
Step5 Enter the user code you want to set (6-8digits)–>Enter Show the user code
Step6 Enter :Return to step4
Enter :Continue to create user code
Enter :Return to the upper menu
Use the User code to unlock the lock
Step1 Wake up the screen: touch the screen to activate.
Step2 Enter the user code–>Enter ![]()
Connect to the gateway
Step1 Wake up the screen:touch the screen to activate. Step2 Enter the master code–>Enter
Step3 Enter key 7–>Enter
Step4 Enter key 1–>Enter
Step5 Wait for the lock to connect to the gateway and APP, When the connection is successful, the lock will beep” do re me”, Then you can use the App to control the door lock.
One touch locking
When the keyboard is at rest and the lock is unlocked, Waking up the keyboard will leave the lock locked.
Auto locking
When the lock is in the unlocked state, the lock will automatically lock after 30s.
NOTE: This equipment has been tested and found to comply with the limits for a Class B digital device, pursuant to Part 15 of the FCC Rules. These limits are designed to provide reasonable protection against harmful interference in a residential installation. This equipment generates, uses and can radiate radio frequency energy and, if not installed and used in accordance with the instructions, may cause harmful interference to radiocommunications.
However, there is no guarantee that interference will not occur in a particular installation. If this equipment does cause harmful interference to radio or
television reception, which can be determined by turning the equipment off and on, the user is encouraged to try to correct the interference by one or
more of the following measures:
- Reorient or relocate the receiving antenna.
- Increase the separation between the equipment and receiver.
- Connect the equipment into an outlet on a circuit different from that to which the receiver is connected.
- Consult the dealer or an experienced radio/TV technician for help


























