
RX-B/RX-D
User Manual
www.kaadasgroup.com
Shenzhen Kaadas Intelligent Technology Co., Ltd reserves all rights for the final interpretation to this user manual
All design and specifications are subject to change without notice.
Installation Guide

Specifications
| Item | Specifications | Remarks |
| Exterior assembly | 169mm(L)x157mm(W)x64.7mm(H) | Operation temperature: -4°F to 129°F(-20°C to 55°C) |
| Interior assembly | 182.4mm(L)x157.5mm(W)x69.3mm(H) | |
| Battery(not included) | AA alkaline battery X 4 (Operation voltage: 4.6~6.0V) | Last up to six mouth (10 times open/close per day) |
Preparing for Installation
Addtional Parts
Optional Bolt Faceplate
Tools Needed
Door prep
- 2-1/8” (54mm) hole saw
- 1” (26mm) boring bit
- 7/64” (2.5mm) drill bit
- 3/8” (10mm) drill bit
- Chisel&Hammer
Lock installation #2 Philips screwdriver
Important Notice:
Make sure your door is prepared prior to installation. Only drill a upper hole if you wish the lock to have added stability. Please refer to the provided template for drilling if needed.
C. Adjust the deadbolt.
NOTE: Bolt ships with backset in 2-3/8”(60mm) position. If required, turn the bolt case and pull to extend to 2-3/4” (70mm)backset position. (see picture below). The bolt ust be in retracted(unlocked) position when you are changing backset.
Installation
- Install latch.
NOTE: Make sure latch angle faces door jamb.
- Install strike onto door jamb.

- Install crossbolt.

- Install keypad.

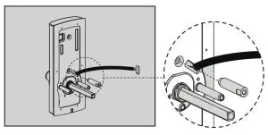
- Positon the inside mounting plate by first routing the cable and connector through the mounting plate’s cable hole. Secure both assemblies using 8/30 screws.

- Attach cable assembly to the interior assembly PCB by lining up notches on top of cable connector to slots on PCB connector. Press connector in firmly using thumbs untill commpletely connected.

- Secure using screw through the interior assembly onto the mouting plate.

- Install interior assembly on inside mounting plate.

- Install exterior lever.

- Install interior lever

Congratulations, you have installed your new lock, now please follow instructions to program your lock.
Warning
- Failure to follow these instructions could result in damage to the product and avoid the factory warranty.
- The accuracy of the door preparation is critical for the proper functioning and security of this product. Misalignment can cause performance degradation and lessening of security.
- Finish Care: This lockset is designed to provide the highest standard of product quality and performance. Care should be taken to ensure a long-lasting finish. When cleaning is required use a soft, damp cloth. Using lacquer thinner, caustic soaps, abrasive cleaners or polishes could damage the coating and result in tarnishing.
IMPORTANT: Do not install batteries untill the lock is completely installed on door.
- Master PIN Code (4~10 digit): Default master pin code is “12345678”, please modify it after installation. If you forget your master pin code, you can reset your lock back to factory settings.
- User PIN Code (4~10 digit): User pin codes can be set up through master pin code. Up to 20 user pin code can be stored.
- Both master and user pin codes don’t support the following combination of numbers.

Add up User PIN codes
- Touch the screen with your hand to activate.
- Enter“*” twice and the Master PIN Code followed by “#”.
- Enter “2”.
- Enter “1”, add user PIN code.
- Enter new User PIN code followed by “#”.
- Repeat step 5 one more time.
- To continue adding users, do previous steps 4-5 again.
CAUTION
When registering User PIN codes, the code must be entered within 10 seconds or time expires.No matter setting succeed or failed, the process won’t be completed and stay at current stage, you can press “*” to return to previously menu.
Delete User PIN codes
- Touch the screen with your hand to activate.
- Enter“*” twice and the Master PIN Code followed by “#”.
- Enter “3”, Lock Response: key“1” light up.
- Enter “1” for deleted PIN code Voice guide.
- Enter the PIN code, and confirm with“#”.
- To continue deleting users, do previous steps 1-4 again.
CAUTION
When deleting User PIN codes, the User Number must be entered within 10 seconds ot time expires.No matter setting succeed or failed, the process won’t be completed and stay at current stage, you can press “*” to return to previously menu. Deleting all User PIN codes could be done only by reseting the lock to fatory default settings.
Silent Mode(Speaker enable/disable)
Silent Mode feature can only be programmed through the Master PIN code or APP.
- Touch the screen with your hand to activate.
- Enter“*” twice and the Master PIN Code followedby “#”.
- Enter “5” to set up languages.
- Enter “1 or 2 or 3 or 4 or 5” to select voice guide language(Silent Mode disable), enter“6” to enable Silent Mode.
Bluetooth settings(only for RX-D)
Bluetooth feature can be programmed through the Master PIN code or APP. Bluetooth is disabled in factory default setting.
- Touch the screen with your hand to activate.
- Enter“*” twice and the Master PIN Code followed by “#”.
- Enter “7” to enter Bluetooth settings.
- Enter “1” to enable Bluetooth, Bluetooth will work continuously after opration.
- Enter “2” to disabled Bluetooth, Bluetooth will shut down in 2 mins after touch keypad lights off for engrgy saving, it will back to work when touch keypad wakes up.
Definitions
Master Mode:
The master mode could be entered by entering[**+Master PIN Code+# ] to program the lock.
Master PIN code:
The master pin code is used for programming and for feature settings.
Manual Mode:
Manual mode is designed for high traffic doors, when Manual mode is enabled, the door will be openable without PIN code or key, Manual mode could be disabled temporary by press and hold any key on keypad for 2 seconds from outside.
Shutdown Time:
The lock will shutdown for a default of 3 mins and not allow operation after the wrong code entry limit (10 times) has been met. When the unit is in shutdown, the light will flash when you are trying to use keypad.
Silent Mode:
The beeper will not make any voice.
Status indicators:
Located on exterior assembly.
User PIN code:
The user pin code operates the lock. Maximum capacity of user pin codes is 20.
Reset button:
After reset operation, the lock will be restored to factory default settings, all user credentials will be deleted. Refer to reset guide.
Factory Default settings
| Settings | Factory Default |
| Master PIN Code | 12345678 |
| Beeper | Enabled |
| Wrong Code Entry Limit | 10 times |
| Shutdown Time | 3 mins |
Lock Operation
Change Master PIN code
- Touch the screen with your hand to activate.
- Enter “*” twice and the 4-10 digit Master PIN Code followed by “#”.
- Enter “1” to change Master PIN Code.
- Enter new 4-10 digit Master PIN Code followed by “#”.
- Repeat step 4 one more time.
CAUTION
Before changing default Master PIN Code, all other setting menu will be disabled. You have te change Master PIN Code first,the do other lock settings.
Function extension settings (only for RX-D)
Network features are included in function extension,can only be programmed through the Master PIN code.
- Touch the screen with your handto activate.
- Enter “*” twice and the master PIN Code followed by “#”.
- Enter “8″ to join network.
- Enter “1″ to log in network.
- Enter “2″ to log out network.
CAUTION
If the lock is connected to a network controller, it is recommended that it is programmed through the centralized user interface(PC or hand-held device)to ensure communication between the lock and the controller.
How to use
Unlock the door
1. Unlock the door from outside Master/User pin code or key.
Lock the door
Lock the door from outside
Normal
In Auto re-lock mode, the bolt will extend out automatically in 5 seconds after unlocking.
Manual Mode
Press any key on keypad for 2 seconds.
Manual Mode Switch
1. Enable: Move the switch to position to
enable manual mode.
2. Disable: Move the switch to position to
disable manual mode.
Unlock with Fake PIN code
User can prevent pin code exposure from strangers by entering random digits before or after pin code.
Reset to factory default settings
Operation on lock
- Open battery box and find the reset button.
- User a sharp thing to press and hold the reset button.
- Keep holding the reset button for 5 seconds untill hearing voice guide.
- After that all user data and settings will be deleted.
FCC Caution.
This device complies with part 15 of the FCC Rules. Operation is subject to the following two conditions:
- This device may not cause harmful interference, and
- this device must accept any interference received, including interference that may cause undesired operation.
Any Changes or modifications not expressly approved by the party responsible for compliance could void the user’s authority to operate the equipment.
Note: This equipment has been tested and found to comply with the limits for a Class B digital device, pursuant to part 15 of the FCC Rules. These limits are designed to provide reasonable protection against harmful interference in a residential installation. This equipment generates uses and can radiate radio frequency energy and, if not installed and used in accordance with the instructions, may cause harmful interference to radio communications. However, there is no guarantee that interference will not occur in a particular installation. If this equipment does cause harmful interference to radio or television reception, which can be determined by turning the equipment off and on, the user is encouraged to try to correct the interference by one or more of the following measures:
- Reorient or relocate the receiving antenna.
- Increase the separation between the equipment and receiver.
- Connect the equipment into an outlet on a circuit different from that to which the receiver is connected.
- Consult the dealer or an experienced radio/TV technician for help.
The antenna of this product, under normal use condition, is at least 20cm away from the body of the user. Warning statement to the user for keeping at least 20cm or more separation distance from the antenna should be included in the User manual. So, this device is classified as Mobile device.






























