HINKLEY 3675 Tress 5 Light 25″ Wide Taper Candle Chandelier Instruction Manual

Assembly Instructions
Start Here
- Find a clear area in which you can work.
- Unpack fixture and glass from carton.
- Carefully review instructions prior to assembly.
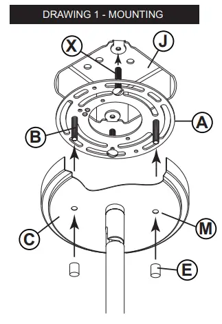
- First it is necessary to assemble the fixture before installing. Two of the fixture arms need to be attached to the ring to complete the\fixture.
- Slip (1) into the loop on the ring (4) See Drawing 1.
- Slip (3) into the loop on the wire body (5).
- Repeat steps two and three to attach the remaining arm.
- To begin it will be necessary to determine the required length your pendant. If above a table or island the bottom of the glass should be 32” to 36” above the surface.
- Your fixture is supplied with several stem sizes. Determine what combination of stems are needed to achieve the required length – see Drawing 1. If additional stems are required contact your nearest distributor or visit hinkley.com.
- Begin sliding the stems over the wires of the fixture. Slide the first stem down and thread into the coupler (6) on the top of the fixture
ire body (5). Continue adding stems and threading them ` together until all necessary stems have been assembled. - Next take the canopy (7) and slip the wires through the center hole of the attached swivel. Slide canopy with swivel along wire and thread end of swivel into last stem.
- Fixture is ready for installation
SAFETY WARNING:
READ WIRING AND GROUNDING INSTRUCTIONS (I.S. 18) AND ANY ADDITIONAL DIRECTIONS. TURN POWER SUPPLY OFF DURING INSTALLATION. IF NEW
WIRING IS REQUIRED, CONSULT A QUALIFIED ELECTRICIAN OR LOCAL AUTHORITIES FOR CODE REQUIREMENTS
- To complete assembly the sockets must be rotated up and locked in place this is accomplished by using the hex wrench (H) suppliled and loosing the hex screw (S) located on the socket arm (A) – see Drawing 3.
- After screw is loose rotate arm to the uptright position and tighten hex screw with hex wrench provided to finish assembly.
- Fixture is ready for mounting. Please follow mounting instructions provided.
Mounting Instructions
- To complete assembly the sockets must be rotated up and locked in place this is accomplished by using the hex wrench (H) suppliled and loosing the hex screw (S) located on the socket arm (A) – see Drawing 3.
- After screw is loose rotate arm to the uptright position and tighten hex screw with hex wrench provided to finish assembly
- Fixture is ready for mounting. Please follow mounting instructions provided.






















