
MPS-850
e-drum set
Musikhaus Thomann
Thomann GmbH
Hans-Thomann-Straße 1
96138 Burgebrach
Germany
Telephone: +49 (0) 9546 9223-0
E-mail: [email protected]
Internet: www.thomann.de
06.07.2021, ID: 428224 (V3)
Safety instructions
DANGER!
Danger for children
Ensure that plastic bags, packaging, etc. are disposed of properly and are not within reach of babies and young children. Choking hazard! Ensure that children do not detach any small parts (e.g. knobs or the like) from the unit. They could swallow the pieces and choke!
Never let children unattended use electrical devices.
Scope of delivery
Before you assemble your drum set, make sure the contents of package is complete according to the following list and figure.
| Item | Qty. | |
| 1 | 1 | Lateral support tube on the left |
| 2 | 1 | Lateral support tube on the right |
| 3 | 2 | Support tube for crossbeam |
| 4 | 3 | Cymbal holders (Crash and Ride) |
| 5 | 1 | Upper horizontal connection tube |
| 6 | 1 | Lower horizontal connection tube |
| 7 | 1 | Left crossbeam |
| 8 | 1 | Right crossbeam |
| 9 | 1 | Crossbeam for Snare |
| 10 | 2 | Tom pad 1 (8″, dual zone), tom pad 2 (8″, dual zone) |
| 11 | 2 | Tom pad 3 (10″, dual zone), tom pad 4 (10″, dual zone) |
| 12 | 1 | Snare pad (dual zone) |
| 13 | 1 | Hi-hat controller |
| 14 | 1 | Connector for Hi-hat |
| 15 | 1 | Hi-hat (with Edge and Choke) |
| 16 | 2 | Crash 1 (with Edge and Choke), Crash 2 (with Edge and Choke) |
| 17 | 1 | Ride (with Edge, Bell and Choke) |
| 18 | 1 | e-drum module Millenium MPS-850 |
| 19 | 1 | Hi-hat stand with pedal |
| 20 | 1 | Bass drum pad pedal |
| 21 | 1 | Pedal beater |
| 22 | 1 | Bass drum pad |
| 23 | 5 | Mounting bracket for pads |
| 24 | 1 | Drum key |
| 25 | 1 | Set of drum sticks |
| 26 | 5 | Velcro tape |
| 27 | 1 | Thumb screw, long |
| 28 | 2 | Thumb screw, short |
| 29 | 1 | Multi-cable for connecting the pads to the e-drum module |
| 30 | 1 | Power adapter |
| 31 | 2 | Single connection cable for tom 4 and crash 2 |
| 32 | 1 | Assembly instructions e-drum set |
| 33 | 1 | User manual e-drum module |



Assembly
Overview
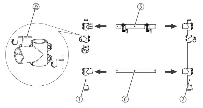
Loosen the screws of the clamps before sticking the tubes together. Mount the various elements in the specified sequence. The final positions of the components are shown in the illustration below.
| 10 | Tom pad 1 (8″), tom pad 2 (8″) |
| 11 | Tom pad 3 (10″), tom pad 4 (10″) |
| 12 | Snare pad |
| 13 | Hi-hat controller |
| 16 | Hi-hat pad |
| 17 | Crash 1, crash 2 |
| 18 | Ride |
| 19 | e-drum module Millenium MPS-850 |
| 20 | Hi-hat stand with pedal |
| 21 | Bass drum pad pedal |
| 23 | Bass drum pad |
Assembling the rack
CAUTION!
Danger of cuts on hands and fingers
When connecting the parts, take care for sharp edges on the metal tubes, screws etc.

- Attach the horizontal connection tubes (5, 6) to the lateral support tubes (1, 2).
- Then tighten the mounting screws with the drum key (25).

- Attach the two side crossbeams of the rack (7, 8, 9) in the provided mounting clamps.
- Attach the crossbeam support tubes (3) in the provided mounting clamps. Make sure that the ends of the support tubes (3) are resting on the floor.
- Then tighten the mounting screws.

- Position the mounting brackets (24) for the individual pads. Then tighten the mounting screws.
- Turn the mounting brackets (24) in the right position for mounting the pads. Then tighten the mounting screws.

- Insert the brackets (4) for the cymbals (Crash, Ride) into the provided mounting clamps on the rack. Fasten the brackets using the mounting screws at the desired height.
- Loosen the retaining screws on the bracket joints and turn the brackets into the desired playing positions. Then retighten the locating screws
Mounting pads on the rack
- Attach the mounting brackets to the pads (10, 11, 12). Tighten the wing nuts on the pads by hand first.
- Then slide the plastic ends of the mounting brackets up to the stop into the designated clamps on the rack.
- Align the pads on the rack to meet your needs, then tighten the wing nuts of the pad brackets and the bolts of the pad clamps on the rack evenly.
Mounting cymbals on the rack
- Unscrew the wing nuts from the cymbal holders and take the felt washers off the holders.
- Place the cymbals as shown in the figure on the holders.
- Place the felt washers on the cymbals and fix the cymbals with the associated wing nuts on the holders.
Setting up the bass drum pedal

- Snap the two metal rods into the holes provided on the frame of the bass drum pedal.
- Place the beater (22) into the hole provided on the rotary head of the pedal (21) and tighten the clamp with the drum key.
Aligning the beater
Pay attention to the correct orientation of the beater. The beater may only hit the bass drum pad with the black plastic side. When using the felt side however, the abrasion and a possible tearing of the mesh head skin is significantly accelerated. The bass drum beater can be turned 180 degrees by loosening the locking screw.
Mounting the drum module on the rack
- Put the e-drum module (19) up to the stop into the free clamp of the crossbeam. Thread the multi-cable (30) through the clamp and insert the sub-D connector into the corresponding socket of the drum module.
- Tighten the thumb screws (28, 29) on the clamp.
- Align the module and tighten the wing nut of the clamp.
Assembling the Hi-hat stand
Assemble the hi-hat stand as shown below.
To attach the hi-hat controller and hi-hat to the hi-hat stand, complete the following steps.
- Loosen the Allen screw on the hi-hat connector piece with the drum key. Turn the top counterclockwise and remove the items upwards.
- Put the hi-hat on the lower part of the connector piece. Put the parts removed in the previous step back onto the connector piece and retighten the Allen screw.
- Put the hi-hat controller onto the hi-hat stand.
- Insert the hi-hat with the connector piece onto the hi-hat stand. The distance between the hi-hat and the hi-hat controller should be 15 mm to 20 mm.
- Tighten the wing screw on the connector piece.
Positioning bass drum and hi-hat
- Place the pedal with the bass drum pad centred under the rack. Position the bass drum pedal centred in front of the pad.
- Place the Hi-hat pedal left of the bass drum pad.
Set-up and cabling
Set up the rack, the pads and the cymbals according to your needs. Finally, position the drum pedal and the Hi-hat controller in front of the rack and connect all trigger cables to the e-drum module.
Protecting the environment
Disposal of the packaging material
For the transport and protective packaging, environmentally friendly materials have been chosen that can be supplied to normal recycling.
Ensure that plastic bags, packaging, etc. are properly disposed of.
Do not just dispose of these materials with your normal household waste, but make sure that they are collected for recycling. Please follow the notes and markings on the packaging.
Disposal of your old device
This product is subject to the European Waste Electrical and Electronic Equipment Directive (WEEE) in its currently valid version. Do not dispose with your normal household waste.
Dispose of this device through an approved waste disposal firm or through your local waste facility. When discarding the device, comply with the rules and regulations that apply in your country. If in doubt, consult your local waste disposal facility.
Notes
_______________________________________________________________________________
Musikhaus Thomann · Hans-Thomann-Straße 1 · 96138 Burgebrach · Germany · www.thomann.de















