99-5853CH
INSTALLATION INSTRUCTIONS
Ford Mustang (†) 2010-2014

KIT FEATURES
† With single zone, manual climate control
Visit MetraOnline.com for more detailed information about the product and up-to-date vehicle specific applications
- ISO DIN radio provision with pocket
- ISO DDIN radio provision
- Included interface for climate and steering wheel functions
- Painted charcoal with a matte black center
KIT COMPONENTS

- A) Radio trim panel
- B) Radio brackets
- C) Pocket
- D) Heated seat buttons (L & R) Blank panels
- E) (4) Panel clips
- F) (2) #8 x 3/8” Phillips pan-head screws
- G) (4) #8 x 3/8” Phillips truss-head screws
- H) Wiring harness (not shown)
- I) Antenna adapter (not shown)
WIRING & ANTENNA CONNECTIONS
Wiring Harness: Axxess interface built into the kit
Antenna Adapter: Included with the kit
Steering wheel control interface: Included with the kit
TOOLS REQUIRED
- Panel removal tool
- Phillips screwdriver
- 9/32” socket wrench
Attention! Let the vehicle sit with the key out of the ignition for a few minutes before removing the factory radio. When testing the aftermarket equipment, ensure that all factory equipment is connected before cycling the key to ignition.
DASH DISASSEMBLY
- Unclip and remove the trim panel surrounding the shifter, including the cup holders. (Figure A)

- Remove (2) 9/32” screws from the bottom of the radio/climate control panel, then unclip and remove the panel. (Figure B)

- Remove (4) Phillips screws securing the radio chassis to the vehicle. Slide the chassis out, then unplug and remove. (Figure C)

- Remove (4) Phillips screws securing the radio display to the vehicle. Slide the display out, then unplug and remove. (Figure D)

KIT PREPARATION
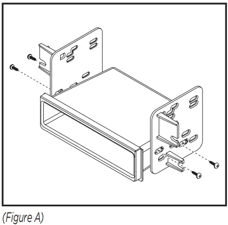
- Attach (4) panel clips provided onto the radio trim panel. (Figure A)

- For models with heated seats:
Clip-in the heated seat buttons. (Figure B)
For models without heated seats:
Clip-in the blank panels. (Figure B)
KIT ASSEMBLY
ISO DIN radio provision with pocket
- Attach the pocket to the radio brackets using (4) #8 x 3/8” Phillips truss-head screws provided. (Figure A)

- Remove the metal DIN sleeve and trim ring from the aftermarket radio.
- Slide the radio into the bracket/pocket assembly, then secure it using screws supplied with the radio. (Figure B)

KIT ASSEMBLY
ISO DDIN radio provision
- Attach the radio brackets to the radio using screws supplied with the radio. (Figure A)

AXXESS INTERFACE INSTALLATION
INTERFACE FEATURES
- Provides accessory power (12-volt 10-amp)
- Retains R.A.P. (retained accessory power)
- Provides illumination, parking brake, reverse, and speed sense outputs
- Retains audio controls on the steering wheel
- Can be used in both amplified and non-amplified models
- Retains balance and fade
- Micro-B USB updatable
INTERFACE COMPONENTS
- Axxess interface (built into kit)
- 5853 harness
- 16-pin harness
- 3.5mm adapter
TOOLS REQUIRED
- Crimping tool and connectors, or solder gun, solder, and heat shrink
- Tape
- Wirecutter
- Zip ties
CONNECTIONS
From the 16-pin harness to the aftermarket radio, connect the:
- Red wire to the accessory wire.
- Blue/White wire to the amp turn on wire if the vehicle is equipped with a Shaker/Shaker-Pro sound system.
- Orange/White to the illumination wire (if applicable).
- Gray wire to the right front positive speaker output.
- Gray/Black wire to the right front negative speaker output.
- White wire to the left front positive speaker output.
- White/Black wire to the left front negative speaker output.
The following (3) wires are only for multimedia/navigation radios that require these wires. - Blue/Pink wire to the VSS/speed sense wire.
- Green/Purple wire to the reverse wire.
- Light Green wire to the parking brake wire
- Tape off and disregard the following (5) wires, they will not be used in this application:
Brown, Green, Green/Black, Purple, Purple/Black
From the 5853 harnesses to the aftermarket radio, connect the:
- Black wire to the ground wire.
- Yellow wire to the battery wire.
- Green wire to the left rear positive speaker output.
- Green/Black wire to the left rear negative speaker output.
- Purple wire to the right rear positive speaker output.
- Purple/Black wire to the right rear negative output.
- Disregard the Red and White RCA jacks labeled “RSE/SYNC®/SAT”, they will not be used in this application.
- Disregard the Red and White RCA jacks labeled “FROM 3.5”, they will not be used in this application.
- Tape off and disregard the following (3) wires, they will not be used in this application: Blue, Blue/White, Red.
- Disregard the DIN jack, it will not be used in this application.
For models with a Shaker system: - Connect the White RCA jack labeled “SUBWOOFER”, to the subwoofer out jack.
- Disregard the red RCA jack labeled “CENTER CHANNEL”, it will not be used in this
application.
For models with a Shaker Pro system: - Connect the Red RCA jack labeled “CENTER CHANNEL”, to the subwoofer out jack.
- Disregard the white RCA jack labeled “SUBWOOFER”, it will not be used in this application.
From the 14-pin harness with stripped leads to the aftermarket radio:
The following (2) wires are for triggering a relay from the buttons on the face of the kit. The outputs are latching which means they will stay active until the button is pressed again (or until the key has been turned off). This can be used to turn on items such as accent lighting, or fans to cool aftermarket amplifiers. - Connect the Blue/Red wire labeled “AUX 1” to the negative input from an automotive SPDT relay (sold separately).
- Connect the Blue/Black wire labeled “AUX 2” to the negative input from an automotive SPDT relay (sold separately ).
3.5mm jack – steering wheel control retention:
The 3.5mm jack is to be used to retain audio controls on the steering wheel control. - For the radios listed below: Connect the 3.5mm adapter, to the male 3.5mm SWC jack from the 5853
harness. Any remaining wires tape off and disregard. - Eclipse: Connect the steering wheel control wire, normally Brown, to the Brown/White wire of the connector. Then connect the remaining steering wheel control wire, normally Brown/White, to the Brown wire of the connector.
- Metra OE: Connect the steering wheel control Key 1 wire (Gray) to the Brown wire.
- Kenwood or select JVC with a steering wheel control wire: Connect the Blue/Yellow wire to the Brown wire.
Note: If your Kenwood radio auto-detects as a JVC manually set the radio type to Kenwood. See the instructions under changing radio type. - XITE: Connect the steering wheel control SWC-2 wire from the radio to the Brown wire.
- Parrot Asteroid Smart or Tablet: Connect the 3.5mm jack into the AX-SWC-PARROT (sold separately), and then connect the 4-pin connector from the AX-SWC-PARROT into the radio.
Note: The radio must be updated to rev. 2.1.4 or higher software. - Universal “2 or 3 wire” radio: Connect the steering wheel control wire, referred to as Key-A or SWC-1, to the Brown wire of the connector. Then connect the remaining steering wheel control wire, referred to as Key-B or SWC-2, to the Brown/White wire of the connector. If the radio comes with a third wire for the ground, disregard this wire.
Note: After the interface has been programmed to the vehicle, refer to the manual provided with the radio for assigning the SWC buttons. Contact the radio manufacturer for more information. - For all other radios: Connect the 3.5mm jack into the port on the radio designated for an external steering wheel control interface. Refer to the manual provided with the radio if in doubt as to where the 3.5mm jack goes to.
INSTALLATION
- Connect the 16-pin harness into port A.
- Connect the 14-pin harness with stripped leads into port B.
- Connect the 5853 harnesses into port C, and then to the wiring harnesses in the vehicle.
- Port D is a Micro-B USB input for updating the interface.

PROGRAMMING
- Open the driver’s door, and keep it open during the programming process.
- Cycle the ignition on and wait until the climate control lights turn blue.
Note: If the lights don’t turn blue, unplug port C from the tactile panel for a few seconds, then try again. - Test all functions of the installation for proper operation, before reassembling the dash.
FINAL ASSEMBLY
- Slide the radio into the dash. Before doing so, remove a module from the sub-dash prohibiting the radio from sliding in, then relocate it downward. The mounting brackets attached to the module will need to be bent outward to make room for the radio.
- Secure the completed assembly to the dash using the factory screws, then reassemble the dash in reverse order of disassembly using the 99-5853CH radio trim panel.
The buttons on the steering wheel will be used to enter, navigate, and make changes to the menu. The display on the climate knobs will be used to view the menu.
- With the driver’s door open, press and hold the
button, then cycle the key on. - Press the Track Up and Track Down buttons to toggle through the menu options available.
Refer to the Menu Options table for a list of options, and a description of each option. - Press the Volume Up and Volume Down buttons to toggle through the sub-menu options available. Refer to the appropriate Sub-Menu Options table for the item in interest.
- Once an item has been chosen to change, press the
button. - Navigate to “do”, then press the
button to exit the Configuration Menu. - If no activity after 10-seconds the Configuration Menu will close.
Menu Options
| Left Knob Display | Right Knob Display | Description |
| A.G | Will display the current state | OEM Amplifier Gain |
| r.d | Radio Detection | |
| b.L | Backlight | |
| UO | Version Number of Kit | |
| d o | n E | Done / Dun |
Sub-Menu Options
Radio Detection
- Press the
button on the steering wheel to start the auto-detection process.
| Left Knob Display | Right Knob Display | Radio Manufacturer | Keynotes |
| cd | 1 | Eclipse (Type 1) | 1 |
| r.d | 2 | Kenwood | 2 |
| r.d | 3 | Clarion (Type 1) | 1 |
| r.d | 4 | Boss (type 1) / Dual / Sony | 1 (Boss) |
| cd | 5 | JVC | |
| rd | 6 | Pioneer / Jensen | |
| r.d | 7 | Alpine | 3 |
| r.d | 8 | Boss (type 4) / Visteon | 1 (Boss) |
| cd | 9 | Valor | |
| cd | 10 | Clarion (Type 2) | 1 |
| cd | 11 | Boss (Type 2) | |
| cd | 12 | Eclipse (Type 2) | 1 |
| IA | 13 | LG | |
| rd | 14 | Parrot | 4 |
| cd | 15 | XITE | |
| cd | 16 | Philips | |
| IA | 17 | Kicker | |
| IA | 18 | JBL | |
| rd | 19 | Insane Audio | |
| cd | 20 | Magnadyne | |
| cd | 21 | Boss (type 3) | |
| rd | 22 | ‘totem |
- If the steering wheel controls don’t work, change the radio type to the opposite radio type.
- If the display shows 5 (JVC), change the radio type to 2 (Kenwood).
- If the display shows Alpine, but an Alpine radio isn’t installed, make sure the 3.5mm jack is plugged in.
- AX-SWC-PARROT required (sold separately). The software in the radio must be rev. 2.1.4 or higher.
Backlight
| Lett Knob Display | Right Knob Display | Backlight Color |
| b.L | No backlight | |
| b.L | rD | Red |
| b.L | Or | Orange |
| b.L | YE | Yellow |
| b.L | LG | Lime Green |
| b.L | Gr | Green |
| b.L | CY | Cyan |
| b.L | BL | Blue |
| b.L | Pu | Purple |
| b.L | HP | Hot Pink |
OEM Amplifier Gain
| Left Knob Display | Right Knob Display |
| A.G | 0 to 30 |
Version Number of Kit
| Left Knob Display | Right Knob Display |
| U O | Will display the current version of kit |
Done / Quit
- Press the
button on the steering wheel to exit the Configuration Menu.
| Left Knob Display | Right Knob Display |
| d o | n E |
99-5853CH
INSTALLATION INSTRUCTIONS
http://www.metraonline.com
Having difficulties? We’re here to help.
Contact our Tech Support line at:
386-257-1187
Or via email at:
[email protected]
Tech Support Hours (Eastern Standard Time)
Monday – Friday: 9:00 AM – 7:00 PM
Saturday: 10:00 AM – 7:00 PM
Sunday: 10:00 AM – 4:00 PM
KNOWLEDGE IS POWER
Enhance your installation and fabrication skills by enrolling in the most recognized and respected mobile electronics school in our industry.
Log onto www.installerinstitute.edu or call 386-672-5771 for more information and take steps toward a better tomorrow.
Metra recommends MECP certified technicians
Metra. The World’s Best Kits.®
MetraOnline.com
REV. 6/22/21 INST99-5853CH
© COPYRIGHT 2020 METRA ELECTRONICS CORPORATION




























