MeTra 95-9114B ISO DDIN Radio Provision Installation Guide

Audi TT 2008-2015
Visit MetraOnline.com for more detailed information about the product and up-to-date vehicle specific applications
KIT FEATURES
- ISO DDIN radio provision
- Painted scratch resistant matte black
- Location to retain the factory passenger airbag light
A) Radio trim panel
B) Radio housing
C) (4) Panel clips
D) (8) ISO screws
WIRING & ANTENNA CONNECTIONS (sold separately)
Wiring Harness: XSVI-9004-NAV
Antenna Adapter: 40-EU56
TOOLS REQUIRED
- Panel removal tool • Phillips screwdriver
- Socket wrench
- Metra 86-9001 radio removal tools (qty. 2)
Attention!
Let the vehicle sit with the key out of the ignition for a few minutes before removing the factory radio. When testing the aftermarket equipment, ensure that all factory
equipment is connected before cycling the key to ignition.
DASH DISASSEMBLY
- Insert (4) of the Metra 86-9001 radio removal tools into the slots on the front of the radio face, and then remove the radio. (Figure A)

- Unplug airbag light, then unsnap and remove from the factory radio. Continue to Kit Assembly.
KIT ASSEMBLY
ISO DDIN radio provision
- Attach the (4) supplied panel clips to the radio trim panel. (Figure A)

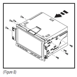
- Attach the radio housing to the radio using screws supplied with the radio. (Figure B)
Note: The radio mounting screws must be flush in the brackets so the radio assembly will fit into the dash opening. Screws have been provided in the event they were not provided with the aftermarket radio.
- Locate the factory wiring harness and antenna connector in the dash, and complete all necessary connections to the radio. Metra recommends using the proper mating adapter from Metra and/or
AXXESS. Test the radio for proper operation. - Slide the radio/radio housing assembly into the dash opening paying close attention to the guides on the radio housing and the slots in the dash opening.
Note: Be sure to keep the passenger airbag light plug accessible while mounting the radio into the dash. - Snap the radio trim panel over the radio and reassemble the dash in reverse order of disassembly.
Note: Snap the factory airbag light in from the front, then plug the airbag light in while snapping the radio trim panel over the radio.
If you are having difficulties with the installation of this product, contact our Tech Support line either by phone at 386-257-1187, or email at [email protected]. Before
doing so, look over the instruction booklet a second time and ensure that the installation was performed exactly as the instruction booklet is stated. Have the vehicle apart and ready to
perform troubleshooting steps before contacting Metra/Axxess Tech Support.
KNOWLEDGE IS POWER
Enhance your installation and fabrication skills by enrolling in the most recognized and respected mobile electronics school in our industry. Log onto www.installerinstitute.com or call
800-354-6782 for more information and take steps toward a better tomorrow.




KNOWLEDGE IS POWER


















