
95-6553B
INSTALLATION INSTRUCTIONS

Chrysler 300 2015-Up
Visit MetraOnline.com for more detailed information about the product and up-to-date vehicle specific applications
WIRING & ANTENNA CONNECTIONS
Wiring Harness: Included with kit
Antenna Adapter: Included with kit
Steering Wheel Control Interface: Included w/kit
TOOLS REQUIRED
- Panel removal tool
- Phillips screwdriver
- 9/32” Socket wrench
- Cutting tool
- 1/8” drill bit
Attention! With the key out of the ignition, disconnect the negative battery terminal before installing this product. Ensure that all installation connections are secure before cycling the ignition to test this product.
KIT FEATURES
- ISO DDIN radio provision
- 7-inch touchscreen display for climate and personalization features
- Includes Axxess interface for climate and steering wheel functions
- Painted matte black
KIT COMPONENTS
- A) Radio trim pane
- B) Radio brackets
- C) 7” touchscreen and button panel
- D) Phillips screws for radio to dash (4)
- E) Panel clips (4)
- F) Harnessing (not shown)
- G) USB replacement panel (not shown)
- H) Antenna adapter (not shown)

DASH DISASSEMBLY
- Unclip, unplug, and remove the climate control panel. (Figure A)

- Unclip and remove the dashboard/ vent trim panel surrounding the radio display. (Figure B))

- Remove (4) 9/32” screws securing the radio display, then unplug and remove the display. (Figure C)
Continue to Kit Preparation
KIT PREPARATION
- Cut the sub-dash to allow room for the aftermarket radio. (Figure A)
Note – do not cut into snap locations.
- Attach (4) panel clips provided onto the radio trim panel. (Figure B)
Continue to Kit Assembly
KIT ASSEMBLY
- Attach the radio brackets to the radio using screws supplied with the radio. (Figure A)
Note – the radio brackets will rest on the factory dash snap locations and place the radio in the correct location. Before mounting, place the radio and bracket assembly into the dash opening and test-fit the radio trim panel. It is suggested to mark the holes and pre-drill with a 1/8” drill bit. (Figure B)
Continue Axxess Interface Installation
![]() | ![]() |
AXXESS INTERFACE INSTALLATION
INTERFACE FEATURES
- Provides accessory power (12-volt 10-amp)
- Retains R.A.P. (retained accessory power)
- Provides NAV outputs (parking brake, reverse, speed sense)
- Retains audio controls on the steering wheel
- Retains safety chimes
- Retains the factory backup camera
- Retains the factory AUX-IN jack
- Retains balance and fade** Non-amplified models only.
- USB retention (with replacement parts included)
- Micro-B USB updatable
Note: Does not support surround camera (360) switching.
INTERFACE COMPONENTS
LD-CH5-T7 ……………………………………………………..Chrysler car side harness for 7” touchscreen
LD-2NAVAMPL ………………………………………………..Radio input harness
LD-SWC-F3.5 ………………………………………………….female 3.5mm adaptor
LD-TSCREENVID ………………………………………………4 pin camera-input harness
LD-CHRYUSBAUX ……………………………………………USB knockout replacement harness
TOOLS REQUIRED
- Crimping tool and connectors, or solder gun, solder, and heat shrink
- Tape
- Wirecutter
- Zip ties
CONNECTIONS
For models without a factory amplifier:
From the 16-pin harness with stripped leads to the aftermarket radio:
- Connect the Red wire to the accessory wire.
- If the aftermarket radio has an illumination wire, connect the Orange/White wire to it.
- Connect the Gray wire to the right rear positive speaker output.
- Connect the Gray/Black wire to the right rear negative speaker output.
- Connect the White wire to the left rear positive speaker output.
- Connect the white/Black wire to the left rear negative speaker output.
The following (3) wires are only for multimedia/navigation radios that require these wires.
- Connect the Blue/Pink wire to the VSS/speed sense wire.
- Connect the Green/Purple wire to the reverse wire.
- Connect the Light Green wire to the parking brake wire
- Tape off and disregard the following wires, they will not be used in this application:
Blue/White, Green, Green/Black, Purple, Purple/Black, Brown
From the car side harness to the aftermarket radio:
- Connect the Black wire to the ground wire.
- Connect the Yellow wire to the battery wire.
- Connect the Purple wire to the right front positive speaker output.
- Connect the Purple/Black wire to the right front negative speaker output.
- Connect the Green wire to the left front positive speaker output.
- Connect the Green/Black wire to the left front negative speaker output.
- Ensure the (2) 4-pin Molex connectors are connected together.
- If the AUX-IN jack in the dash is desired to be used, connect the Red and White RCA jacks to the audio AUX-IN jacks of the aftermarket radio.
- If retaining the factory backup camera, connect the Yellow RCA jack to the reverse camera input.
Continued on the next page
For models with a factory amplifier:
From the 16-pin harness with stripped leads to the aftermarket radio:
- Connect the Red wire to the accessory wire.
- Connect the Blue/White wire to the amp turn-on wire. This wire must be connected to hear sound from the factory amplifier.
- If the aftermarket radio has an illumination wire, connect the Orange/White wire to it.
The following (3) wires are only for multimedia/navigation radios that require these wires.
- Connect the Blue/Pink wire to the VSS/speed sense wire.
- Connect the Green/Purple wire to the reverse wire.
- Connect the Light Green wire to the parking brake wire
- Tape off and disregard the following wires, they will not be used in this application:
Gray, Gray/Black, White, White/Black, Green, Green/Black, Purple, Purple/Black, Brown
From the car side harness to the aftermarket radio:
- Connect the Black wire to the ground wire.
- Connect the Yellow wire to the battery wire.
- Connect the Gray wire to the right front positive speaker output.
- Connect the Gray/Black wire to the right front negative speaker output.
- Connect the White wire to the left front positive speaker output.
- Connect the white/Black wire to the left front negative speaker output.
- Disconnect the 4-pin Molex connectors and plug in the male 4-pin harness with stripped leads.
- Connect the Green wire to the left rear positive speaker output.
- Connect the Green/Black wire to the left rear negative speaker output.
- Connect the Purple wire to the right rear positive speaker output.
- Connect the Purple/Black wire to the right rear negative output.
- If the AUX-IN jack in the dash is desired to be used, connect the Red and White RCA jacks to the audio AUX-IN jacks of the aftermarket radio.
- If retaining the factory backup camera, connect the Yellow RCA jack to the reverse camera input.
Continued on the next page
3.5mm jack steering wheel control retention:
The 3.5mm jack is to be used to retain audio controls on the steering wheel control.
- For the radios listed below: Connect the included female 3.5mm connector with stripped leads, to the male 3.5mm SWC jack from the car side harness. Any remaining wires tape off and disregard:
- Eclipse: Connect the steering wheel control wire, normally Brown, to the Brown/White wire of the connector. Then connect the remaining steering wheel control wire, normally Brown/White, to the Brown wire of the connector.
- Metra OE: Connect the steering wheel control Key 1 wire (Gray) to the Brown wire.
- Kenwood or select JVC with a steering wheel control wire: Connect the
Blue/Yellow wire to the Brown wire.
Note: If your Kenwood radio auto-detects as a JVC manually set the radio type to Kenwood. See the instructions under changing radio type. - XITE: Connect the steering wheel control SWC-2 wire from the radio to the
Brown wire. - Parrot Asteroid Smart or Tablet: Connect the 3.5mm jack into the AX-SWC-PARROT (sold separately), and then connect the 4-pin connector from the AX-SWC- PARROT into the radio.
Note: The radio must be updated to rev. 2.1.4 or higher software. - Universal “2 or 3 wire” radio: Connect the steering wheel control wire, referred to as Key-A or SWC-1, to the Brown wire of the connector. Then connect the remaining steering wheel control wire, referred to as Key-B or SWC-2, to the Brown/White wire of the connector. If the radio comes with a third wire for the ground, disregard this wire.
Note: After the interface has been programmed to the vehicle, refer to the manual provided with the radio for assigning the SWC buttons. Contact the radio manufacturer for more information. - For all other radios: Connect the 3.5mm jack into the port on the radio designated for an external steering wheel control interface. Refer to the manual provided with the radio if in doubt as to where the 3.5mm jack goes to.
4-pin harness with yellow RCA jacks: - If retaining the factory backup camera to the touchscreen display is desired, connect the Yellow RCA jack labeled “Rearview camera”, to the Yellow RCA jack from the
6552 harness. - Disregard the Yellow RCA jack labeled “AUX video”, it will not be used in this application.
Replacing the factory Media hub with the LD-CHRYUSBAUX1 USB knockout replacement harness:
- With a pry tool, unsnap and remove the back of the center console.
- Remove two screws from the floor console duct and remove them from the console.
- Disconnect the plugs from the media hub.
- Compress each side of the tabs on the media hub housing and push up into the console to remove.
- Install the LD-CHRYUSBAUX1 USB knockout replacement harness through the factory location and route the harness up the new aftermarket radio location.
Continue to Installation
INSTALLATION
It is highly advisable to read the following steps beforehand, to ensure a clear understanding of what is to be expected. The following steps must be done in the order that they are numbered.
With the vehicle completely off:
- Connect the 16-pin harness with stripped leads into port “B” in the touchscreen display.
- Connect the car side harness to the wiring harnesses in the vehicle. Then insert the car side harness into port “A” on the touchscreen display. But do not install this harness until exactly before step 1 from the Programming section. This is a timed process
- Connect the 4-pin harness with yellow RCA jacks into port “C” in the touchscreen display.
- Connect the 2-pin harness into port “E” on the touchscreen display, and then to the wiring harness in the vehicle.
- Port “F” is an updated port for future firmware upgrades. (Figure A)
- Secure the touchscreen to the dash using the factory screws. (Figure B)
Continue to Programming
![]() | ![]() |
PROGRAMMING
- Refer to step 2 from the Installation section.
- Press the push-to-start button to start the vehicle.
- Program the kit:
a. Once the touchscreen display loads up, select the vehicle type.
b. Wait until the radio comes on, and the touchscreen display shows SWC Configured. - This process may take up to 3 minutes.
Note: If the touchscreen display does not load up, or the radio doesn’t come on within 3 minutes, and/or the touchscreen display does not show SWC Configured, check all connections, then reset the interface and try again. Refer to the Troubleshooting section. - Cycle the key off. If the driver’s door is closed, open and close the door. Cycle the key back on.
- Test all functions of the installation for proper operation, before reassembling the dash.
Note: The clock and compass in the driver’s information center will no longer be functional.
Continue to Touchscreen display operation
TOUCHSCREEN DISPLAY OPERATION
Climate Control screen

- This is the climate control screen that will be displayed on the touchscreen display.
This is considered the Main Menu. - The upper left tab with (3) arrows will take you to the screen where the Heated/Cooled
Seats, Heated Steering, and Mirror Dimming are now placed, if applicable. - The upper right tab with a gear icon will take you to the Settings screen.
- The climate controls will function in the same manner that they did with the factory climate controls.
Heated seat screen
From the Heated seat screen press, the car icon on the upper right-hand side of the screen to enter the hard button screen
Continued on the next page
Hard Button screen

Note: Only applicable icons will show on this screen
Settings screen

- Display
• Backlight – For controlling the color of the buttons and back-light intensity.
• Language
• Units - Safety & Driving Assistance – Factory features
- Lights – Factory features
- Doors & Locks – Factory features
Continued on the next page
- Engine Off Options – Factory features
- Steering Wheel Controls
- Remap Buttons – For remapping the steering wheel control buttons
- Dual Assign – For dual assigning the steering wheel control buttons (long button Select Radio – For auto-detecting the radio, or changing the radio type
- Digital Amp Gain – For adjusting the output gain to the amplifier
- Backup Camera
- Enable/disables the backup camera image to the touchscreen display.
Disabled by default.
- System Configuration
• About – Information regarding the software in the kit
• Reset Vehicle Type – To reset the kit to default settings
• Comfort Options Override – Provides the ability to disable/enable certain factory options
Continue to Steering Wheel Control Settings
STEERING WHEEL CONTROL SETTINGS
Remap Buttons screen

Remap Buttons
- The interface has the ability to change the button assignment for the steering wheel control audio buttons, except Volume-Up and Volume-Down. Follow the prompts on the touchscreen display to remap the steering wheel control audio button(s) to your liking.
Note: The aftermarket radio may not have all of these commands. Please refer to the manual provided with the radio, or contact the radio manufacturer, for specific commands recognized by that particular radio.
Dual Assign screen
Dual Assign
- The interface has the capability to assign two functions to a single button, except Volume-Up and Volume-Down. Follow the prompts on the touchscreen display to program the button(s) to your liking.
Note: Seek-Up and Seek-Down come programmed as Preset-Up and Preset-Down for a long button press.
Continued on the next page
Select Radio

- To show which brand radio is “auto-detected” to the interface, press the “Autodetect” button. The radio detected will have a filled-in circle. If the incorrect radio is shown, select the proper radio.
- Following is a list of radio manufacturers that the interface presently acknowledges. Others may be added at a later date. Universal “2 or 3 wire” radios can show up as any of these radio manufacturers.
| Eclipse (Type 1) † | Clarion (Type 2) † |
| Kenwood ‡ | Metra OE |
| Clarion (Type 1) † | Eclipse (Type 2) † |
| Sony / Dual | LG |
| JVC | Parrot ** |
| Pioneer/Jensen | SITE |
| Alpine * | Philips |
| Visteon | JBL |
| Valor |
* Note: If the interface shows an Alpine radio, and you do not have an Alpine radio, that means the interface does not detect a radio connected to it, i.e., an open connection. Verify that the 3.5mm jack is connected to the correct steering wheel jack/wire in the radio.
** Note: The AX-SWC-PARROT is required (sold separately). Also, the Parrot radio must be updated to rev. 2.1.4 or higher through www.parrot.com.
† Note: If you have a Clarion radio and the steering wheel controls do not work, change the radio type to the other Clarion radio type; same for Eclipse.
‡ Note: If you have a Kenwood radio and the touchscreen display shows a JVC radio, change the radio type to Kenwood.
TROUBLESHOOTING
Resetting the interface
- With the vehicle running, press the Reset Vehicle Type button mentioned in
System Configuration. - Refer to Programming, step 3, from this point.
FINAL ASSEMBLY

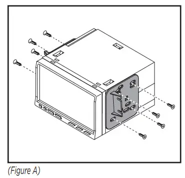
- Secure the radio to the dash with the provided screws.
Note – route screen wiring up above radio to screen location. (Figure A) - Snap the radio trim panel over the radio. 3. Reassemble the dash in reverse order of disassembly to complete the installation.


Having difficulties? We’re here to help.
Contact our Tech Support line at:
386-257-1187
Or via email at: [email protected]
Tech Support Hours (Eastern Standard Time)
Monday – Friday: 9:00 AM – 7:00 PM
Saturday: 10:00 AM – 7:00 PM
Sunday: 10:00 AM – 4:00 PM
KNOWLEDGE IS POWER
Enhance your installation and fabrication skills by enrolling in the most recognized and respected mobile electronics school in our industry. Log onto ww.installerinstitute.com or call 800-354-6782 for more information and take steps toward a better tomorrow.

Metra recommends MECPcertified technicians






























