inELS RFIM Series Input Contact Converter Instructions
Characteristics
- RFIM-40B/BP-SL: this wireless converter of the contact changes the wired pushbutton / switch to a wireless one.
- 4 inputs enable mutually independent control of 4 elements.
- battery power supply (3V/CR123A – included in the packing) with a lifespan of approx. 8 years, depending on the frequency of use.
- the contact may be closed permanently.
- RFIM-40B/230-SL: this converter of the contact changes the pushbutton / switch with local commercial power supply to a wireless one.
- 4 inputs enable mutually independent control of 4 elements.
- power supply from the network; the inputs respond to activation of the commercial power supply.
- It can be used for transmission of information about closing of a contact (of a detector, pushbutton, technology, logic output).
- After pressing the pushbutton the preset command (ON/OFF, dimming, timed switching off/on, pulling the blinds up/down) is sent.
- Optional setting of scenes, where one pressing of a pushbutton controls more iNELS RF Control elements.
- Reach up to 200m (in open space); in case of insufficient signal strength between the controller and elements, a signal repeater type RFRP-20 can be used, or use the elements with the RFIO2 protocol that support this function.
- Communication frequency with the RFIO two-way protocol.
- The BOX design offers installation directly in an installation box under a pushbutton/switch.
Assembly
Mounting into an installation box under the existing button / switch.
Connection

RF controlers can control:
- switches
RFSA-11B, RFSA-61B, RFSA-62B, RFSA-61M, RFSA-66M, RFSAI-61B, RFSC-11, RFSC-61, RFUS-11, RFUS-61, RFJA-12B - dimmers
RFDA-73/RGB, RFDA-11B, RFDA-71B, RFDEL-71B, RFDEL-71M, RFDSC-11, RFDSC-71, RFDAC-71B - lighting
RF-RGB-LED-550, RF-White-LED-675
Indicators, settings
Newly produced drivers work in the RFIO2 data protocol mode.
These drivers are loaded in the actuators in a different way than before. Among other things, it eliminates the risk of inadvertently loading another randomly occurring controller within range. Drivers can still be switched to so-called compatibility mode, and loaded in a simpler (older way).
The mode in which the controllers are working is changed and indicated after 8-second pressing of the ‘Prog’ button. The LED diode under the pushbutton is on when the button is kept pressed; after 8 seconds it indicates the chosen mode by different flashing intervals. The mode changes to the inverse mode after each pressing of the button.
RFIO2 mode
= Double flash (flash, flash, gap, flash, flash)
Compatibility mode
= Flash fast (flash, flash, flash, flash, flash)
Update the controller actuators in RFIO2 mode
If the controller is used in RFIO2 mode, then to update the controller actuators, it is necessary to switch not only the actuator to the update mode (according to the instructions for the actuator), but also the controller in the following way:
- Press the programming button on the controller, converter for more than 1 second and release it.
- The LED diode starts fl ashing in second intervals. Leave the LED fl ashing
- activate the programming mode on the actuator by pressing the programming button for more than 1 second. The actuator is also put into the programming mode.
- The desired function can be selected by the respective number of pressing of the control pushbuttons or inputs (of the converter).
- The programming modes on the controller and actuator can be closed by pressing the programming button for less than 1 second. The LEDs stop flashing.
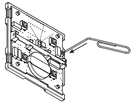
Use a suitable tool (paper clip, screwdriver) to push on the control pin. The batteries are raised and the programming button is released.
After removing the control flaps, the programming button is accessible.
The programming button is operated with a suitable thin tool.

Device description


Safe handling
When handling a device unboxed it is important to avoid contact with liquids. Never place the device on the conductive pads or objects, avoid unnecessary contact with the components of the device.
Radio frequency signal penetration through various construction materials.

| ![]() | ![]() | ![]() |
|
| 60 – 90 % | 80 – 95 % | 20 – 60 % | 0 – 10 % | 80- 90 % |
| brick walls | wooden structures with plaster boards | reinforced concrete | metal partitions | common glass |
Technical parameters
| RFIM-40B/BP-SL | RFIM-40B/230-SL | |||
| Supply voltage: | 1 x 3V battery CR 123A | 230 V AC | ||
| Battery life: | 8 years | |||
| Transmission indication / function: | red LED | |||
| Number of inputs: | 4 | 4 | ||
| Supply voltage tolerance: | +10%; -15% | |||
| Control | ||||
| Communication protocol: | RFIO2 | |||
| Frequency: | 866-922 MHz | |||
| Repeater function: | no | |||
| Signal transmission method: | one-way addressed message | |||
| Reach: | in the open up to 200 m | |||
| Other data | ||||
| Operating temperature: | -10 to /až+ 45°C | -10 to/až +50 °C | ||
| Operating position: | any | |||
| Resist.of connection between terminals | ||||
| – for switched on button: | < 300 Ω | |||
| – for disconnected contact: | > 10 kΩ | |||
| Mounting: | free at lead-in wires | |||
| Protection: | IP40 | |||
| Voltage category: | III. | |||
| Contamination degree: | 2 | |||
| Connection | screwless terminals | |||
| Dimensions: | 43 x 44 x 22 mm | |||
| Cross section of connecting wires (mm2) | 0.2-1.5 mm2 solid/flexible | |||
| Weight: | 37 g | 25 g | ||
| Contact voltage: | 3 V | 230 V | ||
| Length of cable to contact: | max. 5 m | max. 100 m parallel line | ||
| Related standards: | EN 60730, EN 63044, EN 300 220, EN 301 489 | |||
* RFIM-40B/BP-SL – on condition, that contact is permanently closed- battery life is approx. 1 year.
Attention:
When you instal iNELS RF Control system, you have to keep minimal distance 1 cm between each units. Between the individual commands must be an interval of at least 1s.
Insertion and replacement of a battery
- Batteries is inserted in the product. Before using for the fi rst time, remove the insulating tape from the battery contacts by pulling in the direction of the arrow.

- Using a screwdriver and a light lever in the groove outwards, unlock the four sides of the snap.

- Remove the top cover of the product.

- Remove the old battery and dispose of it in an environmentally friendly manner.

- Insert a new battery, paying attention to the polarity of the battery.

- Replace the cover, pushing the tabs in the corners.

Warning
Instruction manual is designated for mounting and also for user of the device. It is always a part of its packing. Installation and connection can be carried out only by a person with adequate professional qualification upon understanding this instruction manual and functions of the device, and while observing all valid regulations. Trouble-free function of the device also depends on transportation, storing and handling. In case you notice any sign of damage, deformation, malfunction or missing part, do not install this device and return it to its seller. It is necessary to treat this product and its parts as electronic waste after its lifetime is terminated. Before starting installation, make sure that all wires, connected parts or terminals are de-energized. While mounting and servicing observe safety regulations, norms, directives and professional, and export regulations for working with electrical devices. Do not touch parts of the device that are energized – life threat. Due to transmissivity of RF signal, observe correct location of RF components in a building where the installation is taking place. RF Control is designated only for mounting in interiors. Devices are not designated for installation into exteriors and humid spaces. The must not be installed into metal switchboards and into plastic switchboards with metal door – transmissivity of RF signal is then impossible. RF Control is not recommended for pulleys etc. – radiofrequency signal can be shielded by an obstruction, interfered, battery of the transceiver can get flat etc. and thus disable remote control.
ELKO EP declares that the RFIM-40B-SL type of equipment complies with Directives 2014/30/EU, 2011/65/EU, 2015/863/EU and 2014/35/EU. The full EU Declaration of Conformity is available at:
https://www.elkoep.com/input-contact-converter—rfim-40bbp-sl
https://www.elkoep.com/input-contact-converter—rfim-40b230-sl
ELKO EP, s.r.o., Palackého 493, 769 01 Holešov, Všetuly, Czech Republic
Tel.: +420 573 514 211,
e-mail: [email protected],
www.elkoep.com
Support
ELKO EP, s.r.o. Palackého 493 769 01
Holešov, Všetuly Česká republika
e-mail: [email protected]
Support: +420 778 427 366 CZ
Technická podpora: +420 775 444 609





























