
58209-UPC Two-Jaw Pilot Bearing Puller
Owner’s Manual & Safety Instructions
Visit our website at: http://www.harborfreight.com
Email our technical support at: [email protected]
58209-UPC Two-Jaw Pilot Bearing Puller
When unpacking, make sure that the product is intact and undamaged. If any parts are missing or broken, please call 1-888-866-5797 as soon as possible.
Copyright© 2022 by Harbor Freight Tools® . All rights reserved. No portion of this manual or any artwork contained herein may be reproduced in any shape or form without the express written consent of Harbor Freight Tools. Diagrams within this manual may not be drawn proportionally. Due to continuing improvements, actual product may differ slightly from the product described herein. Tools required for assembly and service may not be included.
WARNING: Read this material before using this product.
Failure to do so can result in serious injury.
SAVE THIS MANUAL.
Specifications
| Inner Fork Length | 2-4/5″ |
| Jaw Maximum Reach | 1-1/4″ |
| Jaw Minimum Reach | 3/16″ |
| Jaw Maximum Spread | 1-1/2″ |
| Dimensions | 7-2/3″ H x 3-1/2″ L x 1-1/4″ W |
| Material | Steel Alloy |
Important Safety Information
- Assemble and use only according to these instructions. Improper assembly and usage can create hazards.
- Wear ANSI-approved safety goggles and heavy-duty work gloves during assembly and use.
- Keep area clean and well lit.
- Use only according to vehicle service instructions.
- Inspect before every use; do not use if parts are loose or damaged.
- Keep children and other bystanders out of the area.
- Do not use when tired or when under the influence of drugs or medication.
- Use as intended only.
- Maintain product labels and nameplates. These carry important safety information. If unreadable or missing, contact Harbor Freight Tools for a replacement.
Operation Instructions
Read the ENTIRE IMPORTANT SAFETY INFORMATION section at the beginning of this document including all text under subheadings therein before set up or use of this product.
WARNING:
TO PREVENT SERIOUS INJURY FROM EXPLOSION: Carefully follow service instructions to disable airbag before working near steering wheel or steering column.
Pulling Bearings
- Ensure bearing (not included) is not retained.
- If bearing is retained, remove retainer as necessary.
- Loosen Nut (3).
- Hold Bearing Puller upright so Jaws (9) extend below Fork (5).
- Hold Body (6) and turn T-Handle (1) counterclockwise until Jaws are flat against each other.
Note: To prevent damage, do not force Jaws into bearing. - Insert Jaws completely through bearing.
- Hold Body and turn T-Handle clockwise until Jaws press firmly against inner bearing.
- Place Fork against surface.
- Turn Nut clockwise with fingers until snug.
- Rotate Body clockwise until Restriction Plate (7) rests against Fork.
- Ensure Jaw tips firmly grasp back of bearing.

- Support Bearing Puller while turning Nut clockwise with wrench (not included).
- Remove bearing.

- Loosen Nut.
- Hold Bearing Puller upright so bearing extends below Fork.
- Hold Body and turn T-Handle counterclockwise.
- Remove bearing from Bearing Puller.
Maintenance
WARNING
TO PREVENT SERIOUS INJURY FROM TOOL FAILURE: Do not use damaged equipment. If abnormal noise or vibration occurs, have the problem corrected before further use.
Cleaning, Maintenance, and Lubrication
- BEFORE EACH USE, inspect the general condition of the tool. Check for:
• loose hardware
• misalignment or binding of moving parts
• cracked or broken parts
• any other condition that may affect its safe operation. - AFTER USE, wipe the tool off with a clean cloth.
- When storing, coat all parts with a light oil to prevent rust.
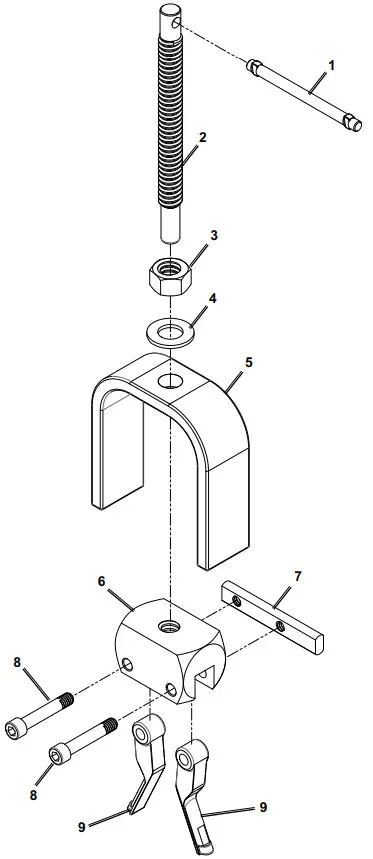
Parts List and Diagram
Parts List
| Part | Description | Qty. |
| 1 | T-Handle | 1 |
| 2 | Bolt | 1 |
| 3 | Nut | 1 |
| 4 | Washer | 1 |
| 5 | Fork | 1 |
| 6 | Body | 1 |
| 7 | Restriction Plate | 1 |
| 8 | Bolt | 2 |
| 9 | Jaw | 2 |
Record Serial Number Here:…………………………………….
Note: If product has no serial number, record month and year of purchase instead.
Note: Some parts are listed and shown for illustration purposes only, and are not available individually as replacement parts. Specify UPC 193175462725 when ordering parts.
Diagram
PLEASE READ THE FOLLOWING CAREFULLY
THE MANUFACTURER AND/OR DISTRIBUTOR HAS PROVIDED THE PARTS LIST AND ASSEMBLY DIAGRAM IN THIS DOCUMENT AS A REFERENCE TOOL ONLY. NEITHER THE MANUFACTURER OR DISTRIBUTOR MAKES ANY REPRESENTATION OR WARRANTY OF ANY KIND TO THE BUYER THAT HE OR SHE IS QUALIFIED TO MAKE ANY REPAIRS TO THE PRODUCT, OR THAT HE OR SHE IS QUALIFIED TO REPLACE ANY PARTS OF THE PRODUCT. IN FACT, THE MANUFACTURER AND/OR DISTRIBUTOR EXPRESSLY STATES THAT ALL REPAIRS AND PARTS REPLACEMENTS SHOULD BE UNDERTAKEN BY CERTIFIED AND LICENSED TECHNICIANS, AND NOT BY THE BUYER. THE BUYER ASSUMES ALL RISK AND LIABILITY ARISING OUT OF HIS OR HER REPAIRS TO THE ORIGINAL PRODUCT OR REPLACEMENT PARTS THERETO, OR ARISING OUT OF HIS OR HER INSTALLATION OF REPLACEMENT PARTS THERETO.
Limited 90 Day Warranty
Harbor Freight Tools Co. makes every effort to assure that its products meet high quality and durability standards, and warrants to the original purchaser that this product is free from defects in materials and workmanship for the period of 90 days from the date of purchase. This warranty does not apply to damage due directly or indirectly, to misuse, abuse, negligence or accidents, repairs or alterations outside our facilities, criminal activity, improper installation, normal wear and tear, or to lack of maintenance. We shall in no event be liable for death, injuries to persons or property, or for incidental, contingent, special or consequential damages arising from the use of our product. Some states do not allow the exclusion or limitation of incidental or consequential damages, so the above limitation of exclusion may not apply to you. THIS WARRANTY IS EXPRESSLY IN LIEU OF ALL OTHER WARRANTIES, EXPRESS OR IMPLIED, INCLUDING THE WARRANTIES OF MERCHANTABILITY AND FITNESS.
To take advantage of this warranty, the product or part must be returned to us with transportation charges prepaid. Proof of purchase date and an explanation of the complaint must accompany the merchandise. If our inspection verifies the defect, we will either repair or replace the product at our election or we may elect to refund the purchase price if we cannot readily and quickly provide you with a replacement. We will return repaired products at our expense, but if we determine there is no defect, or that the defect resulted from causes not within the scope of our warranty, then you must bear the cost of returning the product.
This warranty gives you specific legal rights and you may also have other rights which vary from state to state.
26677 Agoura Road
Calabasas, CA 91302
1-888-866-5797



















