HARBOR FREIGHT 64042 5 Ton Pull-Back Ram

Product Information
The product is a pull-back ram with a rated capacity of 10,000 lb. It is designed for use in various applications such as pushing, pulling, lifting, and bending heavy objects. The product comes with a set of safety instructions and specifications to ensure proper usage and maintenance.
Specifications
- Rated Capacity: 10,000 lb.
Important Safety Information
The safety instructions provided with the product must be read and understood before operating the device. The following are important safety guidelines:
- The study, understand, and follow all instructions before operating this device.
- Wear eye protection that meets ANSI/ISEA Z87.1 and OSHA standards.
- Do not exceed rated capacity.
- Make sure the setup is stable and secure before performing any work.
- Failure to heed these markings may result in personal injury and/or property damage.
- No alterations or modifications shall be made to this product.
- Keep the work area clean and well-lit.
- This product is not a toy. Do not allow children to play with or near this item.
- Do not operate when tired or under the influence of alcohol, drugs, or medication.
- Avoid moving parts while using the Ram. Once the unit is set in place keep fingers and hands away from contact areas. If the unit needs to be moved, release pump pressure, move, and resume pumping.
- Wear heavy-duty work gloves during use.
- Be aware of dynamic loading! Sudden load movement may briefly create excess load causing product failure.
- Replacement parts and accessories. When servicing, use only identical replacement parts. Only use accessories intended for use with the pull-back ram. Approved accessories are available from Harbor Freight Tools.
- Store idle equipment. When not in use, the pull-back ram should be stored in a dry location to reduce rust. For safety, store the pull-back ram in a locked cabinet, out of reach of children. During long-term storage, coat the exposed chrome area of the ram with a protective lubricant (such as silicon spray) to prevent rust damage.
- Keep coupler valves protected when not in use. Dust caps are included for all coupler valves and should be screwed in when not in use to keep the equipment clean.
- Use as intended only.
- Inspect before every use; do not use if parts are loose or damaged.
- Maintain product labels and nameplates. These carry important safety information. If unreadable or missing, contact Harbor Freight Tools for a replacement.
Product Usage Instructions
Before using the product, read and understand the safety instructions provided with the product. Follow the guidelines below for proper product usage:
- Ensure that the product is intact and undamaged upon unpacking. If any parts are missing or broken, call 1-888-866-5797 as soon as possible.
- Tools required for assembly and service may not be included.
- Do not exceed the rated capacity of the product.
- Make sure the setup is stable and secure before performing any work.
- Avoid moving parts while using the Ram. Once the unit is set in place keep fingers and hands away from contact areas. If the unit needs to be moved, release pump pressure, move, and resume pumping.
- Wear heavy-duty work gloves during use.
- Be aware of dynamic loading! Sudden load movement may briefly create excess load causing product failure.
- Use only identical replacement parts when servicing the product. Only use accessories intended for use with the pull-back ram. Approved accessories are available from Harbor Freight Tools.
- Inspect the product before every use and do not use if parts are loose or damaged.
- Maintain product labels and nameplates. These carry important safety information. If unreadable or missing, contact Harbor Freight Tools for a replacement.
Follow the instructions provided in the product manual to assemble the product. Make sure to read the entire important safety information section before setup or use of the product. To remove the end plug, unscrew and save the End Plug located on the end of the Coupler as shown in Figure A.
IMPORTANT SAFETY INFORMATION
- Study, understand, and follow all instructions before operating this device.
- Wear eye protection that meets ANSI/ISEA Z87.1 and OSHA standards.
- Do not exceed rated capacity.
- Make sure setup is stable and secure before performing any work.
- Failure to heed these markings may result in personal injury and/or property damage.
- No alterations or modifications shall be made to this product.
- Keep work area clean and well lit.
- This product is not a toy. Do not allow children to play with or near this item.
- Do not operate when tired or when under the influence of alcohol, drugs or medication.
- Avoid moving parts while using the Ram. Once unit is set in place keep fingers and hands away from contact areas. If unit needs to be moved, release pump pressure, move, and resume pumping.
- Wear heavy-duty work gloves during use.
- Be aware of dynamic loading! Sudden load movement may briefly create excess load causing product failure.
- Replacement parts and accessories. When servicing, use only identical replacement parts. Only use accessories intended for use with the pull back ram. Approved accessories are available from Harbor Freight Tools.
- Store idle equipment. When not in use, the pull back ram should be stored in a dry location to reduce rust. For safety, store the pull back ram in a locked cabinet, out of reach of children. During long term storage, coat the exposed chrome area of the ram with a protective lubricant (such as silicon spray) to prevent rust damage.
- Keep coupler valves protected when not in use. Dust caps are included for all coupler valves and should be screwed in when not in use to keep the equipment clean.
- Use as intended only.
- Inspect before every use; do not use if parts are loose or damaged.
- Maintain product labels and nameplates. These carry important safety information. If unreadable or missing, contact Harbor Freight Tools for a replacement.
Assembly
Read the ENTIRE IMPORTANT SAFETY INFORMATION section at the beginning of this document including all text under subheadings therein before set up or use of this product.
- Unscrew and save the End Plug located on the end of the Coupler as shown in Figure A.

- Securely screw the Hydraulic Pump Hose (not included) into the Coupler as shown in Figure B.
- Refer to the Hydraulic Pump (sold separately) instruction manual for pump assembly instructions.
Operation
Read the ENTIRE IMPORTANT SAFETY INFORMATION section at the beginning of this document including all text under subheadings therein before set up or use of this product.
Note: Refer to the Hydraulic Pump instruction manual for pump operation.
- Position the Hydraulic Pump on a stable surface close to the pulling area.
- Hook one end of the Ram to the object to be moved and the other end to a stable base as shown in Figure C. A chain or strap may be used on either side to provide a hooking surface. Make sure the chain or strap is rated to support the pulling weight.
- Slowly apply pressure to the Ram. Use caution; watch for damage to stressed areas and ensure personal safety at all times.
- When the object has reached the desired position, make sure it is stable and slowly release pressure to the Ram. If the object is not stable, affix it in place before releasing pressure to the Ram.

Maintenance
- Keep all moving parts well lubricated. Using a high quality lubricating oil, coat the Ram before every use.
- Occasionally the Ram will need to be purged of air (bled). The symptoms will include: slow response to pumping, a spongy feeling to pumping, the Ram not compressing as far as it should, and a loss of pulling power. Bleeding the ram requires specialized tools and procedures. Only a qualified technician should bleed the Ram.
Limited 90 Day Warranty
Harbor Freight Tools Co. makes every effort to assure that its products meet high quality and durability standards, and warrants to the original purchaser that this product is free from defects in materials and workmanship for the period of 90 days from the date of purchase. This warranty does not apply to damage due directly or indirectly, to misuse, abuse, negligence or accidents, repairs or alterations outside our facilities, criminal activity, improper installation, normal wear and tear, or to lack of maintenance. We shall in no event be liable for death, injuries to persons or property, or for incidental, contingent, special or consequential damages arising from the use of our product. Some states do not allow the exclusion or limitation of incidental or consequential damages, so the above limitation of exclusion may not apply to you. THIS WARRANTY IS EXPRESSLY IN LIEU OF ALL OTHER WARRANTIES, EXPRESS OR IMPLIED, INCLUDING THE WARRANTIES OF MERCHANTABILITY AND FITNESS. To take advantage of this warranty, the product or part must be returned to us with transportation charges prepaid. Proof of purchase date and an explanation of the complaint must accompany the merchandise. If our inspection verifies the defect, we will either repair or replace the product at our election or we may elect to refund the purchase price if we cannot readily and quickly provide you with a replacement. We will return repaired products at our expense, but if we determine there is no defect, or that the defect resulted from causes not within the scope of our warranty, then you must bear the cost of returning the product. This warranty gives you specific legal rights and you may also have other rights which vary from state to state.
PLEASE READ THE FOLLOWING CAREFULLY
THE MANUFACTURER AND/OR DISTRIBUTOR HAS PROVIDED THE PARTS LIST AND ASSEMBLY DIAGRAM IN THIS DOCUMENT AS A REFERENCE TOOL ONLY. NEITHER THE MANUFACTURER OR DISTRIBUTOR MAKES ANY REPRESENTATION OR WARRANTY OF ANY KIND TO THE BUYER THAT HE OR SHE IS QUALIFIED TO MAKE ANY REPAIRS TO THE PRODUCT, OR THAT HE OR SHE IS QUALIFIED TO REPLACE ANY PARTS OF THE PRODUCT. IN FACT, THE MANUFACTURER AND/OR DISTRIBUTOR EXPRESSLY STATES THAT ALL REPAIRS AND PARTS REPLACEMENTS SHOULD BE UNDERTAKEN BY CERTIFIED AND LICENSED TECHNICIANS, AND NOT BY THE BUYER. THE BUYER ASSUMES ALL RISK AND LIABILITY ARISING OUT OF HIS OR HER REPAIRS TO THE ORIGINAL PRODUCT OR REPLACEMENT PARTS THERETO, OR ARISING OUT OF HIS OR HER INSTALLATION OF REPLACEMENT PARTS THERETO.
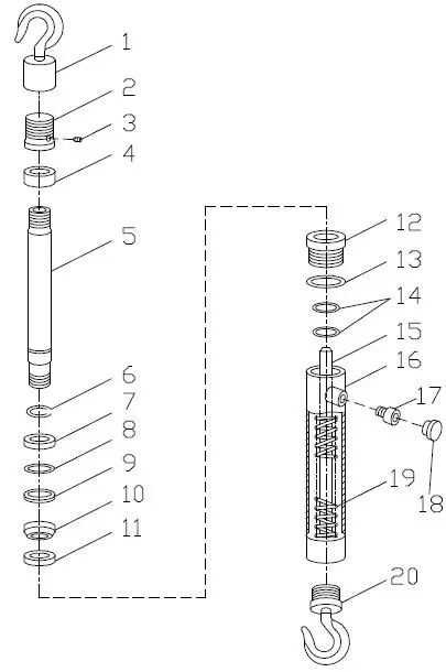
Parts List and Diagram
| Part | Description | Qty |
| 1 | Up-Hook | 1 |
| 2 | Thread insert | 1 |
| 3 | Hex Screw | 1 |
| 4 | Positioning sleeve | 1 |
| 5 | Shaft | 1 |
| 6 | Washer for shaft | 1 |
| 7 | Ring | 1 |
| 8 | O-Ring | 1 |
| 9 | Bowl Ring | 1 |
| 10 | Ring | 1 |
| 11 | Nut | 1 |
| 12 | Cap | 1 |
| 13 | O-Ring | 1 |
| 14 | O-Ring | 2 |
| 15 | Positioning axis | 1 |
| 16 | Cylinder | 1 |
| 17 | Connector | 1 |
| 18 | Dust Cap | 1 |
| 19 | Spring | 1 |
| 20 | Down Hook | 1 |

Record Serial Number Here:
- Note: If product has no serial number, record month and year of purchase instead.
- Note: Some parts are listed and shown for illustration purposes only, and are not available individually as replacement parts. Specify UPC 792363640428 when ordering parts.
- 26677 Agoura Road
- Calabasas, CA 91302
- 1-888-866-5797
When unpacking, make sure that the product is intact and undamaged. If any parts are missing or broken, please call 1-888-866-5797 as soon as possible. Copyright© 2022 by Harbor Freight Tools®. All rights reserved. No portion of this manual or any artwork contained herein may be reproduced in any shape or form without the express written consent of Harbor Freight Tools. Diagrams within this manual may not be drawn proportionally. Due to continuing improvements, actual product may differ slightly from the product described herein. Tools required for assembly and service may not be included.
WARNING: Read this material before using this product. Failure to do so can result in serious injury. SAVE THIS MANUAL
- Visit our website at: http://www.harborfreight.com.
- Email our technical support at: [email protected].
Save This Manual Keep this manual for the safety warnings and precautions, assembly, operating, inspection, maintenance and cleaning procedures. Write the product’s serial number in the back of the manual near the assembly diagram (or month and year of purchase if product has no number). Keep this manual and the receipt in a safe and dry place for future reference.



















