
Cyclone 10 Loudspeaker
User Guide 
voidacoustics.com
Cyclone 10
Dynamic sound, visionary form
USER GUIDE V2.1
©2023 Void Acoustics Research Ltd.
This user guide is subject to change without notice.
For the latest online version, visit: www.voidacoustics.com
Void Acoustics and the Void logo are registered trademarks of Void Acoustics Research Ltd. in the United Kingdom, USA and other countries; all other Void trademarks are the property of Void Acoustics Research Ltd.
Safety and Regulations
1.1 Important safety instructions
The lightning flash with an arrowhead symbol within an equilateral triangle is intended to alert the user to the presence of uninsulated “dangerous voltage” within the product’s enclosure that may be of sufficient magnitude to constitute a risk of electric shock to persons.
The exclamation point within an equilateral triangle is intended to alert the user of the presence of important operating and maintenance (servicing)instructions in the literature accompanying the appliance.
Safety instructions – read this first
- Read these instructions.
- Keep these instructions.
- Heed all warnings.
- Follow all instructions.
- Do not use this apparatus near water.
- Clean only with a dry cloth.
- Do not block any ventilation openings. Install in accordance with the manufacturer’s instructions.
- Do not install near any heat source such as radiators, heat registers, stoves, or other such apparatus that produce heat.
- Do not defeat the safety purpose of the grounding-type plug. A grounding type plug has two blades and a third grounding prong. The third prong is provided for your safety. If the provided plug does not fit into your outlet, consult an electrician for replacement of the obsolete outlet.
- Protect power cords from being walked on or pinched particularly at plugs, convenience receptacles, and the point where they exit the apparatus.
- Only use attachments and accessories specified by Void Acoustics.
- Only use with the cart, stand, tripod, bracket, or table specified by the manufacturer, or sold with the apparatus. When a cart is used, use caution when moving the cart/apparatus combination to avoid injury from tip-over.
- Unplug the apparatus during lightning storms or when unused for long periods of time.
- Refer all servicing to qualified service personnel. Servicing is required when the apparatus has been damaged in any way, such as when the power-supply cord or plug is damaged, liquid has been spilled or objects have fallen into the apparatus, the apparatus has been exposed to rain or moisture, does not operate normally, or has been dropped.
- Since the mains power supply cord attachment plug is used to disconnect the device, the plug should always be easily accessible.
- Void loudspeakers can produce sound levels capable of causing permanent hearing damage from prolonged exposure. The higher the sound level, the less exposure needed to cause such damage. Avoid prolonged exposure to the high sound levels from the loudspeaker.
1.2 Limitations
This guide is provided to help familiarise the user with the loudspeaker system and its accessories. It is not intended to provide comprehensive electrical, fire, mechanical and noise training and is not a substitute for industry-approved training. Nor does this guide absolve the user of their obligation to comply with all relevant safety legislation and codes of practice. While every care has been taken in creating this guide, safety is user dependent and Void Acoustics Research Ltd cannot guarantee complete safety whenever the system is rigged and operated.
1.3 EC declaration of conformity
For EC Declaration of Conformity please go to: www.voidacoustics.com/eu-declaration-loudspeakers
1.4 UKCA marking
For details of the UKCA marking go to: www.voidacoustics.com/uk-declaration-loudspeakers
1.5 Warranty statement
For warranty statement go to: https://voidacoustics.com/terms-conditions/
1.6 WEEE directive
If the time arises to throw away your product, please recycle all the components possible.
This symbol indicates that when the end-user wishes to discard this product, it must be sent to separate collection facilities for recovery and recycling. By separating this product from other household-type waste, the volume of waste sent to incinerators or land-fills will be reduced and natural resources will thus be conserved.
The Waste Electrical and Electronic Equipment Directive (WEEE Directive) aims to minimise the impact of electrical and electronic goods on the environment. Void Acoustics Research Ltd complies with the Directive 2002/96/EC and 2003/108/EC of the European Parliament on waste electrical finance the cost of treatment and recovery of electronic equipment (WEEE) in order to reduce the amount of WEEE that is being disposed of in land-fill sites. All of our products are marked with the WEEE symbol; this indicates that this product must NOT be disposed of with other waste. Instead it is the user’s responsibility to dispose of their waste electrical and electronic equipment by handing it over to an approved reprocessor, or by returning it to Void Acoustics Research Ltd for reprocessing. For more information about where you can send your waste equipment for recycling, please contact Void Acoustics Research Ltd or one of your local distributors.
Unpacking and Checking
All Void Acoustics products are carefully manufactured and thoroughly tested before being despatched. Your dealer will ensure that your Void products are in pristine condition before being forwarded to you but mistakes and accidents can happen.
Before signing for your delivery:
- Inspect your shipment for any signs of contamination, abuse or transit damage as soon as you receive it
- Check your Void Acoustics delivery fully against your order
- If your shipment is incomplete or any of its contents are found to be damaged; inform the shipping company and inform your dealer.
When you are removing your Cyclone Series loudspeaker from its original packaging:
- Cyclone Series loudspeakers come double boxed are stapled shut; take care when unboxing and removing the staples to avoid injury or damage to the loudspeaker
- If you need to place the loudspeaker on a flat surface ensure you use a lint free product to protect the finish
- When you have removed the Cyclone Series loudspeaker from the packaging inspect it to ensure there is no damage and keep all original packaging in case it needs to be returned for any reason.
See section 1.5 for warranty conditions and see section 6 if your product needs service.
About
3.1 Welcome
Many thanks for purchasing this Void Acoustics Cyclone Series loudspeaker. We truly appreciate your support. At Void, we design, manufacture and distribute advanced professional audio systems for the installed and live sound market sectors. Like all Void products, our highly skilled and experienced engineers have successfully combined pioneering technologies with groundbreaking design aesthetics, to bring you superior sound quality and visual innovation. In buying this product, you are now part of the Void family and we hope using it brings you years of satisfaction. This guide will help you both use this product safely and ensure it performs to its full capability.
3.2 Cyclone 10 overview
The Cyclone 10’s beautifully sculpted fibreglass enclosure is paired with a smooth cellulose finish to create a weather-protected package with an IP-55 rating for years of great sound and trouble-free outdoor use, even in humid environments such as beach bars, resorts, cruise ships, hotels and public spaces. The T80XL bracket enables the Cyclone 10 to be installed quickly and securely with a wide range of adjustment.
3.3 Key features
- Passive 10” two-way surface mount loudspeaker
- Compact fibreglass enclosure
- Non-resonant structure
- Marine-grade stainless steel fittings
- UV-resilient paint
- Weather-protected with an IP-55 rating (BS EN 60529:1992 +A2:2013)
3.4 Cyclone 10 specifications
| Frequency response | 52 Hz – 22 kHz + 3 dB |
| Efficiency’ | 97 dB 1W/1m |
| Nominal impedance | 8 Q |
| Power handling2 | 350 W AES |
| Maximum output3 | 123 dB cont, 126 dB peak |
| Driver configuration | 1 x 10″ LF, 1 x 1″ HF compression driver |
| Dispersion | 90°H x 60°V |
| Connectors | Phoenix connectors with link out |
| Height | 493 mm (19.4″) |
| Width | 320 mm (12.6″) |
| Depth | 230 mm (9.1″) |
| Weight | 14.5 kg (32 lbs) |
| Enclosure | Fibreglass |
| IP Rating | IP-55 (BS EN 60529:1992 +A2:2013) |
| Rigging | Optional Easy Hang XL wall bracket |
| Finish | Smooth cellulose |
- Measured in half space
- AES2 – 1984 compliant
- Calculated

3.5 Cyclone 10 dimensions

Cable and Wiring
4.1 Electrical safety
To avoid electrical hazards please note the following:
Do not access the inside of any electrical equipment. Refer servicing to Void-approved service agents.
4.2 Cable considerations for fixed installations
We recommend specifying installation-grade Low Smoke Zero Halogen (LSZH) cables for permanent installations. The cables should use Oxygen Free Copper (OFC) of grade C11000 or above. Cables for permanent installations should be compliant with the following standards:
- IEC 60332.1 Fire retardancy of a single cable
- IEC 60332.3C Fire retardancy of bunched cables
- IEC 60754.1 Amount of Halogen Gas Emissions
- IEC 60754.2 Degree of acidity of released gases
- IEC 61034.2 Measurement of smoke density.
We suggest using the following maximum copper cable lengths to keep level losses below 0.6 dB.
| Metric mm2 | Imperial AWG | 16 Ω load | 8 Ω load | 4 Ω load | 2 Ω load |
| 2.50 mm2 | 13 AWG | 72m | 36m | 18m | 9m |
| 4.00 mm2 | 11 AWG | 120 m | 60 m | 30 m | 15 m |
4.3 Phoenix connector
Figure 4.1 shows the rear panel of a Cyclone Series loudspeaker with the polarity of the Phoenix connector labelled. When viewed from the rear the connectors are negative, positive, negative, positive, from left to right. 
4.4 Cyclone glanded connector wiring
- Remove both M6 bolts from the rear of the connector plate
Undo the glanded connectors from the rear of the connector plate and remove the rubber plugs from the connectors.
- Insert the cable through the glandedconnectors and tighten.

- Attach the cable to the phoenix connector then position the connector plate and attach it using the M6 bolts.

4.5 Cyclone 10 wiring diagram
| Phoenix pins 1-/1+ | Phoenix pins 2-/2+ | |
| In | HF (1”) and LF (10”) | Link/out |
4.6 Bias D1/Q1/Q2 Phoenix wiring
| Bias D1/Q1/Q2 | Out 1 |
| Output | LF (1 x 10”) and HF (1 x 1”) |
| Max parallel units | 4 (2 Ω load to amplifier) |
4.7 Bias Q3/Q5 speakON™ wiring
| Bias Q3/Q5 | Out 1 |
| Output | LF (1 x 10”) and HF (1 x 1”) |
| Max quantity per channel | 4 (2 Ω load to amplifier) |
Mounting
5.1 Installation safety
To avoid mechanical hazards, please note the following:
Safety regulations vary in different regions. Full compliance with those regulations must be your priority
Installations must only be undertaken by fully qualified and experienced engineers/technicians who understand local regulations- This may include consulting a structural engineer before installation of wall brackets
- Remember that all personnel have a duty of care to themselves, to their assistants, to the venue staff and to the public
- Before lifting any part of the system above head height, check the whole rig for loose tools or other items that may fall and cause injury
- Do not use a telephone (even if hands-free) whilst installing. Always concentrate fully on the installation operation
- Do not install equipment that is worn, damaged, corroded, mishandled or over- stressed in any way
- Use only Void-approved mounting equipment and accessories
- Secondary safeties should be provided in all instances where cabinets are flying or fixing overhead and should conform to local regulations
5.2 Wall Mounting
Parts required:
T80XL – Wall Bracket
White – IT1115
Black – IT1114
Step 1:
Remove all four M8 bolts from the rear of the loudspeaker.
Step 2:
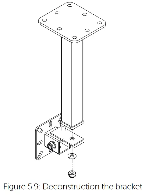
Remove the front of the bracket from the main bracket assembly. Attach the rear of the bracket assembly to the wall making sure all 4 bolts are fitted.
Take care when mounting the bracket to the wall, making sure to use the correct fixing and that the wall can take the load, for example do not attach the bracket to a stud wall.
Step 3:
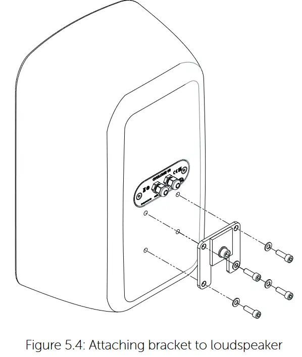
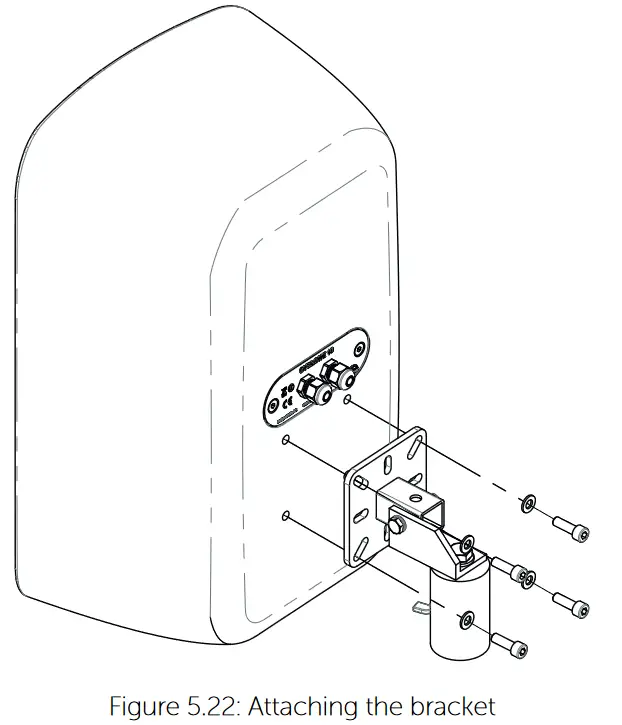
Attach the front of the bracket assembly to the rear of the loudspeaker using all four M8 bolts.
Step 4:
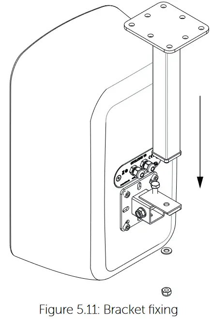
Lower the speaker assembly on to the rear of the bracket assembly and fix the bolt into the rear of assembly.
Step 5:
Adjust the bracket in the horizontal axis by loosening the bolt at the rear of the assembly (figure 5.6a) and in the vertical axis by adjusting the bolt on the base of the assembly (figure 5.6b).
Max horizontal rotation: ±70°
Max vertical rotation: +28°, -0°
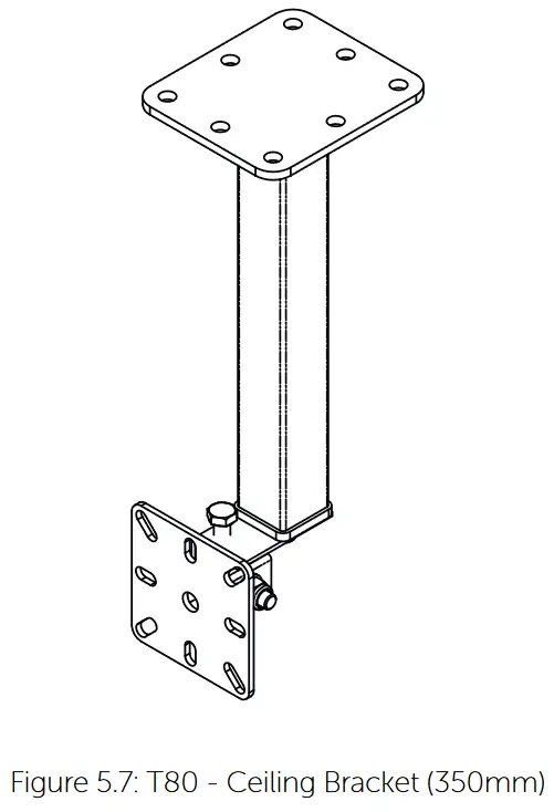
5.3 Ceiling Mounting
Parts required:
T80 – Ceiling Bracket
White – IT1106
Black – IT1105
Step 1:
Remove all four M8 bolts from the rear of the loudspeaker.
Step 2:
Remove the M10 nut and washer from the base of the T80 ceiling bracket and remove the connector plate. At this stage fix the ceiling bracket in its operational location
Take care when mounting the bracket to the ceiling, making sure to use the correct fixing and that the ceiling can take the load.
Step 3:
Remove all four M8 bolts and washers from the rear of the cabinet. Fix the connector plate to the cabinet with all four M8 bolts.
Step 4:
Fix the connector plate to the bracket using the M10 nut and washer.
Max horizontal rotation: 360°
Max vertical rotation: ±12°
5.4 Horn Rotation
Step 1: Attach cable ties to two positions on the grill as shown.
Step 2:
Pull the cable ties toward the opposite edge of the loudspeaker and then pull up and away to expose the enclosure.
Step 3:
With the grill removed undo all four screws from the horn.
Step 4:
Rotate the horn and return it to its position within the enclosure and redo all four screws.
Step 5:
Pull the cable ties toward the opposite edge of the loudspeaker and then lower the grill into position.
Step 5:
Remove the cable ties.
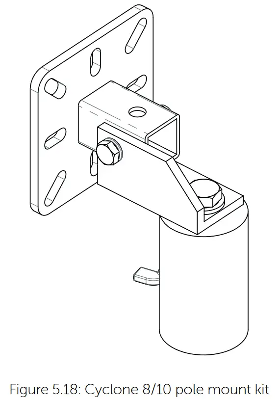
5.5 Pole Mounting
Parts required
T80 – Pole Bracket
White – IT3726
Black – IT3725
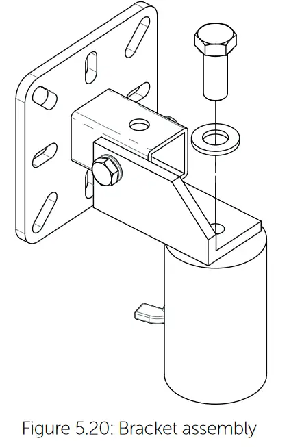
Step 1:
Remove the M12 bolt and washer from the top of the top hat casting.
Step 2:
Attach the stud mount bracket to the top hat casting using the M12 bolt and washer
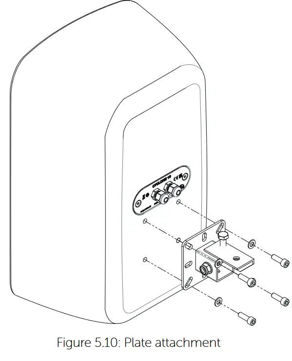
Step 4:
Remove all four bolts and washers from the rear of the loudspeaker cabinet
Step 5:
Attach the pole mount bracket ensuring to fasten all four bolts
Step 6:
Adjust the angle of the speaker using the bolt at the base of the pole mount bracket. 
Service
Void Cyclone Series loudspeakers should only be serviced by a fully-trained technician.
No user serviceable parts inside. Refer servicing to your dealer.
6.1 Return authorisation
Before returning your faulty product for repair, please remember to get an R.A.N. (Return Authoritative Number) from the Void dealer who supplied the system to you. Your dealer will handle the necessary paperwork and repair. Failure to go through this return authorisation procedure could delay the repair of your product.
Note that your dealer will need to see a copy of your sales receipt as proof of purchase so please have this to hand when applying for return authorisation.
6.2 Shipping and packing considerations
- When sending a Cyclone Series loudspeaker to an authorised service centre, please write a detailed description of the fault and list any other equipment used in conjunction with the faulty product.
- Accessories will not be required. Do not send the instruction manual, cables or any other hardware unless your dealer asks you to.
- Pack your unit in the original factory packaging if possible. Include a note of the fault description with the product. Do not send it separately.
- Ensure safe transportation of your unit to the authorised service centre.
Appendix
Application Note: Loudspeakers in Corrosive Environments
Void Acoustics’ weather protected and IP rated products are suitable for outdoor use, however installations in highly corrosive environments, such as high salinity or in the presence of corrosive chemicals such as chlorine, require additional care and maintenance. The following guide will help to prevent corrosion and prolong both the product aesthetics and sonic performance. It is recommended that this process is implemented weekly.
Step 1: Remove the grill as applicable (please refer to Section 8 for instructions) and wash with deionised water, ensuring all build-up of contamination is removed completely from the grille and the foam (where fitted). Allow the foam to dry completely before reinstalling, protecting the loudspeaker accordingly in the interim.
Step 2: Using a clean microfibre cloth and deionised water, use circular motions working from the top of the product down to remove contamination. Dry the product with a clean, dry microfibre cloth.
Step 3: Use a soft bristled brush and deionised water to clean the bracketry, ensuring all contamination is removed completely.
Cyclone 10 architectural specification
The loudspeaker shall be a passive two-way system consisting of one high power 10” (250 mm), direct radiating, reflex loaded low frequency (LF) transducer and one 1” (25 mm)
diameter composite plastic exit high frequency (HF) compression driver mounted on a user rotatable constant directivity horn in a moulded fibreglass trapezoidal enclosure. The low frequency transducer shall be constructed on a cast aluminium frame, with a treated paper cone, 50.8 mm (2”) voice coil, wound with copper wire on a high quality voice coil former, for high power handling and long-term reliability. The high frequency transducer shall project its sound through a high precision constant directivity waveguide with a 152.4 mm (6”) baffle diameter to achieve pattern control and low distortion.
Performance specifications for a typical production unit shall be as follows: the usable on-axis bandwidth shall be 52 Hz to 22 kHz (±3 dB), with an average 90° directivity pattern in the horizontal axis and 60° in the vertical one (-6 dB down from on-axis level) from 1 kHz to 15 kHz; and maximum SPL shall be 126 dB peak measured at 1 m using IEC268-5 pink noise. Power handling shall be 350 W AES at a rated impedance of 8 Ω. The system shall be powered by its own dedicated power amplification module with DSP management.
The wiring connection shall be via a single removable lockable wiring connector with four screw-down terminals (one pair for input and one pair for loop-out to another loudspeaker) to provide secure wiring and allow for pre-wiring of the connector before the installation. This connector should then screw lock to the enclosure to ensure secure attachment.
The enclosure, of any RAL colour, shall be of a moulded fibreglass reinforced plastic construction with a smooth cellulose finish and shall include integral threaded inserts for the fitment of wall and ceiling mounting hardware. The external dimensions of the cabinet are (H) 493 mm x (W) 320 mm x (D) 230 mm (19.4” x 12.6” x 9.1”). Weight shall be 14.5 kg (32 lbs).
The loudspeaker system shall be a Void Acoustics Cyclone 10.
NORTH AMERICA
Void Acoustics North America
Call: +1 630 686 6616
Email: [email protected]
HEAD OFFICE
Void Acoustics Research Ltd,
Unit 15, Dawkins Road Industrial Estate,
Poole, Dorset,
BH15 4JY
United Kingdom
Call: +44(0) 1202 666006
Email: [email protected]
voidacoustics.com
Void Acoustics Research Limited is a company
registered in England and Wales registration number 07533536
Undo the glanded connectors from the rear of the connector plate and remove the rubber plugs from the connectors.





















