VOID Cyclone Bass 12-Inch Passive Speaker

Safety and Regulations
Important safety instructions
- The lightning flash with an arrowhead symbol within an equilateral triangle is intended to alert the user to the presence of uninsulated “dangerous voltage” within the product’s enclosure that may be of sufficient magnitude to constitute a risk of electric shock to persons.
- The exclamation point within an equilateral triangle is intended to alert the user of the presence of important operating and maintenance (servicing) instructions in the literature accompanying the appliance.
Safety instructions – read this first
- Read these instructions.
- Keep these instructions.
- Heed all warnings.
- Follow all instructions.
- Do not use this apparatus near water.
- Clean only with a dry cloth.
- Do not block any ventilation openings. Install in accordance with the manufacturer’s instructions.
- Do not install near any heat source such as radiators, heat registers, stoves, or other such apparatus that produce heat.
- Do not defeat the safety purpose of the grounding-type plug. A grounding type plug has two blades and a third grounding prong. The third prong is provided for your safety. If the provided plug does not fit into your outlet, consult an electrician for replacement of the obsolete outlet.
- Protect power cords from being walked on or pinched particularly at plugs, convenience receptacles, and the point where they exit the apparatus.
- Only use attachments and accessories specified by Void Acoustics.
- Only use with the cart, stand, tripod, bracket, or table specified by the manufacturer, or sold with the apparatus. When a cart is used, use caution when moving the cart/apparatus combination to avoid injury from tip-over.
- Unplug the apparatus during lightning storms or when unused for long periods of time.
- Refer all servicing to qualified service personnel. Servicing
is required when the apparatus has been damaged in any way, such as when the power-supply cord or plug is damaged, liquid has been spilled or objects have fallen into the apparatus, the apparatus has been exposed to rain or moisture, does not operate normally, or has been dropped. - Since the mains power supply cord attachment plug is used to disconnect the device, the plug should always be easily accessible.
- Void loudspeakers can produce sound levels capable of causing permanent hearing damage from prolonged exposure. The higher the sound level, the less exposure needed to cause such damage. Avoid prolonged exposure to the high sound levels from the loudspeaker.
Limitations
This guide is provided to help familiarise the user with the loudspeaker system and its accessories. It is not intended to provide comprehensive electrical, fire, mechanical and noise training and is not a substitute for industry-approved training. Nor does this guide absolve the user of their obligation to comply with all relevant safety legislation and codes of practice. While every care has been taken in creating this guide, safety is user-dependent and Void Acoustics Research Ltd cannot guarantee complete safety whenever the system is rigged and operated.
UG10589-2.0 – Cyclone Bass User Guide V2.0
EC declaration of conformity
For EC Declaration of Conformity please go to:
www.voidacoustics.com/eu-declaration-loudspeakers
UKCA marking
For details of the UKCA marking go to:
www.voidacoustics.com/uk-declaration-loudspeakers
Warranty statement
For warranty statement go to:
https://voidacoustics.com/terms-conditions/
WEEE directive
If the time arises to throw away your product, please recycle all the components possible. This symbol indicates that when the end-user wishes to discard this product, it must be sent to separate collection facilities for recovery and recycling. By separating this product from other household-type waste, the volume of waste sent to incinerators or land-fills will be reduced and natural resources will thus be conserved.
- The Waste Electrical and Electronic Equipment Directive (WEEE Directive) aims to minimize the impact of electrical and electronic goods on the environment. Void Acoustics Research Ltd complies with the Directive 2002/96/EC and 2003/108/EC of the European Parliament on waste electrical finance the cost of treatment and recovery of electronic equipment (WEEE) in order to reduce the amount of WEEE that is being disposed of in land-fill sites. All of our products are marked with the WEEE symbol; this indicates that this product must NOT be disposed of with other waste. Instead it is the user’s responsibility to dispose of their waste electrical and electronic equipment by handing it over to an approved re processor, or by returning it to Void Acoustics Research Ltd for reprocessing. For more information about where you can send your waste equipment for recycling, please contact Void Acoustics Research Ltd or one of your local distributors.
Unpacking and Checking
All Void Acoustics products are carefully manufactured and thoroughly tested before being despatched. Your dealer will ensure that your Void products are in pristine condition before being forwarded to you but mistakes and accidents can happen.
Before signing for your delivery:
- Inspect your shipment for any signs of contamination, abuse or transit damage as soon as you receive it
- Check your Void Acoustics delivery fully against your order
- If your shipment is incomplete or any of its contents are found to be damaged; inform the shipping company and inform your dealer.
When you are removing your Cyclone Series loudspeaker from its original packaging:
- Cyclone Series loudspeakers come double boxed are stapled shut; take care when unboxing and removing the staples to avoid injury or damage to the loudspeaker
- If you need to place the loudspeaker on a flat surface ensure you use a lint free product to protect the finish
- When you have removed the Cyclone Series loudspeaker from the packaging inspect it to ensure there is no damage and keep all original packaging in case it needs to be returned for any reason.
See section 1.5 for warranty conditions and see section 6 if your product needs service.
About
Welcome
Many thanks for purchasing this Void Acoustics Cyclone Series loudspeaker. We truly appreciate your support. At Void, we design, manufacture and distribute advanced professional audio systems for the installed and live sound market sectors. Like all Void products, our highly skilled and experienced engineers have successfully combined pioneering technologies with groundbreaking design aesthetics, to bring you superior sound quality and visual innovation. In buying this product, you are now part of the Void family and we hope using it brings you years of satisfaction. This guide will help you both use this product safely and ensure it performs to its full capability.
- Impedance graph
Cyclone Bass overview

- Dimensions
The Cyclone Bass brings a new level of aesthetic to high-profile, outdoor environments. Fitted with a single high-powered 12” transducer, this loudspeaker has an IP-55 rating, making it suitable for beach bars, restaurants, theme parks and any location where a corrosive atmosphere exists. Available in a wide range of custom colours, this design makes use of Phoenix connectors, with link out capability for ease of installation.
Key Features
- Reflex-loaded 12” low frequency enclosure
- Compact fibre glass enclosure
- Marine-grade stainless steel fittings
- UV-resilient paint
- Weather-protected with an IP-55 rating (BS EN 60529:1992 +A2:2013)
Cyclone Bass specifications
| Frequency response | 40 Hz – 160 Hz -3 dB |
| Efficiency1 | 97 dB 1W/1m |
| Nominal impedance | 8 W |
| Power handling2 | 600 W AES |
| Maximum output3 | 123 dB cont, 129 dB peak |
| Driver configuration | 1 x 12” |
| Connectors | Phoenix connectors with link out |
| Height | 370 mm (14.6”) |
| Width | 490 mm (19.3”) |
| Depth | 455 mm (17.9”) |
| Weight | 33.5 kg (73.9 lbs) |
| Enclosure | Fibre glass |
| IP Rating | IP-55 (BS EN 60529:1992 +A2:2013) |
| Rigging | Type 75 plate |
| Finish | Smooth cellulose |
- 1 Measured in half space 2 AES2 – 1984 compliant 3 Calculated
Cyclone Bass dimensions
Cable and Wiring
Electrical safety
- Phoenix connector diagram
To avoid electrical hazards please note the following:
- Do not access the inside of any electrical equipment. Refer servicing to Void-approved service agents.
Cable considerations for fixed installations
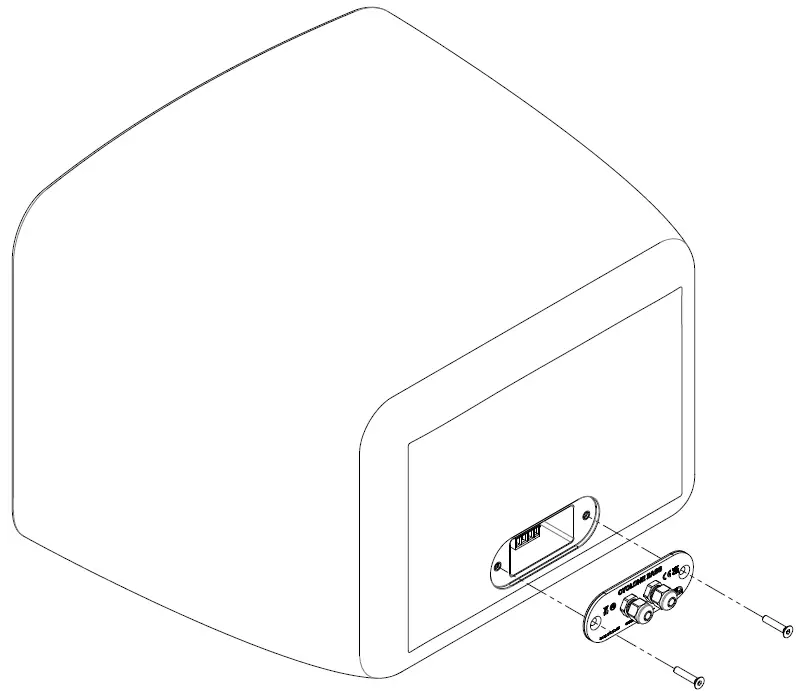
- Connector plate removal
We recommend specifying installation-grade Low Smoke Zero Halogen (LSZH) cables for permanent installations. The cables should use Oxygen Free Copper (OFC) of grade C11000 or above. Cables for permanent installations should be compliant with the following standards:
- IEC 60332.1 Fire retardancy of a single cable
- IEC 60332.3C Fire retardancy of bunched cables
- IEC 60754.1 Amount of Halogen Gas Emissions
- IEC 60754.2 Degree of acidity of released gases
- IEC 61034.2 Measurement of smoke density.
- We suggest using the following maximum copper cable lengths to keep level losses below 0.6 dB.
| Metric mm2 | Imperial AWG | 16 W load | 8 W load | 4 W load | 2 W load |
| 2.50 mm2 | 13 AWG | 72 m | 36 m | 18 m | 9 m |
| 4.00 mm2 | 11 AWG | 120 m | 60 m | 30 m | 15 m |
Phoenix connector
- Glanded connector removal

- Phoenix connector diagram
shows the rear panel of a Cyclone Series loudspeaker with the polarity of the Phoenix connector labelled. When viewed from the rear the connectors are negative, positive, negative, positive, from left to right.
Cyclone glanded connector wiring
- Cable connection
- Remove both M6 bolts from the rear of the connector plate
- Undo the glanded connectors from the rear of the connector plate and remove the rubber plugs from the connectors.
- Insert the cable through the glanded connectors and tighten.
- Attach the cable to the phoenix connector then position the connector plate and attach it using the M6 bolts.
Cyclone Bass wiring diagram
- Phoenix attachment
| Phoenix pins 1-/1+ | Phoenix pins 2-/2+ | |
| In | LF (12”) | Link/out |
Bias D1/Q1/Q2 Phoenix wiring
- Wiring diagram

- Figure 4.8: Bias D1 output connection

- Figure 4.9: Bias Q1/Q2 output connection

- Figure 4.10: Bias Q3

- Figure 4.11: Bias Q5
| Bias D1/Q1/Q2 | Out 1 |
| Output | LF (12”) |
| Max parallel units | 4 (2 W load to amplifier) |
Bias Q3/Q5 speak ONTM wiring
| Bias Q3/Q5 | Out 1 |
| Output | LF (12”) |
| Max quantity per channel | 4 (2 W load to amplifier) |
Mounting
Installation safety

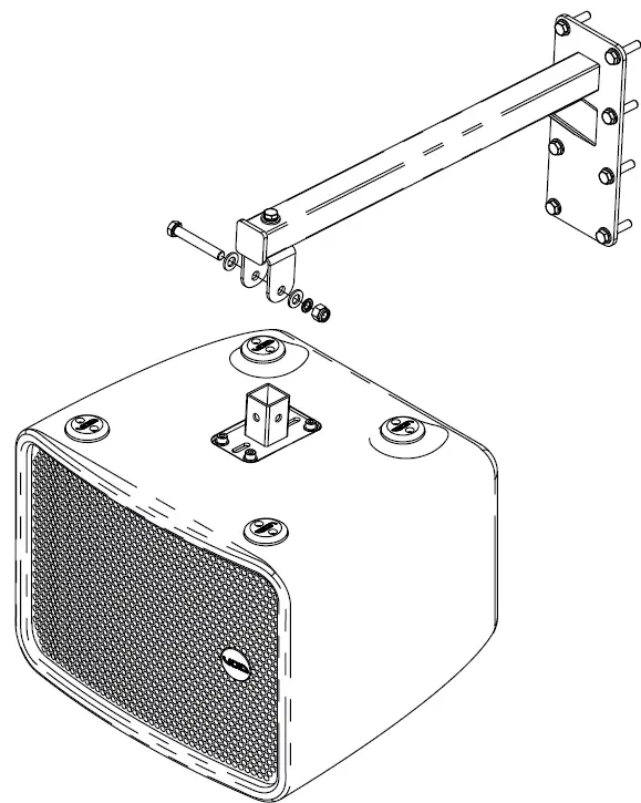
- T75 wall bracket
To avoid mechanical hazards, please note the following:
- Safety regulations vary in different regions. Full compliance with those regulations must be your priority
- Installations must only be undertaken by fully qualified and experienced engineers/technicians who understand local regulations
- This may include consulting a structural engineer before installation of wall brackets
- Remember that all personnel have a duty of care to themselves, to their assistants, to the venue staff and to the public
- Before lifting any part of the system above head height, check the whole rig for loose tools or other items that may fall and cause injury
- Do not use a telephone (even if hands-free) whilst installing. Always concentrate fully on the installation operation
- Do not install equipment that is worn, damaged, corroded, mishandled or over-stressed in any way
- Use only Void-approved mounting equipment and accessories
- Secondary safeties should be provided in all instances where cabinets are flying or fixing overhead and should conform to local regulations
Wall Mounting

- Nut removal
Parts required:
| T75 – Wall Bracket | White – IT1133 |
| Black – IT1132 |
Step 1:
Remove the type 75 plate from the bracket by removing the M10 nut.
Step 2:
Remove all four M8 counter sink bolts from the bottom of the loudspeaker
Step 4:
Attach the type 75 plate to the loudspeaker using the M8 socket cap bolts supplied with the bracket.
Step 5:
Raise the Cyclone Bass loudspeaker into position and attach the M10 nut.
Step 6:
Rotate the loudspeaker into the desired position and tighten the M10 bolt.
Ceiling Mounting

- Bolt removal

- Figure 5.4: Attaching the type 75 plate

- Figure 5.5: Loudspeaker fixing

- Figure 5.6: Loudspeaker positioning

- Figure 5.7: T75 ceiling bracket

- Figure 5.8: Nut removal

- Figure 5.9: Bolt removal

- Figure 5.10: Attaching the type 75 plate

- Figure 5.11: Loudspeaker fixing

- Figure 5.12: Loudspeaker positioning
Parts required:
| T75 – Ceiling Bracket (500 mm) | White – IT1905 |
| Black – IT1140 | |
| T75 – Ceiling Bracket (1000 mm) | White – IT3218 |
| Black – IT3217 | |
| T75 – Ceiling Bracket (1500 mm) | Black – 3688 |
Step 1:
Remove the type 75 plate from the Air series ceiling bracket by removing the M10 nut.
Step 2:
Remove all four M8 counter sink bolts from the bottom of the loudspeaker
Step 4:
Attach the type 75 plate to the loudspeaker using the M8 socket cap bolts supplied with the bracket.
Step 5:
Raise the Cyclone Bass loudspeaker into position and attach the M10 nut.
Step 6:
Rotate the loudspeaker into the desired position and tighten the M10 bolt.
Service
Void Cyclone Series loudspeakers should only be serviced by a fully-trained technician.
- No user serviceable parts inside. Refer servicing to your dealer.
Return authorisation
Before returning your faulty product for repair, please remember to get an R.A.N. (Return Authorisation Number) from the Void dealer who supplied the system to you. Your dealer will handle the necessary paperwork and repair. Failure to go through this return authorisation procedure could delay the repair of your product.
Note that your dealer will need to see a copy of your sales receipt as proof of purchase so please have this to hand when applying for return authorisation.
Shipping and packing considerations
- When sending a Cyclone Series loudspeaker to an authorised service centre, please write a detailed description of the fault and list any other equipment used in conjunction with the faulty product.
- Accessories will not be required. Do not send the instruction manual, cables or any other hardware unless your dealer asks you to.
- Pack your unit in the original factory packaging if possible. Include a note of the fault description with the product. Do not send it separately.
- Ensure safe transportation of your unit to the authorised service centre.
Appendix
Cyclone Bass architectural specification
The loudspeaker shall be a active sub system consisting of one high power 12” (304.8 mm), direct radiating, reflex loaded, low frequency (LF) transducer mounted in a moulded fibre glass trapezoidal enclosure. The low frequency (LF) transducer shall be constructed on a cast aluminium frame with treated paper cone and a 101.6 mm (4”) voice coil, wound with copper wire on a high quality voice coil former, for high power handling and long-term reliability. Performance specifications for a typical production unit shall be as follows: the usable on-axis bandwidth shall be 40 Hz to 160 Hz (±3 dB) with a maximum SPL of 129 dB peak measured at 1 m using IEC268-5 pink noise. Power handling shall be 600 W AES at a rated impedance of 8 Ω. Pressure sensitivity shall be 97 dB measured at 1W/1m. The system shall be powered by its own dedicated power amplification module with DSP management. The wiring connection shall be via a single removable, lockable wiring connector with four screw-down terminals (one pair for input and one pair for loop-out to another loudspeaker) to provide secure wiring and allow for pre-wiring of the connector before the installation. This connector should then screw lock to the enclosure to ensure secure attachment. The enclosure shall be of a moulded fibre glass reinforced plastic construction with a smooth cellulose finish and shall include integral threaded inserts for the fitment of wall and ceiling mounting hardware of any RAL colour. External dimensions shall be (H) 370 mm x (W) 490 mm x (D) 455 mm (14.6” x 19.3” x 17.9”). Weight shall be 33.5 kg (73.9 lbs).
The loudspeaker system shall be a Void Acoustics Cyclone Bass.

































