VOID Cyclone 55 2×5 Inch Passive Surface Mount Speaker

Safety and Regulations
Important safety instructions
The lightning flash with an arrowhead symbol within an equilateral triangle is intended to alert the user to the presence of uninsulated “dangerous voltage” within the product’s enclosure that may be of sufficient magnitude to constitute a risk of electric shock to persons.
The exclamation point within an equilateral triangle is intended to alert the user of the presence of important operating and maintenance (servicing) instructions in the literature accompanying the appliance.
Safety instructions – read this first
- Read these instructions.
- Keep these instructions.
- Heed all warnings.
- Follow all instructions.
- Do not use this apparatus near water.
- Clean only with a dry cloth.
- Do not block any ventilation openings. Install in accordance with the manufacturer’s instructions.
- Do not install near any heat source such as radiators, heat registers, stoves, or other such apparatus that produce heat.
- Do not defeat the safety purpose of the grounding-type plug. A grounding type plug has two blades and a third grounding prong. The third prong is provided for your safety. If the provided plug does not fit into your outlet, consult an electrician for replacement of the obsolete outlet.
- Protect power cords from being walked on or pinched particularly at plugs, convenience receptacles, and the point where they exit the apparatus.
- Only use attachments and accessories specified by Void Acoustics.
- Only use with the cart, stand, tripod, bracket, or table specified by the manufacturer, or sold with the apparatus. When a cart is used, use caution when moving the cart/apparatus combination to avoid injury from tip-over.
- Unplug the apparatus during lightning storms or when unused for long periods of time.
- Refer all servicing to qualified service personnel. Servicing is required when the apparatus has been damaged in any way, such as when the power-supply cord or plug is damaged, liquid has been spilled or objects have fallen into the apparatus, the apparatus has been exposed to rain or moisture, does not operate normally, or has been dropped.
- Since the mains power supply cord attachment plug is used to disconnect the device, the plug should always be easily accessible.
- Void loudspeakers can produce sound levels capable of causing permanent hearing damage from prolonged exposure. The higher the sound level, the less exposure needed to cause such damage. Avoid prolonged exposure to the high sound levels from the loudspeaker.
Limitations
This guide is provided to help familiarise the user with the loudspeaker system and its accessories. It is not intended to provide comprehensive electrical, fire, mechanical and noise training and is not a substitute for industry-approved training. Nor does this guide absolve the user of their obligation to comply with all relevant safety legislation and codes of practice. While every care has been taken in creating this guide, safety is userdependent and Void Acoustics Research Ltd cannot guarantee complete safety whenever the system is rigged and operated
EC declaration of conformity
For EC Declaration of Conformity please go to: www.voidacoustics.com/eu-declaration-loudspeakers
UKCA marking
For details of the UKCA marking go to: www.voidacoustics.com/uk-declaration-loudspeakers
Warranty statement
For warranty statement go to: https://voidacoustics.com/terms-conditions/
WEEE directive
If the time arises to throw away your product, please recycle all the components possible.
This symbol indicates that when the end-user wishes to discard this product, it must be sent to separate collection facilities for recovery and recycling. By separating this product from other household-type waste, the volume of waste sent to incinerators or land-fills will be reduced and natural resources will thus be conserved.
The Waste Electrical and Electronic Equipment Directive (WEEE Directive) aims to minimise the impact of electrical and electronic goods on the environment. Void Acoustics Research Ltd complies with the Directive 2002/96/EC and 2003/108/EC of the European Parliament on waste electrical finance the cost of treatment and recovery of electronic equipment (WEEE) in order to reduce the amount of WEEE that is being disposed of in land-fill sites. All of our products are marked with the WEEE symbol; this indicates that this product must NOT be disposed of with other waste. Instead it is the user’s responsibility to dispose of their waste electrical and electronic equipment by handing it over to an approved reprocessor, or by returning it to Void Acoustics Research Ltd for reprocessing. For more information about where you can send your waste equipment for recycling, please contact Void Acoustics Research Ltd or one of your local distributors.
Unpacking and Checking
All Void Acoustics products are carefully manufactured and thoroughly tested before being despatched. Your dealer will ensure that your Void products are in pristine condition before being forwarded to you but mistakes and accidents can happen
Before signing for your delivery:
- Inspect your shipment for any signs of contamination, abuse or transit damage as soon as you receive it
- Check your Void Acoustics delivery fully against your order
- If your shipment is incomplete or any of its contents are found to be damaged; inform the shipping company and inform your dealer.
When you are removing your Cyclone Series loudspeaker from its original packaging:
- Cyclone Series loudspeakers come double boxed are stapled shut; take care when unboxing and removing the staples to avoid injury or damage to the loudspeaker
- If you need to place the loudspeaker on a flat surface ensure you use a lint free product to protect the finish
- When you have removed the Cyclone Series loudspeaker from the packaging inspect it to ensure there is no damage and keep all original packaging in case it needs to be returned for any reason
See section 1.5 for warranty conditions and see section 6 if your product needs service.
About
Welcome
Many thanks for purchasing this Void Acoustics Cyclone Series loudspeaker. We truly appreciate your support. At Void, we design, manufacture and distribute advanced professional audio systems for the installed and live sound market sectors. Like all Void products, our highly skilled and experienced engineers have successfully combined pioneering technologies with groundbreaking design aesthetics, to bring you superior sound quality and visual innovation. In buying this product, you are now part of the Void family and we hope using it brings you years of satisfaction. This guide will help you both use this product safely and ensure it performs to its full capability
Cyclone 55 overview
The Cyclone 55 offers high levels of fidelity and definition from an ultra-compact and visually appealing format, in a weather-protected package with an IP-55 rating that is ideally suited to coastal outdoor environments, ranging from beach bars, resorts and cruise ships, to hotels and public spaces. With a dedicated bracket, the Cyclone 55 can be installed quickly and securely, and its wide range of adjustment allows the loudspeaker’s wide dispersion pattern to be accurately aimed at large audiences, using the least number of loudspeakers.
Key features
- Passive dual 5” two-way surface mount loudspeaker
- Compact fibreglass enclosure
- Non-resonant structure
- Wide dispersion pattern
- Marine-grade stainless steel fittings
- UV-resilient paint
- Weather-protected with an IP-55 rating (BS EN 60529:1992 +A2:2013)
Cyclone 55 specifications
| Frequency response | 70 Hz – 23 kHz ±3 dB |
| Efficiency1 | 92 dB 1W/1m |
| Nominal impedance | 16 Ù |
| Power handling2 | 120 W AES |
| Maximum output3 | 110 dB cont, 114 dB peak |
| Driver configuration | 2 x 5” LF, 2 x 1” soft dome HF tweeters |
| Dispersion | 110°H x 70°V |
| Connectors | Phoenix connectors with link out |
| Height | 192 mm (7.6”) |
| Width | 309 mm (12.2”) |
| Depth | 207 mm (8.1”) |
| Weight | 3.2 kg (7.1 lbs) |
| Enclosure | Fibreglass |
| IP Rating | IP-55 (BS EN 60529:1992 +A2:2013) |
| Rigging | Wall bracket included, type 51 plate |
| Finish | Smooth cellulose |
1 Measured in half space 2 AES2 – 1984 compliant 3 Calculated
Figure 3.1: Horizontal directivity isobars
Figure 3.2: Vertical directivity isobars
Cyclone 55 dimensions

Cable and Wiring
Electrical safety
To avoid electrical hazards please note the following:
Do not access the inside of any electrical equipment. Refer servicing to Void-approved service agents.
Cable considerations for fixed installations
We recommend specifying installation-grade Low Smoke Zero Halogen (LSZH) cables for permanent installations. The cables should use Oxygen Free Copper (OFC) of grade C11000 or above. Cables for permanent installations should be compliant with the following standards:
- IEC 60332.1 Fire retardancy of a single cable
- IEC 60332.3C Fire retardancy of bunched cables
- IEC 60754.1 Amount of Halogen Gas Emissions
- IEC 60754.2 Degree of acidity of released gases
- IEC 61034.2 Measurement of smoke density.
We suggest using the following maximum copper cable lengths to keep level losses below 0.6 dB.
| Metric mm2 | Imperial AWG | 16 Ω load | 8 Ω load | 4 Ω load | 2 Ω load |
| 2.50 mm2 | 13 AWG | 72 m | 36 m | 18 m | 9 m |
| 4.00 mm2 | 11 AWG | 120 m | 60 m | 30 m | 15 m |
Phoenix connector
Figure 4.1 shows the rear panel of a Cyclone Series loudspeaker with the polarity of the Phoenix connector labelled. When viewed from the rear the connectors are negative, positive, negative, positive, from left to right
Figure 4.1: Phoenix connector diagram

Cyclone glanded connector wiring
- Remove both M6 bolts from the rear of the connector plate
Figure 4.2: Connector plate removal
- Undo the glanded connectors from the rear of the connector plate and remove the rubber plugs from the connectors.
Figure 4.3: Glanded connector removal
- Insert the cable through the glanded connectors and tighten.
Figure 4.4: Cable connection
- Attach the cable to the phoenix connector then position the connector plate and attach it using the M6 bolts.
Figure 4.5: Phoenix attachment
Cyclone 55 wiring diagram
Figure 4.7: Wiring diagram
| Phoenix pins 1-/1+ | Phoenix pins 2-/2+ | |
| In | HF (2 x 1”) and LF (2 x 5”) | Link/out |
Bias D1/Q1/Q2 Phoenix wiring
Figure 4.8: Bias D1 output connection
Figure 4.9: Bias Q1/Q2 output connection
| Bias D1/Q1/Q2 | Out 1 |
| Output | LF (2 x 5”) and HF (2 x 1”) |
| Max parallel units | 8 (2 Ù load to amplifier) |
Bias Q3/Q5 speakONTM wiring
Figure 4.10: Bias Q3
Figure 4.11: Bias Q5
| Bias Q3/Q5 | Out 1 |
| Output | LF (2 x 5”) and HF (2 x 1”) |
| Max parallel units | 8 (2 Ù load to amplifier) |
Mounting
Installation safety
To avoid mechanical hazards, please note the following:
- Safety regulations vary in different regions. Full compliance with those regulations must be your priority
- Installations must only be undertaken by fully qualified and experienced engineers/technicians who understand local regulations
- This may include consulting a structural engineer before installation of wall brackets
- Remember that all personnel have a duty of care to themselves, to their assistants, to the venue staff and to the public
- Before lifting any part of the system above head height, check the whole rig for loose tools or other items that may fall and cause injury
- Do not use a telephone (even if hands-free) whilst installing. Always concentrate fully on the installation operation
- Do not install equipment that is worn, damaged, corroded, mishandled or overstressed in any way
- Use only Void-approved mounting equipment and accessories
- Secondary safeties should be provided in all instances where cabinets are flying or fixing overhead and should conform to local regulations.
Wall Mounting
Parts required:
4 mm Allen key
| T51 – Wall Bracket | White – IT2992 (supplied) |
| Black – IT3031 (supplied) |
Figure 5.1: T51 bracket
Step 1:
Remove all four M6 bolts from the rear of the loudspeaker.
Figure 5.2: Bolt removal
Step 2:
Remove the mounting plate from the wall bracket by removing the M6 countersink as shown.
Figure 5.3: Mounting plate
Step 3:
Fit the mounting plate to the rear of the loudspeaker with the bolts provided.
Figure 5.4: Bolt attachment
Step 4:
Fix the bracket to the wall in compliance with local regulations. Once it is secure lift the loudspeaker with the mounting plate fixed to it into position and fix it to the bracket using the M6 countersink bolt that was removed in step 2.
Figure 5.5: Wall mounting
Step 5a:
When adjusting the loudspeaker into position if the intention is to have as close to the wall as possible then adjust the bracket to the configuration shown in figure 5.6a.
Max horizontal rotation: ±25°
Max vertical rotation: +28°, -0°
Figure 5.6a: Vertical bracket mounting
Step 5b:
When adjusting the loudspeaker into position if the intention is to have maximum horizontal rotation then use adjust the bracket to the configuration shown in figure 5.6b.
Max horizontal rotation: ±54°
Max vertical rotation: -70°, +60°
Figure 5.6a: Vertical bracket mounting
Ceiling Mounting
Part required:
| T51 – Ceiling Bracket | White – IT3802 |
| Black – IT3354 |
4 mm Allen key
19 mm spanner
Figure 5.7: T51 ceiling bracket
Step 1:
Remove the mounting plate from the bracket by removing the M12 bolt as shown.
Figure 5.8: Mounting plate removal
Step 2:
Remove all four M6 bolts from the rear of the loudspeaker
Figure 5.9: Bolt removal

Step 3:
Attach the mounting bracket to the rear of the loudspeaker using all four M6 bolts.
Figure 5.10: Mounting plate
Step 4:
Fix the bracket to the ceiling using all eight bolts. Once it is secure lift the Air 8 with the mounting plate fixed to it into position and fix it to the bracket using the M12 nut that was removed in step 1.
Max horizontal rotation: 360°
Max vertical rotation: ±12°
Figure 5.11: Ceiling mounting
Stud Mount
Part required:
4 mm Allen key
| T51 – Stud Bracket | Black – IT3438 |
| White – IT3439 |
Figure 5.12: T51 stud bracket
Step 1:
Remove all four M6 bolts from the rear of the loudspeaker
Figure 5.13: Bolt removal
Step 2:
Attach the stud bracket using all four M6 bolts. The product can now be mounted to third party hardware using the M12 mounting position.
Figure 5.14: Stud bracket attachment
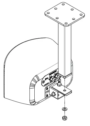
Pole Mount
Part required:
4 mm Allen key
| T51 – Pole Bracket | Black – IT3727 |
| White – IT3728 |
Figure 5.15: T51 pole bracket kit
Step 1:
Remove all four M6 bolts from the rear of the loudspeaker.
Figure 5.16: Bolt removal
Step 2:
Attach the pole bracket kit using all four M6 bolts.
Max horizontal rotation: 360°
Max vertical rotation: ±12°
Figure 5.17: Pole mount kit attachment
Service
Void Cyclone Series loudspeakers should only be serviced by a fully-trained technician.
No user serviceable parts inside. Refer servicing to your dealer.
Before returning your faulty product for repair, please remember to get an R.A.N. (Return Authorisation Number) from the Void dealer who supplied the system to you. Your dealer will handle the necessary paperwork and repair. Failure to go through this return authorisation procedure could delay the repair of your product..
Note that your dealer will need to see a copy of your sales receipt as proof of purchase so please have this to hand when applying for return authorisation.
Shipping and packing considerations
- When sending a Cyclone Series loudspeaker to an authorised service centre, please write a detailed description of the fault and list any other equipment used in conjunction with the faulty product.
- Accessories will not be required. Do not send the instruction manual, cables or any other hardware unless your dealer asks you to.
- Pack your unit in the original factory packaging if possible. Include a note of the fault description with the product. Do not send it separately.
- Ensure safe transportation of your unit to the authorised service centre.
Appendix
Application Note: Loudspeakers in Corrosive Environments
Void Acoustics’ weather protected and IP rated products are suitable for outdoor use, however installations in highly corrosive environments, such as high salinity or in the presence of corrosive chemicals such as chlorine, require additional care and maintenance. The following guide will help to prevent corrosion and prolong both the product aesthetics and sonic performance. It is recommended that this process is implemented weekly.
Step 1: Remove the grill as applicable (please refer to Section 8 for instructions) and wash with deionised water, ensuring all build-up of contamination is removed completely from the grille and the foam (where fitted). Allow the foam to dry completely before reinstalling, protecting the loudspeaker accordingly in the interim.
Step 2: Using a clean microfibre cloth and deionised water, use circular motions working from the top of the product down to remove contamination. Dry the product with a clean, dry microfibre cloth.
Step 3: Use a soft bristled brush and deionised water to clean the bracketry, ensuring all contamination is removed completely.
Cyclone 55 architectural specification
The loudspeaker shall be a passive two-way system consisting of two high power 5” (125 mm) direct radiating reflex loaded low frequency (LF) transducers and 1” (25 mm) diameter co-axial soft dome tweeters high frequency (HF) transducers mounted in an open V-baffle enclosure
The co-axial transducer shall be constructed on a cast aluminium frame, with the low frequency transducer consisting of a polycarbonate LF cone with its dust cap removed and a 25.4 mm (1”) voice coil, wound with copper wire on a high quality Kapton voice coil former, for high power handling and long-term reliability. The high frequency soft dome transducer shall be bolted through the rear of the magnet structure belonging to the low frequency transducer to form a coaxial drive unit. The sound will project through the centre of the low frequency transducer and uses the 125 mm (5”) baffle diameter to achieve pattern control and low distortion.
Performance specifications for a typical production unit shall be as follows: the usable onaxis bandwidth shall be 70 Hz to 23 kHz (±3 dB) and shall average 110° directivity pattern in the horizontal axis and 70° in the vertical one (-6 dB down from on-axis level) from 1 kHz to 12 kHz; maximum SPL of 114 dB peak measured at 1 m using IEC268-5 pink noise. Power handling shall be 120 W AES at a rated impedance of 8 Ω. The system shall be powered by its own dedicated power amplification module with DSP management.
The wiring connection shall be via a single removable lockable wiring connector with four screw-down terminals (one pair for input and one pair for loop-out to another loudspeaker) to provide secure wiring and to allow for pre-wiring of the connector before the installation. This connector should then screw lock to the enclosure to ensure secure attachment.
The enclosure, of any RAL colour, shall be of a moulded fibreglass reinforced plastic construction with a smooth cellulose finish and shall include integral threaded inserts for the fitment of wall and ceiling mounting hardware. The external dimensions of the cabinet are (H) 192 mm x (W) 309 mm x (D) 207 mm (7.6” x 12.2” x 8.1”). Weight shall be 3.2 kg (7.1 lbs).
The loudspeaker shall be the Void Acoustics Cyclone 55.
NORTH AMERICA
Void Acoustics North America
Call: +1 630 686 6616
Email: [email protected]
HEAD OFFICE
Void Acoustics Research Ltd,
Unit 15, Dawkins Road Industrial Estate,
Poole, Dorset,
BH15 4JY
United Kingdom
Call: +44(0) 1202 666006
Email: [email protected]
Void Acoustics Research Limited is a company registered in England and Wales registration number 07533536
























