Cyclone 55 2.5-Inch Passive Speaker
User Guide
voidacoustics.com
Cyclone 55
Compact styling, impressive sound
USER GUIDE V2.0
©2022 Void Acoustics Research Ltd.
This user guide is subject to change without notice. For the latest online version, visit: www.voidacoustics.com
Void Acoustics and the Void logo are registered trademarks of Void Acoustics Research Ltd. in the United Kingdom, USA and other countries; all other Void trademarks are the property of Void Acoustics Research Ltd.
Safety and Regulations
1.1 Important safety instructions
The lightning flash with an arrowhead symbol within an equilateral triangle is intended to alert the user to the presence of uninsulated “dangerous voltage” within the product’s enclosure that may be of sufficient magnitude to constitute a risk of electric shock to persons.
The exclamation point within an equilateral triangle is intended to alert the user of the presence of important operating and maintenance (servicing) instructions in the literature accompanying the appliance.
Safety instructions – read this first
- Read these instructions.
- Keep these instructions.
- Heed all warnings
- Follow all instructions.
- Do not use this apparatus near water.
- Clean only with a dry cloth.
- Do not block any ventilation openings. Install in accordance with the manufacturer’s instructions
- Do not install near any heat source such as radiators, heat registers, stoves, or other such apparatus that produce heat.
- Do not defeat the safety purpose of the grounding-type plug. A grounding type plug has two blades and a third grounding prong. The third prong is provided for your safety. If the provided plug does not fit into your outlet, consult an electrician for the replacement of the obsolete outlet.
- Protect power cords from being walked on or pinched particularly at plugs, convenience receptacles, and the point where they exit the apparatus.
- Only use attachments and accessories specified by Void Acoustics.
- Only use with the cart, stand, tripod, bracket, or table specified by the manufacturer, or sold with the apparatus. When a cart is used, use caution when moving the cart/apparatus combination to avoid injury from tip-over.
- Unplug the apparatus during lightning storms or when unused for long periods of time.
- Refer all servicing to qualified service personnel. Servicing is required when the apparatus has been damaged in any way, such as when the power-supply cord or plug is damaged, liquid has been spilled or objects have fallen into the apparatus, the apparatus has been exposed to rain or moisture, does not operate normally, or has been dropped.
- Since the mains power supply cord attachment plug is used to disconnect the device, the plug should always be easily accessible.
- Void loudspeakers can produce sound levels capable of causing permanent hearing damage from prolonged exposure. The higher the sound level, the less exposure is needed to cause such damage. Avoid prolonged exposure to the high sound levels from the loudspeaker.
1.2 Limitations
This guide is provided to help familiarise the user with the loudspeaker system and its accessories. It is not intended to provide comprehensive electrical, fire, mechanical and noise training and is not a substitute for industry-approved training. Nor does this guide absolve the user of their obligation to comply with all relevant safety legislation and codes of practice. While every care has been taken in creating this guide, safety is user-dependent and Void Acoustics Research Ltd cannot guarantee complete safety whenever the system is rigged and operated.
UG10583-2.0 – Cyclone 55 User Guide V2.0
1.3 EC declaration of conformity
For the EC Declaration of Conformity please go to: www.voidacoustics.com/eu-declaration-loudspeakers
1.4 UKCA marking
For details of the UKCA marking go to: www.voidacoustics.com/uk-declaration-loudspeakers
1.5 Warranty Statement
For warranty, statement go to: https://voidacoustics.com/terms-conditions/
1.6 WEEE directive
If the time arises to throw away your product, please recycle all the components possible.
This symbol indicates that when the end-user wishes to discard this product, it must be sent to separate collection facilities for recovery and recycling. By separating this product from other household-type waste, the volume of waste sent to incinerators or land-fills will be reduced and natural resources will thus be conserved.
The Waste Electrical and Electronic Equipment Directive (WEEE Directive) aims to minimize the impact of electrical and electronic goods on the environment. Void Acoustics Research Ltd complies with the Directive 2002/96/EC and 2003/108/EC of the European Parliament on waste electrical finance the cost of treatment and recovery of electronic equipment (WEEE) in order to reduce the amount of WEEE that is being disposed of in land-fill sites. All of our products are marked with the WEEE symbol; this indicates that this product must NOT be disposed of with other waste. Instead, it is the user’s responsibility to dispose of their waste electrical and electronic equipment by handing it over to an approved reprocessor, or by returning it to Void Acoustics Research Ltd for reprocessing. For more information about where you can send your waste equipment for recycling, please contact Void Acoustics Research Ltd or one of your local distributors.
Unpacking and Checking
All Void Acoustics products are carefully manufactured and thoroughly tested before being despatched. Your dealer will ensure that your Void products are in pristine condition before being forwarded to you but mistakes and accidents can happen.
Before signing for your delivery:
- Inspect your shipment for any signs of contamination, abuse or transit damage as soon as you receive it
- Check your Void Acoustics delivery fully against your order
- If your shipment is incomplete or any of its contents are found to be damaged; inform the shipping company and inform your dealer.
When you are removing your Cyclone Series loudspeaker from its original packaging:
- Cyclone Series loudspeakers come double boxed are stapled shut; take care when unboxing and removing the staples to avoid injury or damage to the loudspeaker
- If you need to place the loudspeaker on a flat surface ensure you use a lint-free product to protect the finish
- When you have removed the Cyclone Series loudspeaker from the packaging inspect it to ensure there is no damage and keep all original packaging in case it needs to be returned for any reason.
See section 1.5 for warranty conditions and see section 6 if your product needs service.
About
3.1 Welcome
Many thanks for purchasing this Void Acoustics Cyclone Series loudspeaker. We truly appreciate your support. At Void, we design, manufacture and distribute advanced professional audio systems for the installed and live sound market sectors. Like all Void products, our highly skilled and experienced engineers have successfully combined pioneering technologies with groundbreaking design aesthetics, to bring you superior sound quality and visual innovation. In buying this product, you are now part of the Void family and we hope using it brings you years of satisfaction. This guide will help you both use this product safely and ensure it performs to its full capability.
3.2 Cyclone 55 overview
The Cyclone 55 offers high levels of fidelity and definition from an ultra-compact and visually appealing format, in a weather-protected package with an IP-55 rating that is ideally suited to coastal outdoor environments, ranging from beach bars, resorts, and cruise ships, to hotels and public spaces. With a dedicated bracket, the Cyclone 55 can be installed quickly and securely, and its wide range of adjustments allows the loudspeaker’s wide dispersion pattern to be accurately aimed at large audiences, using the least number of loudspeakers.
3.3 Key features
- Passive dual 5″ two-way surface-mount loudspeaker
- Compact fiberglass enclosure
- Non-resonant structure
- Wide dispersion pattern
- Marine-grade stainless steel fittings
- UV-resilient paint
- Weather-protected with an IP-55 rating (BS EN 60529:1992 +A2:2013)
3.4 Cyclone 55 specifications
| Frequency response | 70 Hz – 23 kHz ±3 dB |
| Efficiency’ | 92 dB 1W/lm |
| Nominal impedance | 16 LI |
| Power handling2 | 120 W AES |
| Maximum output3 | 110 dB cont, 114 dB peak |
| Driver configuration | 2 x 5″ LF, 2 x 1″ soft dome HF tweeters |
| Dispersion | 110°H x 70°V |
| Connectors | Phoenix connectors with link out |
| Height | 192 mm (7.6″) |
| Width | 309 mm (12.2″) |
| Depth | 207 mm (8.1″) |
| Weight | 3.2 kg (7.1 lbs) |
| Enclosure | Fiberglass |
| IP Rating | IP-55 (BS EN 60529:1992 +A2:2013) |
| Rigging | Wall bracket included, type 51 plate |
| Finish | Smooth cellulose |
1 Measured in half space 2 AES2 – 1984 compliant 3 Calculated
3.5 Cyclone 55 dimensions
Cable and Wiring
4.1 Electrical safety
To avoid electrical hazards please note the following:
· Do not access the inside of any electrical equipment. Refer servicing to Void-approved service agents.
4.2 Cable considerations for fixed installations
We recommend specifying installation-grade Low Smoke Zero Halogen (LSZH) cables for permanent installations. The cables should use Oxygen Free Copper (OFC) of grade C11000 or above. Cables for permanent installations should be compliant with the following standards:
- IEC 60332.1 Fire retardancy of a single cable
- IEC 60332.3C Fire retardancy of bunched cables
- IEC 60754.1 Amount of Halogen Gas Emissions
- IEC 60754.2 Degree of acidity of released gases
- IEC 61034.2 Measurement of smoke density.
We suggest using the following maximum copper cable lengths to keep level losses below 0.6 dB.
| Metric mm2 | Imperial AWG | 16 LI load | 8 i-2 bad | 4 s-1 load | 2 g) load |
| 2.50 mm2 | 13 AWG | 72 m | 36 m | 18 m | 9 m |
| 4.00 mm2 | 11 AWG | 120 m | 60 m | 30 m | 15 m |
4.3 Phoenix connector
Figure 6.1 shows the rear panel of a Cyclone Series loudspeaker with the polarity of the Phoenix connector labeled. When viewed from the rear the connectors are negative, positive, negative, and positive, from left to right.
4.4 Cyclone gland connector wiring
- Remove both M6 bolts from the rear of the connector plate

- Undo the gland connectors from the rear of the connector plate and remove the rubber plugs from the connectors.

- Insert the cable through the gland connectors and tighten it.

- Attach the cable to the phoenix connector then position the connector plate and attach it using the M6 bolts.

4.5 Cyclone 55 wiring diagram

| Phoenix pins 1-/1+ | Phoenix pins 2-/2+ | |
| In | HF (2 x 1”) and LF (2 x 5”) | Link/out |
4.6 Bias D1/Q1/Q2 Phoenix wiring

| Bias D1/Q1/Q2 | Out 1 |
| Output | LF (2 x 5”) and HF (2 x 1”) |
| Max parallel units | 4 (2 Ω load to the amplifier) |
4.5 Bias Q3/Q5 speakON™ wiring

| Bias Q3/Q5 | Out 1 |
| Output | LF (2 x 5”) and HF (2 x 1”) |
| Max quantity per channel | 4 (2 Ω load to the amplifier) |
Mounting
5.1 Installation Safety
To avoid mechanical hazards, please note the following:
Safety regulations vary in different regions. Full compliance with those regulations must be your priority- Installations must only be undertaken by fully qualified and experienced engineers/technicians who understand local regulations
- This may include consulting a structural engineer before installation of wall brackets
- Remember that all personnel have a duty of care to themselves, their assistants, the venue staff, and the public
- Before lifting any part of the system above head height, check the whole rig for loose tools or other items that may fall and cause injury
- Do not use a telephone (even if hands-free) whilst installing. Always concentrate fully on the installation operation
- Do not install equipment that is worn, damaged, corroded, mishandled, or over-stressed in any way
- Use only Void-approved mounting equipment and accessories
- Secondary safeties should be provided in all instances where cabinets are flying or fixing overhead and should conform to local regulations
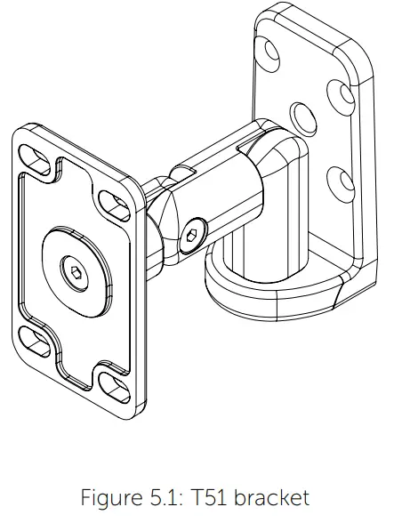
Wall Mounting
Parts required:
4 mm Allen key
| T51 – Wall Bracket | White – IT2992 (supplied) |
| Black – IT3031 (supplied) |

Step 1:
Remove all four M6 bolts from the rear of the loudspeaker.

Step 2:
Remove the mounting plate from the wall bracket by removing the M6 countersink as shown.

Step 3:
Fit the mounting plate to the rear of the loudspeaker with the bolts provided.3

Step 4:
Fix the bracket to the wall in compliance with local regulations. Once it is secure lift the loudspeaker with the mounting plate fixed to it into position and fix it to the bracket using the M6 countersink bolt that was removed in step 2.

Step 5a:
When adjusting the loudspeaker into position if the intention is to have as close to the wall as possible then adjust the bracket to the configuration shown in figure 5.6a.
Max horizontal rotation: ±25°
Max vertical rotation: +28°, -0°

Step 5b:
When adjusting the loudspeaker into position if the intention is to have maximum horizontal rotation then use adjust the bracket to the configuration shown in figure 5.6b.
Max horizontal rotation: ±54°
Max vertical rotation: -70°, +60°

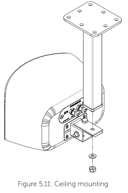
Ceiling Mounting
Part required:
| T51 – Ceiling Bracket | White – IT3802 |
| Black – IT3354 |
4 mm Allen key
19 mm spanner

Step 1:
Remove the mounting plate from the bracket by removing the M12 bolt as shown

Step 2:
Remove all four M6 bolts from the rear of the loudspeaker.

Step 3:
Attach the mounting bracket to the rear of the loudspeaker using all four M6 bolts

Step 4:
Fix the bracket to the ceiling using all eight bolts.
Once it is secure lift the Air 8 with the mounting plate fixed to it into position and fix it to the bracket using the M12 nut that was removed in step 1.
Max horizontal rotation: 360°
Max vertical rotation: ±12°

Stud Mount
Part required:
4 mm Allen key
| T51 – Stud Bracket | Black – IT3438 |
| White – IT3439 |

Step 1:
Remove all four M6 bolts from the rear of the loudspeaker.

Step 2:
Attach the stud bracket using all four M6 bolts.
The product can now be mounted to third-party hardware using the M12 mounting position.

Pole Mount
Part required:
4 mm Allen key
| T51 – Pole Bracket | Black – IT3727 |
| White – IT3728 |

Step 1:
Remove all four M6 bolts from the rear of the loudspeaker.

Step 2:
Attach the pole bracket kit using all four M6 bolts.
Max horizontal rotation: 360°
Max vertical rotation: ±12°

Service
Void Cyclone Series loudspeakers should only be serviced by a fully-trained technician.
No user-serviceable parts inside. Refer to servicing to your dealer.
6.1 Return authorization
Before returning your faulty product for repair, please remember to get a R.A.N. (Return Authorisation Number) from the Void dealer who supplied the system to you. Your dealer will handle the necessary paperwork and repair. Failure to go through this return authorization procedure could delay the repair of your product.
Note that your dealer will need to see a copy of your sales receipt as proof of purchase so please have this to hand when applying for return authorization.
6.2 Shipping and packing considerations
- When sending a Cyclone Series loudspeaker to an authorized service center, please write a detailed description of the fault and list any other equipment used in conjunction with the faulty product.
- Accessories will not be required. Do not send the instruction manual, cables, or any other hardware unless your dealer asks you to.
- Pack your unit in the original factory packaging if possible. Include a note of the fault description with the product. Do not send it separately.
- Ensure safe transportation of your unit to the authorized service center.
Appendix
Cyclone 55 architectural specification
The loudspeaker shall be a passive two-way system consisting of two high power 5” (125 mm) direct radiating reflex loaded low frequency (LF) transducers and 1” (25 mm) diameter co-axial soft dome tweeters high frequency (HF) transducers mounted in an open V-baffle enclosure.
The co-axial transducer shall be constructed on a cast aluminum frame, with the low-frequency transducer consisting of a polycarbonate LF cone with its dust cap removed and a 25.4 mm (1”) voice coil, wound with copper wire on a high quality Kapton voice coil former, for high power handling and long-term reliability. The high-frequency soft dome transducer shall be bolted through the rear of the magnet structure belonging to the low-frequency transducer to form a coaxial drive unit. The sound will project through the center of the low-frequency transducer and uses the 125 mm (5”) baffle diameter to achieve pattern control and low distortion.
Performance specifications for a typical production unit shall be as follows: the usable on-axis bandwidth shall be 70 Hz to 23 kHz (±3 dB) and shall average 110° directivity pattern on the horizontal axis and 70° on the vertical one (-6 dB down from on-axis level) from 1 kHz to 12 kHz; maximum SPL of 114 dB peak measured at 1 m using IEC268-5 pink noise. Power handling shall be 120 W AES at a rated impedance of 8 Ω. The system shall be powered by its own dedicated power amplification module with DSP management.
The wiring connection shall be via a single removable lockable wiring connector with four screw-down terminals (one pair for input and one pair for loop-out to another loudspeaker) to provide secure wiring and to allow for pre-wiring of the connector before the installation. This connector should then screw lock to the enclosure to ensure secure attachment.
The enclosure, of any RAL color, shall be of a molded fiberglass reinforced plastic construction with a smooth cellulose finish and shall include integral threaded inserts for
the fitment of wall and ceiling mounting hardware. The external dimensions of the cabinet are (H) 192 mm x (W) 309 mm x (D) 207 mm (7.6” x 12.2” x 8.1”). Weight shall be 3.2 kg (7.1 lbs).
The loudspeaker shall be the Void Acoustics Cyclone 55.
NORTH AMERICA
Void Acoustics North America
Call: +1 503 854 7134
Email: [email protected]
HEAD OFFICE
Void Acoustics Research Ltd,
Unit 15, Dawkins Road Industrial Estate,
Poole, Dorset,
BH15 4JY
United Kingdom
Call: +44(0) 1202 666006
Email: [email protected]

Void Acoustics Research Limited is a company registered in England and Wales registration number 07533536























