Quick Start Guide
TQ Series
TQ15, TQ12, TQ10, TQ8
Full range 15″/12″/10″/8″ Loudspeaker for Install and Touring
TQ15-SB, TQ12-SB, TQ10-SB, TQ8-SB
Swivel Bracket for TQ Loudspeakers
TQ15-YB, TQ12-YB, TQ10-YB, TQ8-YB
Yoke Bracket for TQ Loudspeakers
TQ-FB
Fly Bar for TQ and MC12-P Series Loudspeakers
SA-35
Stand Adapter for Turbosound Yoke Brackets to 35 mm Speaker Stands
Safety Instruction
- Read these instructions.
- Keep these instructions.
- Heed all warnings.
- Follow all instructions.
- Do not use this apparatus near water.
- Clean only with dry cloth.
- Do not block any ventilation openings. Install in accordance with the manufacturer’s instructions. 8. Do not install near any heat sources such as radiators, heat registers, stoves, or other apparatus (including amplifiers) that produce heat.
- Use only attachments/accessories specified by the manufacturer.
- Use only with the cart, stand, tripod, bracket, or table specified by the manufacturer, or sold with the apparatus. When a cart is used, use caution when moving the cart/apparatus combination to avoid injury from tip-over.
Correct disposal of this product: This symbol indicates thatthis product must not be disposed of with household waste, according to the WEEE Directive (2012/19/EU) and your national law. This product should be taken to a collection center licensed for the recycling of waste electrical and electronic equipment(EEE). The mishandling of this type of waste could have a possible negative impact on the environment and human health due to potentially hazardous substances that are generally associated with EEE. At the same time, your cooperation in the correct disposal of this product will contribute to the efficient use of natural resources. For more information about where you can take your waste equipment for recycling, please contact your local city office, or your household waste collection service.
Do not install in a confined space, such as a book case or similar unit.- Do not place naked flame sources, such as lighted candles, on the apparatus.
Safety Inspections
Carefully inspect rigging system components and cabinets for defects or signs of damage before proceeding to assemble the speaker to be flown. If any parts are damaged or suspect, or if there is any doubt as to the proper functioning and safety of the items DO NOT USE THEM and withdraw them from use immediately.
System Requirements
TQ8, TQ10, TQ12, and TQ15 full range speakers operate as a passive system and require only one amplifier channel and DSP for normal forward firing operation; Cardioid bass set ups will require additional amplifier and DSP channels.
All TQ series loudspeakers exclusively use Lake pre-sets via Lab Gruppen PLM+ and D series L platforms, Lab Gruppen IPX Series pre-sets will be released in due time.
No 3rd-party amplifier and DSP platforms are supported, no raw pre-set data is released or supported.
TQ series has a powerful yet simple pre-set strategy utilizing the latest functionality of LAKE XP software.
Pre-set data is found either via Lake LOAD Library (https://www.labgruppen.com/downloads.html) or can be downloaded from https://www.turbosound.com/downloads.html
Recommended Lab Gruppen PLM+ models for Touring applications are the PLM12k44 and PLM20k44.
For installations using Lab Gruppen D series L models, please use Lab Gruppen ‘CAFE’ software – available for download from www.labgruppen.com -to determine the optimum amplifier configuration for your system.
System Cabling Requirements
To avoid wasting amplifier power, you should use heavy-duty speaker cable with a minimum wire size of 2.5 mm² (14 AWG), and preferably 4 mm² (12 AWG) for longer runs or where total cabinet input impedance is less than 8 ohms. For extreme cable lengths, be aware of cable impedance and resistive losses.
Always observe the correct polarity.
Use genuine NEUTRIK SPEAKON CONNECTORS for reliable operation.
Attach and support the speaker cables from your amplifiers to the loudspeaker cabinets, so that no significant additional weight or lateral force is applied to the speakers by the input wiring. Input cables or link cables should never be used to angle the speakers or used as rigging in any way.
Stereo System Example
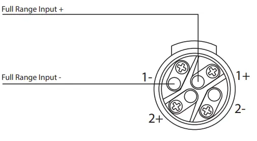
NOTE: Since the TQ cabinet is wired (1+/- = FR and 2+/- = Link), use (Speaker Output 1: 1 +/- and Speaker Output 2: 2 +/- ) for the output patching from the Lab Gruppen amplifier Depending on how the other channels are used, it may be useful to use an “NL4 to 2-NL2 breakout splitter cable,” as shown in the example below. The NL4 end uses Pin 1 +/- and Pin 2 +/- and both NL2 ends need to be wired Pin 1 +/-

Stereo System Example with Subwoofers
Note: Since the TQ cabinet is wired (1+/- = FR and 2+/- = link), the output patching can be selected from any of the 4 options (1, 2, 3, 4 +/-) from the Lab Gruppen PLM+ amplifier.
Depending on how the other channels are used (for example in a stereo system with two TQ8 and two TQ15B subwoofers) it may be useful to use “NL4 to 2-NL2 breakout splitter cables,” as shown in the example below.
The NL4 end uses Pin 1 +/- and Pin 2 +/- and both NL2 ends need to be wired Pin 1 +/-
Note: in this case, do not use the TQ subwoofers front input, as it uses Pin 2+/- connected to the woofer.

Connections
Caution: It is mandatory to use the official factory Lake pre-set. Failure to do so will result in component failure of the TQ passive crossover and transducers. No other 3rd party DSP or Amplifiers are supported
| Mode | Back Panel | Connector | Internal Schematic |
| Passive Mode | ![]() | ![]() | ![]() |
Rigging and Acoustic Simulation Software
The TQ speakers have 3 optional rigging accessories: TQ-FB fly bar, TQ-YB yoke bracket, and the TQ-SB swivel bracket.
These accessories comply with BGV-C1 rigging standards.
The TQ speaker is not an arrayable product. It is supported in Ease Focus 3 in stand-alone use, with Manchester series subwoofers, or as a fill or delay speaker as part of larger Manchester series systems.
EASE Focus 3 is an acoustic simulation program, available as a free download from https://www.afmg.eu/en/ease-focus

TQ Installation
Safety Warning: Only authorised and certified personnel shall design and install suspended configurations. Incorrect installation may lead to death or permanent injury.
The use of a secondary safety is a mandatory safety requirement.
The versatile TQ speaker has three feet on the bottom for standing the speaker on a flat surface, two integral pole mount holes, and M10 mounting holes with fitted hex socket head screws.
TQ series cabinets are designed with multiple internal rigging points to suit many possible mounting methods in permanent installations. All cabinets can be simply suspended using optional M10 shoulder eyebolts coupled to the internal rigging points provided. Remove the appropriate countersunk screws and replace them with eyebolts, which must have a thread length of at least 18 mm. Cabinets may be hung upside down if required.
The optional accessories allow the TQ speaker to be mounted in a number of different configurations.
Feet
Badge Rotation
The Turbosound badge is spring-loaded and can be rotated by hand to suit vertical or horizontal positioning.

Pole Mount
Two 35 mm holes are provided for pole mounting, one in the vertical position, and one with the TQ tilted forward. The TQ can be pole mounted on an MS121 subwoofer, or on a suitable tripod stand. We recommend using a 35 mm pole with an M20 thread at the lower end. This type provides more security and will screw into the top receptacle of the MS121 subwoofer.

Fly Bar TQ-FB
The optional TQ-FB fly bar allows the speaker to be flown. The TQ-FB fits the TQ8, TQ10, TQ12, and TQ15 speakers. It has ten pick points for attaching shackles, and it bolts to the top or bottom of the TQ speaker.

The fly bar fits to the top or bottom of the TQ speaker using two of the existing M10 screws as shown. Securely tighten both screws.

The flybar has 10x 12.5 mm diameter holes that are used as pick points for rigging shackles. The space between each rail of the TQ-FB allows for a standard 1 ton bow shackle to be used to pick up the TQ. Either style of shackle will work:
W.L.L = 1 Ton
A= 10 mm
B= 11 mm
C= 17 mm
D= 36.5 mm

Yoke Bracket TQ8-YB, TQ10-YB, TQ12-YB, and TQ15-YB The optional yoke bracket allows the TQ speakers to be flown using suitable hook clamps or couplers to securely mount to a flown truss. The yoke bracket is available in 4 sizes to fit each of the speakers in the TQ series: TQ8-YB, TQ10-YB, TQ12-YB, and TQ15-YB. Ratcheting handles are provided on either side to help angle the speakers accurately and secure them.

The yoke bracket fits to the sides of the TQ speaker, by screwing the handles into the existing M10 mounting holes on each side. Note that the yoke bracket is oriented as shown.
Adjust the speaker tilt to the desired angle, and then tighten the handles to secure the speaker in position.

If the yoke bracket is to be bolted to a ceiling or other surface, then secure the yoke bracket first. Then lift the speaker and attach it to the yoke bracket with the handles. Adjust the speaker angle and tighten the handles. Pole Mount SA-35 The optional SA-35 bracket allows the yoke bracket to support the TQ speaker on a 35 mm pole mount or tripod. Note that the yoke bracket is oriented as shown.
The SA-35 bracket attaches to the yoke bracket with two screws.
The assembly can then be added to a 35mm pole mounted to an MS121 subwoofer, or to a suitable tripod. Tighten the SA-35 ratchet handle to secure the assembly to the pole or tripod. Adjust the speaker tilt as desired and tighten the handles on each side.
Swivel Bracket TQ8-SB, TQ10-SB, TQ12-SB, and TQ15-SB
The optional swivel bracket allows the TQ speakers to be ceiling or wall mounted horizontally, or truss-mounted using suitable hook clamps. The swivel bracket is available in 4 sizes to fit each of the speakers in the TQ series: TQ8-SB, TQ10-SB, TQ12-SB, and TQ15-SB. The speaker angle can be accurately set and clamped in position. Two concentric rows of holes allow for a wide range of angle adjustment, and this is held in position with a clamp/handle screw.

If the swivel bracket is to be bolted to a ceiling or other surface, then secure the bracket first. Add the small bracket to the top side of the TQ speaker, using the existing M10 mounting screws ashown. There is a large washer there as well.

Attach the large plate to the bottom of the speaker, using the existing M10 screws. It covers the pole mount holes as shown.

Center the large washer, and then add the swivel bracket and secure it with the center screw and the handle screw.
Secure the other end of the swivel bracket with the supplied screw. Set the speaker at the desired angle and tighten the handle screw and center screws on either end of the swivel bracket.

Horn Rotation
The MF/HF Horn assembly provides an 80 degree horizontal beamwidth, and a 30 degree vertical beamwidth, when the TQ is mounted vertically (portrait). The horn assembly can be removed and reinstalled in a different orientation to suit desired configurations and coverage. For example, if the speaker is used in landscape mode, you can rotate the horn to maintain the 80 degrees horizontal and 30 degree vertical beamwidths. (This is a typical example of the need for horn rotation.) The horn is marked on the front with the beamwidth angles.

Follow the procedure below to rotate the horn: Remove the grille by pressing on any corner and carefully prying it out with a generic trim removal tool.

Remove the screws in each corner of the horn assembly.

Carefully pull the horn assembly forward, just enough to be able to rotate the assembly to the desired orientation.

Reinstall the horn with the 4 screws. Make sure the wiring is intact and not pinched.

Reinstall the grille, and make a note that the speaker has been modified.
Lake Preset Overlays and Application Notes
All TQ series loudspeakers exclusively use Lake XP pre-sets via Lab Gruppen PLM+ and D series L platforms and the forthcoming IPX FiR-X pre-sets.
No other amplifier and DSP platforms are supported.
The TQ series has a powerful yet simple pre-set strategy utilizing the latest functionality of Lake software, along with new BLEQ overlays.
Pre-set data is found either via the Lake Load Library, or can be downloaded from www.turbosound.com
TQ8, TQ10, TQ12, TQ15 loudspeakers each have individual 1 way passive FIR base pre-sets (1 channel DSP/AMP), full range with or without Subwoofers
CAUTION: Do not combine TQ8, TQ10, TQ12, TQ15 loudspeakers on the same amplifier / DSP circuit. Failure to follow these instructions may lead to damage to the equipment.
CAUTION: Pay careful attention to output patching.
CAUTION: Pay careful attention to the HF Horn orientation, and select the HR preset if the HF Horn has been rotated.
TQ8, TQ10, TQ12, TQ15 modules are based on the XP module from Lake software.
This QSG refers to REV1.1 XP presets.
Lake software V7.0.7 or above must be used.
Lake XP signal flow:

The download of the Lake controller includes the Lake Controller Operation Manual, which is a full tutorial of the Lake Controller and compatible hardware such as PLM+ series amplifiers
Within this QSG, we focus on the Turbosound TQ series workflow and pre-set strategy, and assume basic working knowledge of the Lake Controller.
| DESCRIPTION | OVERLAY |
| 1.1: Frame (Amplifier) is in the Main workspace page Here we can see a default PLM12k44 frame with no DSP pre-set modules loaded. | ![]() |
| How to load a module from the Lake Load Library: Left-click on Module A in the frame. Module A is now outlined in yellow, and the buttons at the bottom of the workspace show various module options. The Modules button is also highlighted there. | ![]() |
| To Load a module : Click the ‘ Module Store/Recall’ button. | ![]() |
| Folders now appear, and these allow you to select where to recall the module (pre-set) from. Double click the “Lake Load Library 5.5” folder. | ![]() |
| Scroll using the arrow keys >> << along the bottom, to find the “Suitable for TURBOSOUND Loudspeakers” folder, then double click to open it. | ![]() |
| Now scroll again >> << to find the “TQ REV1.1 XP” folder, then double click to open it. | ![]() |
| Four folders appear, one for each speaker in the series: TQ8, TQ10, TQ12 and TQ15. Double-click the appropriate folder for your speaker. | ![]() |
| The available module folders are displayed. Each TQ series speaker has two options, and this depends upon the Horn rotation: Standard, and HR (Horn Rotated). Left-click on either of these to show more details about the module set up. This example shows the Standard option, where the horn assembly has not been altered from its factory setting. The horn rotation procedure is shown on page xx of this quick start guide. TIP: Please read the information! | ![]() |
| Double-clicking the desired folder will open themodule pre-set in the highlighted module of the Frame (amplifier) | ![]() |
| Press ‘YES’ to proceed –the selected pre-set module is loaded! | ![]() |
| Output Configuration: Now you can patch the DSP module output to the frame’s amplifier outputs For the full range TQ series speakers we want full range to pins 1. The patch is highlighted in yellow boxes with red text Once you have finished the correct output patch, press enter to close the output configuration Note: you will get access to the screen once you go through the same process to load other pre-set modules into the free B, C, and D modules or via the IO option button | ![]() |
| Now you can see the pre-set module is recalled and loaded into A/B hardware modules | ![]() |
| Only 1 channel of DSP and Amplifier are requir | ![]() |
| EQ STRATEGY | ILLUSTRATION |
| The TQ8/10/12/15 speakers have a 2 band EQ (BLEQ) inserted. The BLEQ acts as a level control for LF/HF and the 2 centre frequencies of the BLEQ relate to the crossover points of the LF/HF. The BLEQ is offered for users to adjust tonal balance of the system along with PEQ overlay and group overlays (system design dependant) | |
| Examples of BLEQ use Flat | ![]() |
| LF Cut and HF Boost | ![]() |
| HF Cut | ![]() |
| HF Boost | ![]() |
| SUBWOOFER TIME ALIGNMENT | ILLUSTRATION | OVERLAY |
| The TQ15B/TQ18B subwoofer pre-sets use all-pass filters to set the initial time alignment (assuming the fronts of the cabinets are in line) this greatly reduces system latency. For example: If the fronts of the TQ speaker and TQ15B/TQ18B subwoofer are aligned, then in both pre-sets, the delay should be set to the default, which is 0ms. However, it is not always possible to have the flown speakers and the ground stacked bass aligned in the vertical plane. 1. In this example, the TQ15B/TQ18B subs are ‘forward’ of the TQ speakers, and so the TQ15B/ TQ18B subs need to be delayed. | 1. Subs are forward
| ![]() |
| 2. In this example, the flown TQ speaker is ‘forward’ of the TQ15B/TQ18B ground stacked subs, and so the TQ needs to be delayed. How do you find the correct delay time to align the flown speakers to the ground stacked bass? Some basic knowledge of delay units can get you an acceptable result by measuring the distance between the fronts of the flown speaker and the front of the ground stacked array. Remember within Lake software you can choose the delay unit; ms, m, or feet. 1 ms (milliseconds) = 0.343 m (meters) = 1.125 ft (feet) Further fine-tuning can be done by using one of the many industry tandard measurement software systems, reference microphones and sound-cards. Lake software offers integration to many of these software systems, and further information can be found at www.labgruppen.com | ![]() | ![]() |

Dimensions


Specifications
| TQ8 | TQ10 | TQ12 | TQ15 | |
| System | ||||
| Frequency response (±3 dB) | 68Hz – 291diz | 65 Hz – 20 kHz | 58 Hz – 20 kHz | 52 Hz – 20 kHZ |
| Frequency response 00 dEt? | 50Hz – ZOkHz | 45 Hz – 20 kHz | 40 Hz – 20 kHz | 39 Ilz – 20 kHz |
| Nominal dispersion RD -6 dB points) | 80°H x 30° V | |||
| Power handing (IT()’ | 275 W continuous | 400W continuous | SOO W continuous | 550W continuous |
| Peak | 1100 W peak | 1600W peak | 2000W peak | 2200W peak |
| Sensitivity (1 W@ 1 m), | 95db | 97dB | 99dB | 99.5dB |
| Maximum SPLI | 131 dB | 135 dB | 138 dB | 139 dB |
| Impedance | 80 | |||
| Components | 1 x 8′(211 mm) LF driver | 1x 10″ (250 mm) LF driver | Ix 12′ (315 mm)LF driver | 1x I5′(380 mm) IF driver |
| 1 x 1.4″ (36 mm) /3″ (72 mm) Voke coil If compression driver | ||||
| Enclosure | ||||
| Connectors | 2 x Neunik speakON’ NM | |||
| Wiring | Fins 1+/ 1- input, pins 2+/ 2- link | |||
| Dimensions UM | 515 x 255 x 355 mm (20.3 x 10x 141 | 535 x 295 x 345mm (21 x 11.6x 13.6) | 690 x370x 380mm (21.17 x 14.57 x 14.961 | 745 x415 x 420mm (2933 x 16.34x 16541 |
| Net weight | 123 kg (273 Ibs) | 14.5 kg (32 Ibs) | 21. kg (46.7 Ibs) | 23.5 kg 151.8 lbs) |
| Construction | 12 mm and IS mml1/2* and Ve) plywood | |||
| Finish | PU Semi matt black paint | |||
| Grille | Powder coated perforated steel, cloth wrapped | |||
| Flying hardware | 1410x 12 Points | |||
| IP rating | IP44 | |||
| UV rating | 4-5 (ASTPA G155-13) | |||
| Accessories (optional) | ||||
| Swivel Bracket | TQ8-SB | TWO-58 | 11112-58 | TQ1S-58 |
| Yoke Bracket | 108-Y13 | TQ10 YB | TQ12-Y8 | TQ15-YB |
| Stand Adapter | SA-35 | |||
| Fly Bar | TQ-FB | |||
| Bag | TQ8-WPB | I TQ10-WPB | I 1T112-WPB | I TQIS-WPB |
Notes:
- Average over stated bandwidth. Measured at 1 metre on axis.
- SPL level at 1 m under free field conditions, using pink noise with crest factor 4, with dedicated pre-set.
- Peak level at 1 m under half space conditions using pink noise with crest factor 4, with dedicated pre-set.
- Passive Power handling is combined LF/HF on dedicated preset with (IEC)
- Ease Data can be downloaded from www.turbosound.com
Other important information
Important information
- Register online. Please register your new Music Tribe equipment right after you purchase it by visiting musictribe.com. Registering your purchase using our simple online form helps us to process your repair claims more quickly and efficiently. Also, read the terms and conditions of our warranty, if applicable.
- Malfunction. Should your Music Tribe Authorized Reseller not be located in your vicinity, you may contact the Music Tribe Authorized Fulfiller for your country listed under “Support” at musictribe.com. Should your country not be listed, please check if your problem can be dealt with by our “Online Support” which may also be found under “Support” at musictribe.com. Alternatively, please submit an online warranty claim at musictribe.com BEFORE returning the product.
- Power Connections. Before plugging the unit into a power socket, please make sure you are using the correct mains voltage for your particular model. Faulty fuses must be replaced with fuses of the same type and rating without exception.
Hereby, Music Tribe declares that this product is in compliance with Directive 2011/65/EU and Amendment 2015/863/EU, Directive 2012/19/EU, Regulation 519/2012 REACH SVHC and Directive 1907/2006/EC, and this passive product is not applicable to EMC Directive 2014/30/EU, LV Directive 2014/35/EU.
Full text of EU DoC is available at https://community.musictribe.com/
EU Representative: Music Tribe Brands DK A/S
Address: Gammel Strand 44, DK-1202 København K, Denmark
UK Representative: Music Tribe Brands UK Ltd.
Address: 8th Floor, 20 Farringdon Street London EC4A 4AB, United Kingdom
![]()











































