BEGA 24716 Ceiling and Wall Luminaire

Product Information
The Decken- und Wandleuchte is a ceiling and wall luminaire with high protection class (IP65). It is made of aluminum alloy and crystal glass, providing a stylish and durable lighting solution.
Safety
Installation and operation of this luminaire should be done in accordance with national safety regulations. Only qualified electricians should handle the installation and commissioning process. The manufacturer does not accept liability for damage caused by improper use or installation. Any modifications made to the luminaire should be done by a responsible person who will be considered the manufacturer.
Technical Specifications
- Lamp: LED-0993/830
- Color temperature: 3000 K
- Color rendering index (CRI): > 80
- Module luminous flux: 3975 lm
- Luminaire luminous flux: 2131 lm
- Luminaire luminous efficiency: 76.7 lm/W
- Connected wattage: 23.9 W (for a module), 27.8 W (for a luminaire)
- Rated temperature: 25°C – 40°C
- Ambient temperature: max 90°C
Overvoltage Protection
The electronic components in the luminaire have built-in overvoltage protection according to DIN EN 61547 standards. For additional protection against transients, it is recommended to use separate overvoltage protection components, which can be found on the manufacturer’s website.
Product Usage Instructions
Installation
- Fix the luminaire base using the provided or suitable fixing material onto the mounting surface.
- Tighten the screw cable glands firmly.
- Make the earth conductor connection and the electrical connection.
Desiccant Pouch
In order to ensure the maximum service life of the electrical components, place the enclosed desiccant pouch inside the luminaire. Remove the desiccant pouch from the foil packaging and place it in the position marked by the red information label just before closing the luminaire.
Dimension
Instructions for use
Application
- Unshielded ceiling and wall luminaire with high protection class.
- A luminaire made of aluminum alloy and crystal glass
Product Description
- Luminaire made of aluminum alloy, aluminum, and stainless steel
- BEGA Unidure® coating technology
- Crystal glass, white inside
- 2 mounting holes ø 4.5mm
- Distance apart 325mm 2 screw cable glands with strain relief for through-wiring power connecting cable ø 7–12mm
- 1 screw cable gland closed at the factory with a dummy plug
- Connection terminal 2.5@
- Earth conductor connection
- LED power supply unit 220-240 V x 0/50-60 Hz
- DC 176-280 V
- DC Start ≥ 190 V
- BEGA Thermal Switch®
- Temporary thermal shutdown to protect temperature-sensitive components
- Safety class I
Ballproof – The testing of ball impact safety was carried out exclusively with handballs in accordance with DIN 18032-3: 2018-11.- Protection class IP 65
- Dust-tight and protection against water jets Impact strength IK10
- Protection against mechanical impacts < 20 joule
Safety mark- c – Conformity mark
- Weight: 2.8 kg
- This product contains light sources of energy efficiency class(es) C, D
Safety
- The installation and operation of this luminaire are subject to national safety regulations.
- Installation and commissioning may only be carried out by a qualified electrician.
- The manufacturer accepts no liability for damage caused by improper use or installation.
- If subsequent modifications are made to the luminaire, the person responsible for these modifications shall be considered the manufacturer.
Lamp
- Module connected wattage 23.9 W
- Luminaire connected wattage 27.8 W
- Rated temperature ta=25 °C
- Ambient temperature ta max=40 °C
24 716K3
- Module designation LED-0993/830
- Color temperature 3000 K
- Color rendering index CRI >80
- Module luminous flux 3975 lm
- Luminaire luminous flux 2131 lm
- Luminaire luminous efficiency 76,7 lm/W
4 716K4
- Module designation LED-0993/840
- Color temperature 4000 K
- Color rendering index CRI >80
- Module luminous flux 4180 lm
- Luminaire luminous flux 2241 lm
- Luminaire luminous efficiency 80,6 lm/W
Overvoltage protection
- The electronic components installed in the luminaire are protected against overvoltage in accordance with DIN EN 61547.
- To achieve additional protection against e.g. transients, etc. we recommend separate overvoltage protection components.
- You can find them on our website at www.bega.com.
Installation
- Undo hexagon socket head screws (wrench size 3 mm) through the opening in the luminaire housing up to the stop and lift luminaire top.
- Disconnect the earth conductor connection from the plug connection.
- Disconnect the plug-connection of the LED connecting cable.
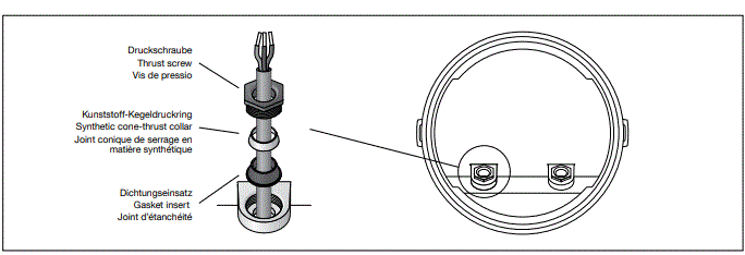
- Lead the mains supply cable through the screw cable gland into the luminaire back housing.
- The installed black gasket insert is intended for cables ø < 10mm.
- For cables ø 10-12mm the enclosed grey gasket insert must be used.
- In case of through-wiring replace the factory-installed dummy plug with the enclosed corresponding gasket insert.
- At the same time, use the enclosed synthetic cone-thrust collar between the gasket insert and thrust screw (wrench size 22 mm) (see sketch)

- Fix the luminaire base with enclosed or any other suitable fixing material onto the mounting surface.
- Tighten screw cable glands firmly.
- Make the earth conductor connection and the electrical connection.
- In order to guarantee the maximum service life of the electrical components, the enclosed desiccant pouch must be placed in the luminaire.
- Remove the desiccant pouch from the foil packaging and place it in the position marked by the red information label immediately before finally closing the luminaire.
- Connect the green and yellow protective earth conductor from the luminaire top to the terminal marked 1 in the luminaire base.
- Connect the LED connection cable by means of a plug connector.

- In order to ensure the tightness of the luminaire, the grub screws for fixing the luminaire’s upper part must not lie in the marked area.
- Make sure that gasket is positioned correctly.
- Tighten grub screws evenly
Cleaning · Maintenance
- Clean the luminaire regularly with solvent-free cleansers from dirt and deposits.
- Do not use high pressure cleaners.
Replacing the LED module
- The designation of the LED module is noted on the label in the luminaire.
- The light color and light output of BEGA replacement modules correspond to those of the modules originally fitted.
- The module can be replaced by qualified persons using standard tools.
- Disconnect the system and open the luminaire.
- Please follow the installation instructions for the
- LED module.
- Inspect and, if necessary, replace the luminaire gaskets.
- The defective glass must be replaced.
- Close the luminaire.
Spares
- Spare glass 11 003 519
- LED power supply unit DEV-0343/700
- LED module 3000 K LED-0993/830
- LED module 4000 K LED-0993/840
- Gasket glass 83 001 927
- Gasket housing 83 002 166B1
- BEGA Gantenbrink-Leuchten KG
- Postfach 3160
- 58689 Menden
- [email protected]
- www.bega.com
















